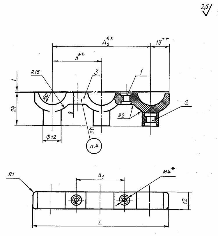
ост 1 10025-80 колодки зажимные нижние трехручьевые торцовые.
Настоящий стандарт распространяется на зажимные нижные трехручьевые торцовые колодки для крепления трех силовых электропроводов. Взамен ОСТ 1 10025-71
КОНСТРУКЦИЯ И ТЕХНИЧЕСКИЕ ОСОБЕННОСТИ
Конструкция состоит состоит из пресс-материала АГ-4В, ДСВ-2-О и впаяных втулок.
Материал изготовления: Пресс-материал АГ-4-В ГОСТ 20437-89. Заменитель ДСВ-2-Р-2М марки 0 ГОСТ 17478-72.
Материал покрытия: технические характеристики - по ОСТ 1 00508-80.
Пример наименования и обозначения зажимной нижней трехручьевой торцовой колодки типоразмера 1:
Колодка 1 - ОСТ 1 10025-80
ПРИМЕНЕНИЕ
Данные клеммные колодки применяются во многих отраслях промышленности. Они предназначены для подсоединения электрических проводов.
АНАЛОГИ
Взамен ОСТ 1 10025-71
| ОСТ/ГОСТ | Нормаль | Наименование | Типоразмер | На складе |
| ОСТ 1 10025-80 | Колодка | 1 | В наличии | |
| ОСТ 1 10025-80 | Колодка | 2 | В наличии |
Для изготовителей и поставщиков: Добавить мои товары в базу
Для покупателей: Подать заявку на покупку
| Наименование | Типоразмер | Материал | Количество, шт | Вес, кг |
| Колодка ОСТ 1 10025-80 |
ОСТ 1 30055-84 Накатка кольцевая стержней болт-заклепок из титанового сплава
ОСТ 1 31076-80 Маркировка крепежных изделий взамен НОРМАЛЬ 176АТ
ОСТ 1 31076-80: Маркировка крепежных изделий (взамен НОРМАЛЬ 176АТ)
ОСТ 1 39502-77 Стопорение болтов, винтов, шпилек, штифтов и гаек
ОСТ 1 39503-77 Длины болтов и винтов
ОСТ 1 39504-79 Головки шестигранные болтов и винтов
ОСТ 1 51730-79 Оснастка для формообразования концов труб тяг управления из сплава Д16Т
ОСТ 1 51731-79 Оснастка для формообразования концов труб тяг управления из сплава Д16Т
ОСТ 1.41001-79 Диаметры отверстий под нарезание резьбы метрической по нормали 754АТ
ОСТ 1.41002-79 Диаметры стержней под нарезание резьбы метрической по нормали 754АТ и ОСТ 1.00039-73
ОСТ 92-0762-72 Болты, винты из титановых сплавов
ОСТ 92-1130-85 Детали стальные точные
ОСТ 92-1179-77 Детали и сборочные единицы из сталей марок 07Х16Н6 и 08Х17Н5М3
ОСТ 92-8653-75 по ОСТ 92-8674-75 Соединения трубопроводов по внутреннему конусу
ОСТ-1-33102-80 Взамен нормали 102АТУ Гайки ОСТ-1-33102-80
Отраслевая нормаль 214АТ В замен нормали 214МТ55 метрическая резьбой со свободной посадкой
Отраслевая нормаль 714М55 pdf Кольца плоские ,стопорные технические условия
Отраслевая нормаль авиационной техники 101АТУ Взамен 201СТУ51
2026 «Быстрометиз». Мы не интернет-магазин. Информация о наличии и стоимости продукции не является публичной офертой.
Задайте вопрос нашим специалистам