ОСТ 1 11549-74 Хомуты колодочные парные подвесные

ОСТ 1 11549-74 ХОМУТЫ КОЛОДОЧНЫЕ парные подвесные

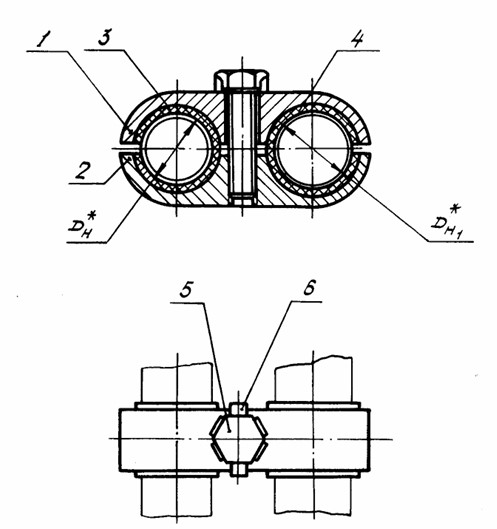
     Настоящий стандарт распространяется на парные подвесные колодочные хомуты для одновременного крепления двух трубопроводов с наружными диаметрами от 4 до 36 мм и экранирующих шлангов, работающих при температуре не более 250 гр. Взамен нормали 3753А.

КОНСТРУКЦИЯ И ТЕХНИЧЕСКИЕ ОСОБЕННОСТИ

     Конструкция хомута состоит из колодок парных (ОСТ 1 11554-74.pdf, ОСТ 1 11555-74.pdf), прокладок (ОСТ 1 13281-78.pdf) винта (ОСТ 1 31502-80.pdf), шайбы (ОСТ 1 11558-74.pdf) в сборе.

     Материал изготовления: в сборе.

     Материал покрытия: в сборе.

ОСТ 1 11549-74.pdf

Пример наименования и обозначения хомута колодочного парного для трубопроводов с наружными диаметрами dн=4мм и dn1=6мм:

Хомут 4-6-ОСТ 1 11549-74

Хомут
Наименование метиза
4
Наружный диаметр
6
Наружный диаметр
ОСТ 1 11549-74
Нормативно-технический документ

ПРИМЕНЕНИЕ

     Данные хомуты используются во многих отраслях промышленности.

АНАЛОГИ

Нормаль 3753А.

ОСТ/ГОСТНормальНаименованиеТипоразмерНа складе
ОСТ 1 11549-743753АХомут4В наличии
ОСТ 1 11549-743753АХомут6В наличии
ОСТ 1 11549-743753АХомут8В наличии
ОСТ 1 11549-743753АХомут10В наличии
ОСТ 1 11549-743753АХомут12В наличии
ОСТ 1 11549-743753АХомут14В наличии
ОСТ 1 11549-743753АХомут16В наличии
ОСТ 1 11549-743753АХомут18В наличии
ОСТ 1 11549-743753АХомут20В наличии
ОСТ 1 11549-743753АХомут22В наличии
ОСТ 1 11549-743753АХомут25В наличии
ОСТ 1 11549-743753АХомут28В наличии
ОСТ 1 11549-743753АХомут32В наличии
ОСТ 1 11549-743753АХомут36В наличии

Для изготовителей и поставщиков: Добавить мои товары в базу

Для покупателей: Подать заявку на покупку

НаименованиеТипоразмерМатериалКоличество, штВес, кг
Хомут ОСТ 1 11549-74 3753А
О

ОСТ 1 30055-84 Накатка кольцевая стержней болт-заклепок из титанового сплава

ОСТ 1 31076-80 Маркировка крепежных изделий взамен НОРМАЛЬ 176АТ

ОСТ 1 31076-80: Маркировка крепежных изделий (взамен НОРМАЛЬ 176АТ)

ОСТ 1 38016-80 Футорки

ОСТ 1 38020-82 Втулки

ОСТ 1 39502-77 Стопорение болтов, винтов, шпилек, штифтов и гаек

ОСТ 1 39503-77 Длины болтов и винтов

ОСТ 1 39504-79 Головки шестигранные болтов и винтов

ОСТ 1 41471-79 Формообразование концов труб тяг управления из сплава Д16Т. Типовой технологический процесс

ОСТ 1 51730-79 Оснастка для формообразования концов труб тяг управления из сплава Д16Т

ОСТ 1 51731-79 Оснастка для формообразования концов труб тяг управления из сплава Д16Т

ОСТ 1.41001-79 Диаметры отверстий под нарезание резьбы метрической по нормали 754АТ

ОСТ 1.41002-79 Диаметры стержней под нарезание резьбы метрической по нормали 754АТ и ОСТ 1.00039-73

ОСТ 92-0762-72 Болты, винты из титановых сплавов

ОСТ 92-0912-69 Детали из высокопрочных углеродистых легированных и высоколегированных сталей. ОСТ 92-0912-69

ОСТ 92-1130-85 Детали стальные точные

ОСТ 92-1179-77 Детали и сборочные единицы из сталей марок 07Х16Н6 и 08Х17Н5М3

ОСТ 92-8653-75 по ОСТ 92-8674-75 Соединения трубопроводов по внутреннему конусу

ОСТ-1-33102-80 Взамен нормали 102АТУ Гайки ОСТ-1-33102-80

Отраслевая нормаль 214АТ В замен нормали 214МТ55 метрическая резьбой со свободной посадкой

Отраслевая нормаль 714М55 pdf Кольца плоские ,стопорные технические условия

Отраслевая нормаль авиационной техники 101АТУ Взамен 201СТУ51

Отраслевая нормаль авиационной техники. Нормаль 722АТ.

Р

РЕЗЬБА МЕТРИЧЕСКАЯ

Резьба метрическая усиленная тугой посадкой сталь в алюминиевые и магниевые сплавы. Нормаль 254АТ взамен нормальный 154МТ46

Резьба метрическая. Основные размеры и допуски. Отраслевая нормаль 257АТ взамен 57АТ50 взамен 153МТ54.

РЕЗЬБА ТРАПЕЦЕИДАЛЬНАЯ

РЕЗЬБА ТРУБНАЯ ЦИЛИНДРИЧЕСКАЯ

РЕЗЬБА УПОРНАЯ

Резьба усиленная метрическая тугой посадкой сталь сталь система вала настоящая норма распространяется на резьбу усиленную метрическую тугой посадкой для сопрягаемых материалов сталь в сталь. Нормаль 122МТ53 взамен нормали 122МТ51

Резьба усиленная метрическая тугой посадкой сталь сталь система вала настоящая норма распространяется на резьбу усиленную метрическую тугой посадкой для сопрягаемых материалов сталь в сталь. Нормаль 122МТ53 взамен нормали 122МТ51

Резьбовые соединения. Резьба метрическая с натягом по посадкам 2Н5Д и 2Н5С Отраслевой стандарт ОСТ 1 04065–92

Оформите заказ или получите консультацию