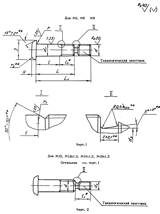
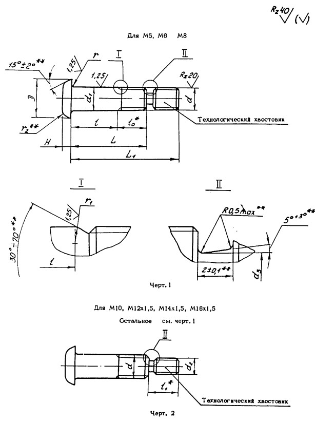
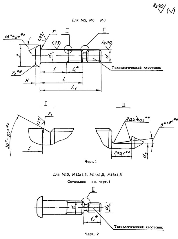
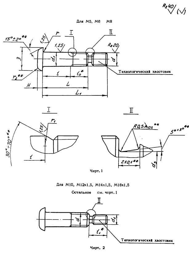
ОСТ 1 31042-79 БОЛТЫ С ПЛОСКО-СКРУГЛЕННОЙ ГОЛОВКОЙ С ТЕХНОЛОГИЧЕСКИМ ХВОСТОВИКОМ
Болты ОСТ 1 31042-79 - это специальный крепеж, так как имеет технологический хвостовик.
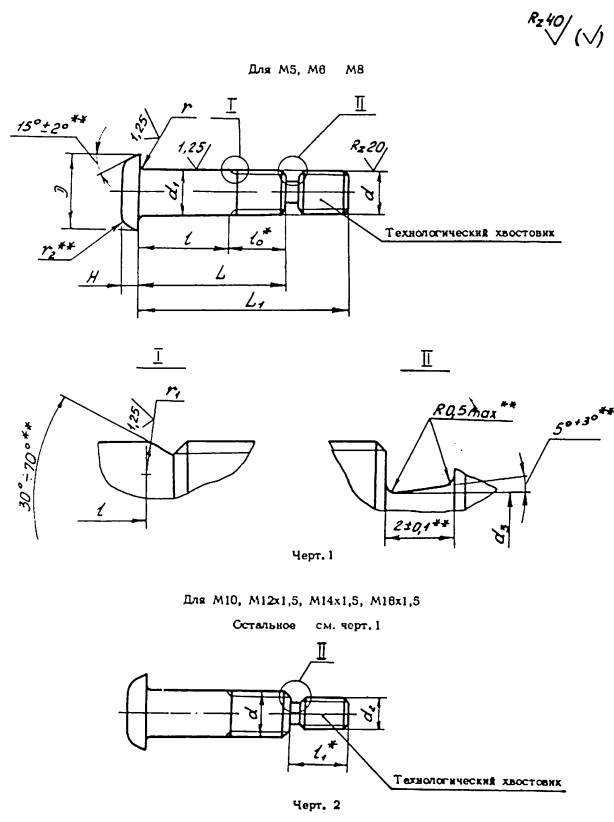
КОНСТРУКЦИЯ И ТЕХНИЧЕСКИЕ ОСОБЕННОСТИ
Конструкция болта состоит из плоско-скругленной головки и цилиндрического стержня с технологическим хвостовиком.
Материал изготовления должен быть из стали марки 30ХГСА.
Материал покрытия: Кд 3 хр., Ц3.хр.
Пример наименования и обозначения болта с плоско-скругленной головкой с технологическим хвостовиком с резьбой М6 и длиной L=24мм, кадмированного:
Болт 6-24-Кд-ОСТ 1 31042-79
Пример наименования и обозначения болта с плоско-скругленной головкой с технологическим хвостовиком с резьбой М6 и длиной L=24мм, цинкованного:
Болт 6-24-Ц-ОСТ 1 31042-79
ПРИМЕНЕНИЕ
Данные болты применяются во многих отраслях промышленности. Предназначены для соединения натягом пакетов из алюминиевых сплавов в тех случаях, когда исключена возможность сборки конструкций болт-заклепками или обычными болтами.
АНАЛОГИ
| ОСТ/ГОСТ | Нормаль | Наименование | Типоразмер | На складе |
| ОСТ 1 31042-79 | Болт | M5x20 | В наличии | |
| ОСТ 1 31042-79 | Болт | M5x21 | В наличии | |
| ОСТ 1 31042-79 | Болт | M5x22 | В наличии | |
| ОСТ 1 31042-79 | Болт | M5x23 | В наличии | |
| ОСТ 1 31042-79 | Болт | M5x24 | В наличии | |
| ОСТ 1 31042-79 | Болт | M5x25 | В наличии | |
| ОСТ 1 31042-79 | Болт | M5x26 | В наличии | |
| ОСТ 1 31042-79 | Болт | M5x27 | В наличии | |
| ОСТ 1 31042-79 | Болт | M5x28 | В наличии | |
| ОСТ 1 31042-79 | Болт | M5x29 | В наличии | |
| ОСТ 1 31042-79 | Болт | M5x30 | В наличии | |
| ОСТ 1 31042-79 | Болт | M5x31 | В наличии | |
| ОСТ 1 31042-79 | Болт | M5x32 | В наличии | |
| ОСТ 1 31042-79 | Болт | M5x33 | В наличии | |
| ОСТ 1 31042-79 | Болт | M5x34 | В наличии | |
| ОСТ 1 31042-79 | Болт | M5x35 | В наличии | |
| ОСТ 1 31042-79 | Болт с хвостовиком | М5x20 | В наличии | |
| ОСТ 1 31042-79 | Болт с хвостовиком | М5x21 | В наличии | |
| ОСТ 1 31042-79 | Болт с хвостовиком | М5x22 | В наличии | |
| ОСТ 1 31042-79 | Болт с хвостовиком | М5x23 | В наличии | |
| ОСТ 1 31042-79 | Болт с хвостовиком | М5x24 | В наличии | |
| ОСТ 1 31042-79 | Болт с хвостовиком | М5x25 | В наличии | |
| ОСТ 1 31042-79 | Болт с хвостовиком | М5x26 | В наличии | |
| ОСТ 1 31042-79 | Болт с хвостовиком | М5x27 | В наличии | |
| ОСТ 1 31042-79 | Болт с хвостовиком | М5x28 | В наличии | |
| ОСТ 1 31042-79 | Болт с хвостовиком | М5x29 | В наличии | |
| ОСТ 1 31042-79 | Болт с хвостовиком | М5x30 | В наличии | |
| ОСТ 1 31042-79 | Болт с хвостовиком | М5x31 | В наличии | |
| ОСТ 1 31042-79 | Болт с хвостовиком | М5x32 | В наличии | |
| ОСТ 1 31042-79 | Болт с хвостовиком | М5x33 | В наличии | |
| ОСТ 1 31042-79 | Болт с хвостовиком | М5x34 | В наличии | |
| ОСТ 1 31042-79 | Болт с хвостовиком | М5x35 | В наличии | |
| ОСТ 1 31042-79 | Болт | М6х24 | В наличии | |
| ОСТ 1 31042-79 | Болт | М6х25 | В наличии | |
| ОСТ 1 31042-79 | Болт | М6х26 | В наличии | |
| ОСТ 1 31042-79 | Болт | М6х27 | В наличии | |
| ОСТ 1 31042-79 | Болт | М6х28 | В наличии | |
| ОСТ 1 31042-79 | Болт | М6х29 | В наличии | |
| ОСТ 1 31042-79 | Болт | М6х30 | В наличии | |
| ОСТ 1 31042-79 | Болт | М6х31 | В наличии | |
| ОСТ 1 31042-79 | Болт | М6х32 | В наличии | |
| ОСТ 1 31042-79 | Болт | М6х33 | В наличии | |
| ОСТ 1 31042-79 | Болт | М6х34 | В наличии | |
| ОСТ 1 31042-79 | Болт | М6х35 | В наличии | |
| ОСТ 1 31042-79 | Болт | М6х36 | В наличии | |
| ОСТ 1 31042-79 | Болт | М6х37 | В наличии | |
| ОСТ 1 31042-79 | Болт | М6х38 | В наличии | |
| ОСТ 1 31042-79 | Болт | М6х39 | В наличии | |
| ОСТ 1 31042-79 | Болт | М6х40 | В наличии | |
| ОСТ 1 31042-79 | Болт | М6х41 | В наличии | |
| ОСТ 1 31042-79 | Болт | М6х42 | В наличии | |
| ОСТ 1 31042-79 | Болт с хвостовиком | М6х24 | В наличии | |
| ОСТ 1 31042-79 | Болт с хвостовиком | М6х25 | В наличии | |
| ОСТ 1 31042-79 | Болт с хвостовиком | М6х26 | В наличии | |
| ОСТ 1 31042-79 | Болт с хвостовиком | М6х27 | В наличии | |
| ОСТ 1 31042-79 | Болт с хвостовиком | М6х28 | В наличии | |
| ОСТ 1 31042-79 | Болт с хвостовиком | М6х29 | В наличии | |
| ОСТ 1 31042-79 | Болт с хвостовиком | М6х30 | В наличии | |
| ОСТ 1 31042-79 | Болт с хвостовиком | М6х31 | В наличии | |
| ОСТ 1 31042-79 | Болт с хвостовиком | М6х32 | В наличии | |
| ОСТ 1 31042-79 | Болт с хвостовиком | М6х33 | В наличии | |
| ОСТ 1 31042-79 | Болт с хвостовиком | М6х34 | В наличии | |
| ОСТ 1 31042-79 | Болт с хвостовиком | М6х35 | В наличии | |
| ОСТ 1 31042-79 | Болт с хвостовиком | М6х36 | В наличии | |
| ОСТ 1 31042-79 | Болт с хвостовиком | М6х37 | В наличии | |
| ОСТ 1 31042-79 | Болт с хвостовиком | М6х38 | В наличии | |
| ОСТ 1 31042-79 | Болт с хвостовиком | М6х39 | В наличии | |
| ОСТ 1 31042-79 | Болт с хвостовиком | М6х40 | В наличии | |
| ОСТ 1 31042-79 | Болт с хвостовиком | М6х41 | В наличии | |
| ОСТ 1 31042-79 | Болт с хвостовиком | М6х42 | В наличии | |
| ОСТ 1 31042-79 | Болт | М8х30 | В наличии | |
| ОСТ 1 31042-79 | Болт | М8х31 | В наличии | |
| ОСТ 1 31042-79 | Болт | М8х32 | В наличии | |
| ОСТ 1 31042-79 | Болт | М8х33 | В наличии | |
| ОСТ 1 31042-79 | Болт | М8х34 | В наличии | |
| ОСТ 1 31042-79 | Болт | М8х35 | В наличии | |
| ОСТ 1 31042-79 | Болт | М8х36 | В наличии | |
| ОСТ 1 31042-79 | Болт | М8х37 | В наличии | |
| ОСТ 1 31042-79 | Болт | М8х38 | В наличии | |
| ОСТ 1 31042-79 | Болт | М8х39 | В наличии | |
| ОСТ 1 31042-79 | Болт | М8х40 | В наличии | |
| ОСТ 1 31042-79 | Болт | М8х41 | В наличии | |
| ОСТ 1 31042-79 | Болт | М8х42 | В наличии | |
| ОСТ 1 31042-79 | Болт | М8х43 | В наличии | |
| ОСТ 1 31042-79 | Болт | М8х44 | В наличии | |
| ОСТ 1 31042-79 | Болт | М8х45 | В наличии | |
| ОСТ 1 31042-79 | Болт | М8х46 | В наличии | |
| ОСТ 1 31042-79 | Болт | М8х47 | В наличии | |
| ОСТ 1 31042-79 | Болт | М8х48 | В наличии | |
| ОСТ 1 31042-79 | Болт | М8х49 | В наличии | |
| ОСТ 1 31042-79 | Болт | М8х50 | В наличии | |
| ОСТ 1 31042-79 | Болт | М8х51 | В наличии | |
| ОСТ 1 31042-79 | Болт | М8х52 | В наличии | |
| ОСТ 1 31042-79 | Болт | М8х53 | В наличии | |
| ОСТ 1 31042-79 | Болт | М8х54 | В наличии | |
| ОСТ 1 31042-79 | Болт с хвостовиком | М8х30 | В наличии | |
| ОСТ 1 31042-79 | Болт с хвостовиком | М8х31 | В наличии | |
| ОСТ 1 31042-79 | Болт с хвостовиком | М8х32 | В наличии | |
| ОСТ 1 31042-79 | Болт с хвостовиком | М8х33 | В наличии | |
| ОСТ 1 31042-79 | Болт с хвостовиком | М8х34 | В наличии | |
| ОСТ 1 31042-79 | Болт с хвостовиком | М8х35 | В наличии | |
| ОСТ 1 31042-79 | Болт с хвостовиком | М8х36 | В наличии | |
| ОСТ 1 31042-79 | Болт с хвостовиком | М8х37 | В наличии | |
| ОСТ 1 31042-79 | Болт с хвостовиком | М8х38 | В наличии | |
| ОСТ 1 31042-79 | Болт с хвостовиком | М8х39 | В наличии | |
| ОСТ 1 31042-79 | Болт с хвостовиком | М8х40 | В наличии | |
| ОСТ 1 31042-79 | Болт с хвостовиком | М8х41 | В наличии | |
| ОСТ 1 31042-79 | Болт с хвостовиком | М8х42 | В наличии | |
| ОСТ 1 31042-79 | Болт с хвостовиком | М8х43 | В наличии | |
| ОСТ 1 31042-79 | Болт с хвостовиком | М8х44 | В наличии | |
| ОСТ 1 31042-79 | Болт с хвостовиком | М8х45 | В наличии | |
| ОСТ 1 31042-79 | Болт с хвостовиком | М8х46 | В наличии | |
| ОСТ 1 31042-79 | Болт с хвостовиком | М8х47 | В наличии | |
| ОСТ 1 31042-79 | Болт с хвостовиком | М8х48 | В наличии | |
| ОСТ 1 31042-79 | Болт с хвостовиком | М8х49 | В наличии | |
| ОСТ 1 31042-79 | Болт с хвостовиком | М8х50 | В наличии | |
| ОСТ 1 31042-79 | Болт с хвостовиком | М8х51 | В наличии | |
| ОСТ 1 31042-79 | Болт с хвостовиком | М8х52 | В наличии | |
| ОСТ 1 31042-79 | Болт с хвостовиком | М8х53 | В наличии | |
| ОСТ 1 31042-79 | Болт с хвостовиком | М8х54 | В наличии | |
| ОСТ 1 31042-79 | Болт | М10х38 | В наличии | |
| ОСТ 1 31042-79 | Болт | М10х39 | В наличии | |
| ОСТ 1 31042-79 | Болт | М10х40 | В наличии | |
| ОСТ 1 31042-79 | Болт | М10х41 | В наличии | |
| ОСТ 1 31042-79 | Болт | М10х42 | В наличии | |
| ОСТ 1 31042-79 | Болт | М10х43 | В наличии | |
| ОСТ 1 31042-79 | Болт | М10х44 | В наличии | |
| ОСТ 1 31042-79 | Болт | М10х45 | В наличии | |
| ОСТ 1 31042-79 | Болт | М10х46 | В наличии | |
| ОСТ 1 31042-79 | Болт | М10х47 | В наличии | |
| ОСТ 1 31042-79 | Болт | М10х48 | В наличии | |
| ОСТ 1 31042-79 | Болт | М10х49 | В наличии | |
| ОСТ 1 31042-79 | Болт | М10х50 | В наличии | |
| ОСТ 1 31042-79 | Болт | М10х51 | В наличии | |
| ОСТ 1 31042-79 | Болт | М10х52 | В наличии | |
| ОСТ 1 31042-79 | Болт | М10х53 | В наличии | |
| ОСТ 1 31042-79 | Болт | М10х54 | В наличии | |
| ОСТ 1 31042-79 | Болт | М10х55 | В наличии | |
| ОСТ 1 31042-79 | Болт | М10х56 | В наличии | |
| ОСТ 1 31042-79 | Болт | М10х57 | В наличии | |
| ОСТ 1 31042-79 | Болт | М10х58 | В наличии | |
| ОСТ 1 31042-79 | Болт | М10х59 | В наличии | |
| ОСТ 1 31042-79 | Болт | М10х60 | В наличии | |
| ОСТ 1 31042-79 | Болт | М10х61 | В наличии | |
| ОСТ 1 31042-79 | Болт | М10х62 | В наличии | |
| ОСТ 1 31042-79 | Болт | М10х63 | В наличии | |
| ОСТ 1 31042-79 | Болт | М10х64 | В наличии | |
| ОСТ 1 31042-79 | Болт | М10х65 | В наличии | |
| ОСТ 1 31042-79 | Болт | М10х66 | В наличии | |
| ОСТ 1 31042-79 | Болт | М10х67 | В наличии | |
| ОСТ 1 31042-79 | Болт | М10х68 | В наличии | |
| ОСТ 1 31042-79 | Болт с хвостовиком | М10х38 | В наличии | |
| ОСТ 1 31042-79 | Болт с хвостовиком | М10х39 | В наличии | |
| ОСТ 1 31042-79 | Болт с хвостовиком | М10х40 | В наличии | |
| ОСТ 1 31042-79 | Болт с хвостовиком | М10х41 | В наличии | |
| ОСТ 1 31042-79 | Болт с хвостовиком | М10х42 | В наличии | |
| ОСТ 1 31042-79 | Болт с хвостовиком | М10х43 | В наличии | |
| ОСТ 1 31042-79 | Болт с хвостовиком | М10х44 | В наличии | |
| ОСТ 1 31042-79 | Болт с хвостовиком | М10х45 | В наличии | |
| ОСТ 1 31042-79 | Болт с хвостовиком | М10х46 | В наличии | |
| ОСТ 1 31042-79 | Болт с хвостовиком | М10х47 | В наличии | |
| ОСТ 1 31042-79 | Болт с хвостовиком | М10х48 | В наличии | |
| ОСТ 1 31042-79 | Болт с хвостовиком | М10х49 | В наличии | |
| ОСТ 1 31042-79 | Болт с хвостовиком | М10х50 | В наличии | |
| ОСТ 1 31042-79 | Болт с хвостовиком | М10х51 | В наличии | |
| ОСТ 1 31042-79 | Болт с хвостовиком | М10х52 | В наличии | |
| ОСТ 1 31042-79 | Болт с хвостовиком | М10х53 | В наличии | |
| ОСТ 1 31042-79 | Болт с хвостовиком | М10х54 | В наличии | |
| ОСТ 1 31042-79 | Болт с хвостовиком | М10х55 | В наличии | |
| ОСТ 1 31042-79 | Болт с хвостовиком | М10х56 | В наличии | |
| ОСТ 1 31042-79 | Болт с хвостовиком | М10х57 | В наличии | |
| ОСТ 1 31042-79 | Болт с хвостовиком | М10х58 | В наличии | |
| ОСТ 1 31042-79 | Болт с хвостовиком | М10х59 | В наличии | |
| ОСТ 1 31042-79 | Болт с хвостовиком | М10х60 | В наличии | |
| ОСТ 1 31042-79 | Болт с хвостовиком | М10х61 | В наличии | |
| ОСТ 1 31042-79 | Болт с хвостовиком | М10х62 | В наличии | |
| ОСТ 1 31042-79 | Болт с хвостовиком | М10х63 | В наличии | |
| ОСТ 1 31042-79 | Болт с хвостовиком | М10х64 | В наличии | |
| ОСТ 1 31042-79 | Болт с хвостовиком | М10х65 | В наличии | |
| ОСТ 1 31042-79 | Болт с хвостовиком | М10х66 | В наличии | |
| ОСТ 1 31042-79 | Болт с хвостовиком | М10х67 | В наличии | |
| ОСТ 1 31042-79 | Болт с хвостовиком | М10х68 | В наличии | |
| ОСТ 1 31042-79 | Болт | М12х1,5х44 | В наличии | |
| ОСТ 1 31042-79 | Болт | М12х1,5х45 | В наличии | |
| ОСТ 1 31042-79 | Болт | М12х1,5х46 | В наличии | |
| ОСТ 1 31042-79 | Болт | М12х1,5х47 | В наличии | |
| ОСТ 1 31042-79 | Болт | М12х1,5х48 | В наличии | |
| ОСТ 1 31042-79 | Болт | М12х1,5х49 | В наличии | |
| ОСТ 1 31042-79 | Болт | М12х1,5х50 | В наличии | |
| ОСТ 1 31042-79 | Болт | М12х1,5х51 | В наличии | |
| ОСТ 1 31042-79 | Болт | М12х1,5х52 | В наличии | |
| ОСТ 1 31042-79 | Болт | М12х1,5х53 | В наличии | |
| ОСТ 1 31042-79 | Болт | М12х1,5х54 | В наличии | |
| ОСТ 1 31042-79 | Болт | М12х1,5х55 | В наличии | |
| ОСТ 1 31042-79 | Болт | М12х1,5х56 | В наличии | |
| ОСТ 1 31042-79 | Болт | М12х1,5х57 | В наличии | |
| ОСТ 1 31042-79 | Болт | М12х1,5х58 | В наличии | |
| ОСТ 1 31042-79 | Болт | М12х1,5х59 | В наличии | |
| ОСТ 1 31042-79 | Болт | М12х1,5х60 | В наличии | |
| ОСТ 1 31042-79 | Болт | М12х1,5х61 | В наличии | |
| ОСТ 1 31042-79 | Болт | М12х1,5х62 | В наличии | |
| ОСТ 1 31042-79 | Болт | М12х1,5х63 | В наличии | |
| ОСТ 1 31042-79 | Болт | М12х1,5х64 | В наличии | |
| ОСТ 1 31042-79 | Болт | М12х1,5х65 | В наличии | |
| ОСТ 1 31042-79 | Болт | М12х1,5х66 | В наличии | |
| ОСТ 1 31042-79 | Болт | М12х1,5х67 | В наличии | |
| ОСТ 1 31042-79 | Болт | М12х1,5х68 | В наличии | |
| ОСТ 1 31042-79 | Болт | М12х1,5х69 | В наличии | |
| ОСТ 1 31042-79 | Болт | М12х1,5х70 | В наличии | |
| ОСТ 1 31042-79 | Болт | М12х1,5х71 | В наличии | |
| ОСТ 1 31042-79 | Болт | М12х1,5х72 | В наличии | |
| ОСТ 1 31042-79 | Болт | М12х1,5х73 | В наличии | |
| ОСТ 1 31042-79 | Болт | М12х1,5х74 | В наличии | |
| ОСТ 1 31042-79 | Болт | М12х1,5х75 | В наличии | |
| ОСТ 1 31042-79 | Болт | М12х1,5х76 | В наличии | |
| ОСТ 1 31042-79 | Болт | М12х1,5х77 | В наличии | |
| ОСТ 1 31042-79 | Болт | М12х1,5х78 | В наличии | |
| ОСТ 1 31042-79 | Болт | М12х1,5х79 | В наличии | |
| ОСТ 1 31042-79 | Болт | М12х1,5х80 | В наличии | |
| ОСТ 1 31042-79 | Болт с хвостовиком | М12х1,5х44 | В наличии | |
| ОСТ 1 31042-79 | Болт с хвостовиком | М12х1,5х45 | В наличии | |
| ОСТ 1 31042-79 | Болт с хвостовиком | М12х1,5х46 | В наличии | |
| ОСТ 1 31042-79 | Болт с хвостовиком | М12х1,5х47 | В наличии | |
| ОСТ 1 31042-79 | Болт с хвостовиком | М12х1,5х48 | В наличии | |
| ОСТ 1 31042-79 | Болт с хвостовиком | М12х1,5х49 | В наличии | |
| ОСТ 1 31042-79 | Болт с хвостовиком | М12х1,5х50 | В наличии | |
| ОСТ 1 31042-79 | Болт с хвостовиком | М12х1,5х51 | В наличии | |
| ОСТ 1 31042-79 | Болт с хвостовиком | М12х1,5х52 | В наличии | |
| ОСТ 1 31042-79 | Болт с хвостовиком | М12х1,5х53 | В наличии | |
| ОСТ 1 31042-79 | Болт с хвостовиком | М12х1,5х54 | В наличии | |
| ОСТ 1 31042-79 | Болт с хвостовиком | М12х1,5х55 | В наличии | |
| ОСТ 1 31042-79 | Болт с хвостовиком | М12х1,5х56 | В наличии | |
| ОСТ 1 31042-79 | Болт с хвостовиком | М12х1,5х57 | В наличии | |
| ОСТ 1 31042-79 | Болт с хвостовиком | М12х1,5х58 | В наличии | |
| ОСТ 1 31042-79 | Болт с хвостовиком | М12х1,5х59 | В наличии | |
| ОСТ 1 31042-79 | Болт с хвостовиком | М12х1,5х60 | В наличии | |
| ОСТ 1 31042-79 | Болт с хвостовиком | М12х1,5х61 | В наличии | |
| ОСТ 1 31042-79 | Болт с хвостовиком | М12х1,5х62 | В наличии | |
| ОСТ 1 31042-79 | Болт с хвостовиком | М12х1,5х63 | В наличии | |
| ОСТ 1 31042-79 | Болт с хвостовиком | М12х1,5х64 | В наличии | |
| ОСТ 1 31042-79 | Болт с хвостовиком | М12х1,5х65 | В наличии | |
| ОСТ 1 31042-79 | Болт с хвостовиком | М12х1,5х66 | В наличии | |
| ОСТ 1 31042-79 | Болт с хвостовиком | М12х1,5х67 | В наличии | |
| ОСТ 1 31042-79 | Болт с хвостовиком | М12х1,5х68 | В наличии | |
| ОСТ 1 31042-79 | Болт с хвостовиком | М12х1,5х69 | В наличии | |
| ОСТ 1 31042-79 | Болт с хвостовиком | М12х1,5х70 | В наличии | |
| ОСТ 1 31042-79 | Болт с хвостовиком | М12х1,5х71 | В наличии | |
| ОСТ 1 31042-79 | Болт с хвостовиком | М12х1,5х72 | В наличии | |
| ОСТ 1 31042-79 | Болт с хвостовиком | М12х1,5х73 | В наличии | |
| ОСТ 1 31042-79 | Болт с хвостовиком | М12х1,5х74 | В наличии | |
| ОСТ 1 31042-79 | Болт с хвостовиком | М12х1,5х75 | В наличии | |
| ОСТ 1 31042-79 | Болт с хвостовиком | М12х1,5х76 | В наличии | |
| ОСТ 1 31042-79 | Болт с хвостовиком | М12х1,5х77 | В наличии | |
| ОСТ 1 31042-79 | Болт с хвостовиком | М12х1,5х78 | В наличии | |
| ОСТ 1 31042-79 | Болт с хвостовиком | М12х1,5х79 | В наличии | |
| ОСТ 1 31042-79 | Болт с хвостовиком | М12х1,5х80 | В наличии | |
| ОСТ 1 31042-79 | Болт | М14х1,5х50 | В наличии | |
| ОСТ 1 31042-79 | Болт | М14х1,5х51 | В наличии | |
| ОСТ 1 31042-79 | Болт | М14х1,5х52 | В наличии | |
| ОСТ 1 31042-79 | Болт | М14х1,5х53 | В наличии | |
| ОСТ 1 31042-79 | Болт | М14х1,5х54 | В наличии | |
| ОСТ 1 31042-79 | Болт | М14х1,5х55 | В наличии | |
| ОСТ 1 31042-79 | Болт | М14х1,5х56 | В наличии | |
| ОСТ 1 31042-79 | Болт | М14х1,5х57 | В наличии | |
| ОСТ 1 31042-79 | Болт | М14х1,5х58 | В наличии | |
| ОСТ 1 31042-79 | Болт | М14х1,5х59 | В наличии | |
| ОСТ 1 31042-79 | Болт | М14х1,5х60 | В наличии | |
| ОСТ 1 31042-79 | Болт | М14х1,5х61 | В наличии | |
| ОСТ 1 31042-79 | Болт | М14х1,5х62 | В наличии | |
| ОСТ 1 31042-79 | Болт | М14х1,5х63 | В наличии | |
| ОСТ 1 31042-79 | Болт | М14х1,5х64 | В наличии | |
| ОСТ 1 31042-79 | Болт | М14х1,5х65 | В наличии | |
| ОСТ 1 31042-79 | Болт | М14х1,5х66 | В наличии | |
| ОСТ 1 31042-79 | Болт | М14х1,5х67 | В наличии | |
| ОСТ 1 31042-79 | Болт | М14х1,5х68 | В наличии | |
| ОСТ 1 31042-79 | Болт | М14х1,5х69 | В наличии | |
| ОСТ 1 31042-79 | Болт | М14х1,5х70 | В наличии | |
| ОСТ 1 31042-79 | Болт | М14х1,5х71 | В наличии | |
| ОСТ 1 31042-79 | Болт | М14х1,5х72 | В наличии | |
| ОСТ 1 31042-79 | Болт | М14х1,5х73 | В наличии | |
| ОСТ 1 31042-79 | Болт | М14х1,5х74 | В наличии | |
| ОСТ 1 31042-79 | Болт | М14х1,5х75 | В наличии | |
| ОСТ 1 31042-79 | Болт | М14х1,5х76 | В наличии | |
| ОСТ 1 31042-79 | Болт | М14х1,5х77 | В наличии | |
| ОСТ 1 31042-79 | Болт | М14х1,5х78 | В наличии | |
| ОСТ 1 31042-79 | Болт | М14х1,5х79 | В наличии | |
| ОСТ 1 31042-79 | Болт | М14х1,5х80 | В наличии | |
| ОСТ 1 31042-79 | Болт | М14х1,5х81 | В наличии | |
| ОСТ 1 31042-79 | Болт | М14х1,5х82 | В наличии | |
| ОСТ 1 31042-79 | Болт | М14х1,5х83 | В наличии | |
| ОСТ 1 31042-79 | Болт | М14х1,5х84 | В наличии | |
| ОСТ 1 31042-79 | Болт | М14х1,5х85 | В наличии | |
| ОСТ 1 31042-79 | Болт | М14х1,5х86 | В наличии | |
| ОСТ 1 31042-79 | Болт | М14х1,5х87 | В наличии | |
| ОСТ 1 31042-79 | Болт | М14х1,5х88 | В наличии | |
| ОСТ 1 31042-79 | Болт | М14х1,5х89 | В наличии | |
| ОСТ 1 31042-79 | Болт | М14х1,5х90 | В наличии | |
| ОСТ 1 31042-79 | Болт | М14х1,5х91 | В наличии | |
| ОСТ 1 31042-79 | Болт | М14х1,5х92 | В наличии | |
| ОСТ 1 31042-79 | Болт с хвостовиком | М14х1,5х50 | В наличии | |
| ОСТ 1 31042-79 | Болт с хвостовиком | М14х1,5х51 | В наличии | |
| ОСТ 1 31042-79 | Болт с хвостовиком | М14х1,5х52 | В наличии | |
| ОСТ 1 31042-79 | Болт с хвостовиком | М14х1,5х53 | В наличии | |
| ОСТ 1 31042-79 | Болт с хвостовиком | М14х1,5х54 | В наличии | |
| ОСТ 1 31042-79 | Болт с хвостовиком | М14х1,5х55 | В наличии | |
| ОСТ 1 31042-79 | Болт с хвостовиком | М14х1,5х56 | В наличии | |
| ОСТ 1 31042-79 | Болт с хвостовиком | М14х1,5х57 | В наличии | |
| ОСТ 1 31042-79 | Болт с хвостовиком | М14х1,5х58 | В наличии | |
| ОСТ 1 31042-79 | Болт с хвостовиком | М14х1,5х59 | В наличии | |
| ОСТ 1 31042-79 | Болт с хвостовиком | М14х1,5х60 | В наличии | |
| ОСТ 1 31042-79 | Болт с хвостовиком | М14х1,5х61 | В наличии | |
| ОСТ 1 31042-79 | Болт с хвостовиком | М14х1,5х62 | В наличии | |
| ОСТ 1 31042-79 | Болт с хвостовиком | М14х1,5х63 | В наличии | |
| ОСТ 1 31042-79 | Болт с хвостовиком | М14х1,5х64 | В наличии | |
| ОСТ 1 31042-79 | Болт с хвостовиком | М14х1,5х65 | В наличии | |
| ОСТ 1 31042-79 | Болт с хвостовиком | М14х1,5х66 | В наличии | |
| ОСТ 1 31042-79 | Болт с хвостовиком | М14х1,5х67 | В наличии | |
| ОСТ 1 31042-79 | Болт с хвостовиком | М14х1,5х68 | В наличии | |
| ОСТ 1 31042-79 | Болт с хвостовиком | М14х1,5х69 | В наличии | |
| ОСТ 1 31042-79 | Болт с хвостовиком | М14х1,5х70 | В наличии | |
| ОСТ 1 31042-79 | Болт с хвостовиком | М14х1,5х71 | В наличии | |
| ОСТ 1 31042-79 | Болт с хвостовиком | М14х1,5х72 | В наличии | |
| ОСТ 1 31042-79 | Болт с хвостовиком | М14х1,5х73 | В наличии | |
| ОСТ 1 31042-79 | Болт с хвостовиком | М14х1,5х74 | В наличии | |
| ОСТ 1 31042-79 | Болт с хвостовиком | М14х1,5х75 | В наличии | |
| ОСТ 1 31042-79 | Болт с хвостовиком | М14х1,5х76 | В наличии | |
| ОСТ 1 31042-79 | Болт с хвостовиком | М14х1,5х77 | В наличии | |
| ОСТ 1 31042-79 | Болт с хвостовиком | М14х1,5х78 | В наличии | |
| ОСТ 1 31042-79 | Болт с хвостовиком | М14х1,5х79 | В наличии | |
| ОСТ 1 31042-79 | Болт с хвостовиком | М14х1,5х80 | В наличии | |
| ОСТ 1 31042-79 | Болт с хвостовиком | М14х1,5х81 | В наличии | |
| ОСТ 1 31042-79 | Болт с хвостовиком | М14х1,5х82 | В наличии | |
| ОСТ 1 31042-79 | Болт с хвостовиком | М14х1,5х83 | В наличии | |
| ОСТ 1 31042-79 | Болт с хвостовиком | М14х1,5х84 | В наличии | |
| ОСТ 1 31042-79 | Болт с хвостовиком | М14х1,5х85 | В наличии | |
| ОСТ 1 31042-79 | Болт с хвостовиком | М14х1,5х86 | В наличии | |
| ОСТ 1 31042-79 | Болт с хвостовиком | М14х1,5х87 | В наличии | |
| ОСТ 1 31042-79 | Болт с хвостовиком | М14х1,5х88 | В наличии | |
| ОСТ 1 31042-79 | Болт с хвостовиком | М14х1,5х89 | В наличии | |
| ОСТ 1 31042-79 | Болт с хвостовиком | М14х1,5х90 | В наличии | |
| ОСТ 1 31042-79 | Болт с хвостовиком | М14х1,5х91 | В наличии | |
| ОСТ 1 31042-79 | Болт с хвостовиком | М14х1,5х92 | В наличии | |
| ОСТ 1 31042-79 | Болт | М16х1,5х56 | В наличии | |
| ОСТ 1 31042-79 | Болт | М16х1,5х57 | В наличии | |
| ОСТ 1 31042-79 | Болт | М16х1,5х58 | В наличии | |
| ОСТ 1 31042-79 | Болт | М16х1,5х59 | В наличии | |
| ОСТ 1 31042-79 | Болт | М16х1,5х60 | В наличии | |
| ОСТ 1 31042-79 | Болт | М16х1,5х61 | В наличии | |
| ОСТ 1 31042-79 | Болт | М16х1,5х62 | В наличии | |
| ОСТ 1 31042-79 | Болт | М16х1,5х63 | В наличии | |
| ОСТ 1 31042-79 | Болт | М16х1,5х64 | В наличии | |
| ОСТ 1 31042-79 | Болт | М16х1,5х65 | В наличии | |
| ОСТ 1 31042-79 | Болт | М16х1,5х66 | В наличии | |
| ОСТ 1 31042-79 | Болт | М16х1,5х67 | В наличии | |
| ОСТ 1 31042-79 | Болт | М16х1,5х68 | В наличии | |
| ОСТ 1 31042-79 | Болт | М16х1,5х69 | В наличии | |
| ОСТ 1 31042-79 | Болт | М16х1,5х70 | В наличии | |
| ОСТ 1 31042-79 | Болт | М16х1,5х71 | В наличии | |
| ОСТ 1 31042-79 | Болт | М16х1,5х72 | В наличии | |
| ОСТ 1 31042-79 | Болт | М16х1,5х73 | В наличии | |
| ОСТ 1 31042-79 | Болт | М16х1,5х74 | В наличии | |
| ОСТ 1 31042-79 | Болт | М16х1,5х75 | В наличии | |
| ОСТ 1 31042-79 | Болт | М16х1,5х76 | В наличии | |
| ОСТ 1 31042-79 | Болт | М16х1,5х77 | В наличии | |
| ОСТ 1 31042-79 | Болт | М16х1,5х78 | В наличии | |
| ОСТ 1 31042-79 | Болт | М16х1,5х79 | В наличии | |
| ОСТ 1 31042-79 | Болт | М16х1,5х80 | В наличии | |
| ОСТ 1 31042-79 | Болт | М16х1,5х81 | В наличии | |
| ОСТ 1 31042-79 | Болт | М16х1,5х82 | В наличии | |
| ОСТ 1 31042-79 | Болт | М16х1,5х83 | В наличии | |
| ОСТ 1 31042-79 | Болт | М16х1,5х84 | В наличии | |
| ОСТ 1 31042-79 | Болт | М16х1,5х85 | В наличии | |
| ОСТ 1 31042-79 | Болт | М16х1,5х86 | В наличии | |
| ОСТ 1 31042-79 | Болт | М16х1,5х87 | В наличии | |
| ОСТ 1 31042-79 | Болт | М16х1,5х88 | В наличии | |
| ОСТ 1 31042-79 | Болт | М16х1,5х89 | В наличии | |
| ОСТ 1 31042-79 | Болт | М16х1,5х90 | В наличии | |
| ОСТ 1 31042-79 | Болт | М16х1,5х91 | В наличии | |
| ОСТ 1 31042-79 | Болт | М16х1,5х92 | В наличии | |
| ОСТ 1 31042-79 | Болт | М16х1,5х93 | В наличии | |
| ОСТ 1 31042-79 | Болт | М16х1,5х94 | В наличии | |
| ОСТ 1 31042-79 | Болт | М16х1,5х95 | В наличии | |
| ОСТ 1 31042-79 | Болт | М16х1,5х96 | В наличии | |
| ОСТ 1 31042-79 | Болт | М16х1,5х97 | В наличии | |
| ОСТ 1 31042-79 | Болт | М16х1,5х98 | В наличии | |
| ОСТ 1 31042-79 | Болт | М16х1,5х99 | В наличии | |
| ОСТ 1 31042-79 | Болт | М16х1,5х100 | В наличии | |
| ОСТ 1 31042-79 | Болт | М16х1,5х101 | В наличии | |
| ОСТ 1 31042-79 | Болт | М16х1,5х102 | В наличии | |
| ОСТ 1 31042-79 | Болт | М16х1,5х103 | В наличии | |
| ОСТ 1 31042-79 | Болт | М16х1,5х104 | В наличии | |
| ОСТ 1 31042-79 | Болт с хвостовиком | М16х1,5х56 | В наличии | |
| ОСТ 1 31042-79 | Болт с хвостовиком | М16х1,5х57 | В наличии | |
| ОСТ 1 31042-79 | Болт с хвостовиком | М16х1,5х58 | В наличии | |
| ОСТ 1 31042-79 | Болт с хвостовиком | М16х1,5х59 | В наличии | |
| ОСТ 1 31042-79 | Болт с хвостовиком | М16х1,5х60 | В наличии | |
| ОСТ 1 31042-79 | Болт с хвостовиком | М16х1,5х61 | В наличии | |
| ОСТ 1 31042-79 | Болт с хвостовиком | М16х1,5х62 | В наличии | |
| ОСТ 1 31042-79 | Болт с хвостовиком | М16х1,5х63 | В наличии | |
| ОСТ 1 31042-79 | Болт с хвостовиком | М16х1,5х64 | В наличии | |
| ОСТ 1 31042-79 | Болт с хвостовиком | М16х1,5х65 | В наличии | |
| ОСТ 1 31042-79 | Болт с хвостовиком | М16х1,5х66 | В наличии | |
| ОСТ 1 31042-79 | Болт с хвостовиком | М16х1,5х67 | В наличии | |
| ОСТ 1 31042-79 | Болт с хвостовиком | М16х1,5х68 | В наличии | |
| ОСТ 1 31042-79 | Болт с хвостовиком | М16х1,5х69 | В наличии | |
| ОСТ 1 31042-79 | Болт с хвостовиком | М16х1,5х70 | В наличии | |
| ОСТ 1 31042-79 | Болт с хвостовиком | М16х1,5х71 | В наличии | |
| ОСТ 1 31042-79 | Болт с хвостовиком | М16х1,5х72 | В наличии | |
| ОСТ 1 31042-79 | Болт с хвостовиком | М16х1,5х73 | В наличии | |
| ОСТ 1 31042-79 | Болт с хвостовиком | М16х1,5х74 | В наличии | |
| ОСТ 1 31042-79 | Болт с хвостовиком | М16х1,5х75 | В наличии | |
| ОСТ 1 31042-79 | Болт с хвостовиком | М16х1,5х76 | В наличии | |
| ОСТ 1 31042-79 | Болт с хвостовиком | М16х1,5х77 | В наличии | |
| ОСТ 1 31042-79 | Болт с хвостовиком | М16х1,5х78 | В наличии | |
| ОСТ 1 31042-79 | Болт с хвостовиком | М16х1,5х79 | В наличии | |
| ОСТ 1 31042-79 | Болт с хвостовиком | М16х1,5х80 | В наличии | |
| ОСТ 1 31042-79 | Болт с хвостовиком | М16х1,5х81 | В наличии | |
| ОСТ 1 31042-79 | Болт с хвостовиком | М16х1,5х82 | В наличии | |
| ОСТ 1 31042-79 | Болт с хвостовиком | М16х1,5х83 | В наличии | |
| ОСТ 1 31042-79 | Болт с хвостовиком | М16х1,5х84 | В наличии | |
| ОСТ 1 31042-79 | Болт с хвостовиком | М16х1,5х85 | В наличии | |
| ОСТ 1 31042-79 | Болт с хвостовиком | М16х1,5х86 | В наличии | |
| ОСТ 1 31042-79 | Болт с хвостовиком | М16х1,5х87 | В наличии | |
| ОСТ 1 31042-79 | Болт с хвостовиком | М16х1,5х88 | В наличии | |
| ОСТ 1 31042-79 | Болт с хвостовиком | М16х1,5х89 | В наличии | |
| ОСТ 1 31042-79 | Болт с хвостовиком | М16х1,5х90 | В наличии | |
| ОСТ 1 31042-79 | Болт с хвостовиком | М16х1,5х91 | В наличии | |
| ОСТ 1 31042-79 | Болт с хвостовиком | М16х1,5х92 | В наличии | |
| ОСТ 1 31042-79 | Болт с хвостовиком | М16х1,5х93 | В наличии | |
| ОСТ 1 31042-79 | Болт с хвостовиком | М16х1,5х94 | В наличии | |
| ОСТ 1 31042-79 | Болт с хвостовиком | М16х1,5х95 | В наличии | |
| ОСТ 1 31042-79 | Болт с хвостовиком | М16х1,5х96 | В наличии | |
| ОСТ 1 31042-79 | Болт с хвостовиком | М16х1,5х97 | В наличии | |
| ОСТ 1 31042-79 | Болт с хвостовиком | М16х1,5х98 | В наличии | |
| ОСТ 1 31042-79 | Болт с хвостовиком | М16х1,5х99 | В наличии | |
| ОСТ 1 31042-79 | Болт с хвостовиком | М16х1,5х100 | В наличии | |
| ОСТ 1 31042-79 | Болт с хвостовиком | М16х1,5х101 | В наличии | |
| ОСТ 1 31042-79 | Болт с хвостовиком | М16х1,5х102 | В наличии | |
| ОСТ 1 31042-79 | Болт с хвостовиком | М16х1,5х103 | В наличии | |
| ОСТ 1 31042-79 | Болт с хвостовиком | М16х1,5х104 | В наличии |
Для изготовителей и поставщиков: Добавить мои товары в базу
Для покупателей: Подать заявку на покупку
| Наименование | Типоразмер | Материал | Количество, шт | Вес, кг |
| Болт ОСТ 1 31042-79 |
ОСТ 1 30055-84 Накатка кольцевая стержней болт-заклепок из титанового сплава
ОСТ 1 31076-80 Маркировка крепежных изделий взамен НОРМАЛЬ 176АТ
ОСТ 1 31076-80: Маркировка крепежных изделий (взамен НОРМАЛЬ 176АТ)
ОСТ 1 39502-77 Стопорение болтов, винтов, шпилек, штифтов и гаек
ОСТ 1 39503-77 Длины болтов и винтов
ОСТ 1 39504-79 Головки шестигранные болтов и винтов
ОСТ 1 51730-79 Оснастка для формообразования концов труб тяг управления из сплава Д16Т
ОСТ 1 51731-79 Оснастка для формообразования концов труб тяг управления из сплава Д16Т
ОСТ 1.41001-79 Диаметры отверстий под нарезание резьбы метрической по нормали 754АТ
ОСТ 1.41002-79 Диаметры стержней под нарезание резьбы метрической по нормали 754АТ и ОСТ 1.00039-73
ОСТ 92-0762-72 Болты, винты из титановых сплавов
ОСТ 92-1130-85 Детали стальные точные
ОСТ 92-1179-77 Детали и сборочные единицы из сталей марок 07Х16Н6 и 08Х17Н5М3
ОСТ 92-8653-75 по ОСТ 92-8674-75 Соединения трубопроводов по внутреннему конусу
ОСТ 92-8843-77 Крепежные детали повышенного качества
ОСТ-1-33102-80 Взамен нормали 102АТУ Гайки ОСТ-1-33102-80
Отраслевая нормаль 214АТ В замен нормали 214МТ55 метрическая резьбой со свободной посадкой
Отраслевая нормаль 714М55 pdf Кольца плоские ,стопорные технические условия
Отраслевая нормаль авиационной техники 101АТУ Взамен 201СТУ51
2026 «Быстрометиз». Мы не интернет-магазин. Информация о наличии и стоимости продукции не является публичной офертой.
Задайте вопрос нашим специалистам