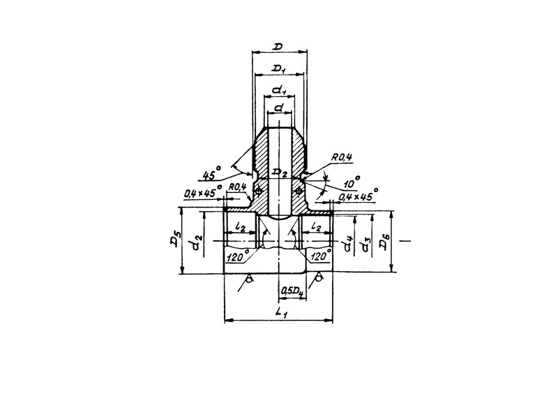
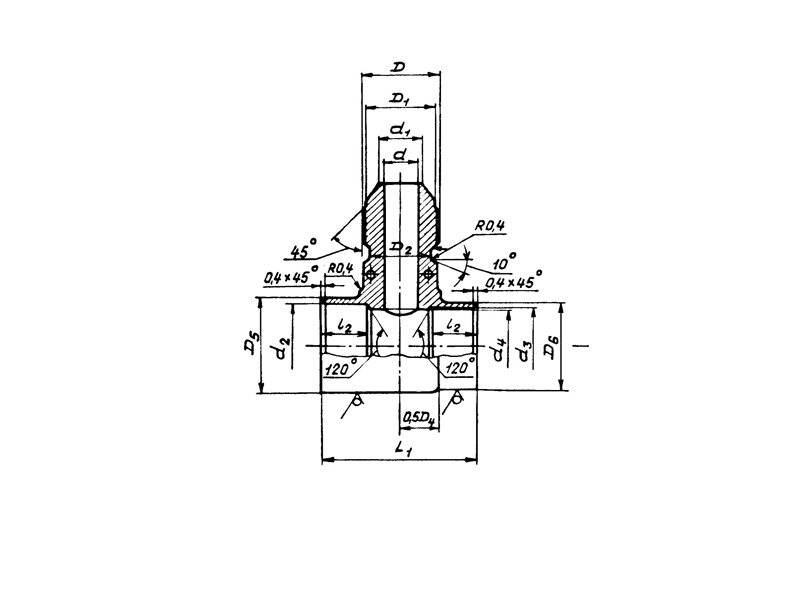
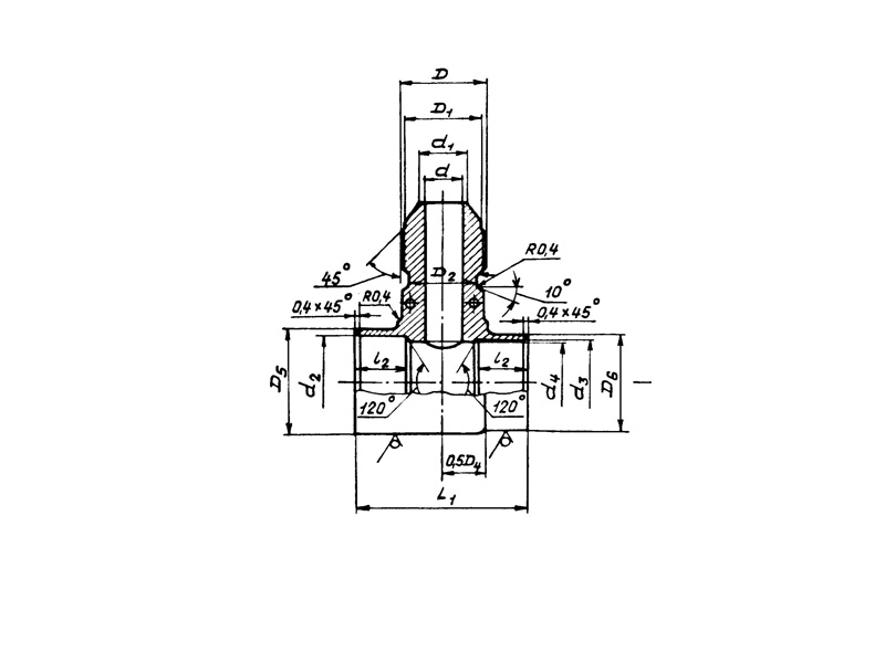
Ост 1 13083-78 тройники припайные
Тройники припайные по нормали ОСТ 1 13083-78 – это специальный крепеж, предназначенный для соединения трубопроводов по наружному конусу. Взамен нормали 5242А.
КОНСТРУКЦИЯ И ТЕХНИЧЕСКИЕ ОСОБЕННОСТИ
Конструкция тройника состоит из состоит из трубчатого корпуса с резьбами с трех сторон.
Материал изготовления: сталь 12Х18Н9Т.
Материал покрытия: Хим.Пас.
Пример наименования и обозначения припайного тройника к трубопроводу Dн=12мм и d2=22мм и d3=20мм из стали 12Х18Н9Т:
Тройник припайной 12-22-20-ОСТ 1 13083-78
То же, с d2=22мм и d3=22мм из стали 12Х18Н9Т:
Тройник припайной 12-22-22-ОСТ 1 13083-78
ПРИМЕНЕНИЕ
Данные тройники используются во многих отраслях промышленности.
АНАЛОГИ
Нормаль 5242А.
| ОСТ/ГОСТ | Нормаль | Наименование | Типоразмер | На складе |
| ОСТ 1 13083-78 | 5242А | Гайка | 6х6х6 | В наличии |
| ОСТ 1 13083-78 | 5242А | Гайка | 6х8х6 | В наличии |
| ОСТ 1 13083-78 | 5242А | Гайка | 6х8х8 | В наличии |
| ОСТ 1 13083-78 | 5242А | Гайка | 6х10х8 | В наличии |
| ОСТ 1 13083-78 | 5242А | Гайка | 6х10х10 | В наличии |
| ОСТ 1 13083-78 | 5242А | Гайка | 6х12х10 | В наличии |
| ОСТ 1 13083-78 | 5242А | Гайка | 6х12х12 | В наличии |
| ОСТ 1 13083-78 | 5242А | Гайка | 6х14х12 | В наличии |
| ОСТ 1 13083-78 | 5242А | Гайка | 6х14х14 | В наличии |
| ОСТ 1 13083-78 | 5242А | Гайка | 6х16х14 | В наличии |
| ОСТ 1 13083-78 | 5242А | Гайка | 6х16х16 | В наличии |
| ОСТ 1 13083-78 | 5242А | Гайка | 6х18х18 | В наличии |
| ОСТ 1 13083-78 | 5242А | Гайка | 6х20х20 | В наличии |
| ОСТ 1 13083-78 | 5242А | Гайка | 6х22х22 | В наличии |
| ОСТ 1 13083-78 | 5242А | Гайка | 6х25х25 | В наличии |
| ОСТ 1 13083-78 | 5242А | Гайка | 6х28х28 | В наличии |
| ОСТ 1 13083-78 | 5242А | Гайка | 6х34х34 | В наличии |
| ОСТ 1 13083-78 | 5242А | Гайка | 6х38х38 | В наличии |
| ОСТ 1 13083-78 | 5242А | Гайка | 8х6х6 | В наличии |
| ОСТ 1 13083-78 | 5242А | Гайка | 8х8х6 | В наличии |
| ОСТ 1 13083-78 | 5242А | Гайка | 8х8х8 | В наличии |
| ОСТ 1 13083-78 | 5242А | Гайка | 8х10х8 | В наличии |
| ОСТ 1 13083-78 | 5242А | Гайка | 8х10х10 | В наличии |
| ОСТ 1 13083-78 | 5242А | Гайка | 8х12х10 | В наличии |
| ОСТ 1 13083-78 | 5242А | Гайка | 8х12х12 | В наличии |
| ОСТ 1 13083-78 | 5242А | Гайка | 8х14х12 | В наличии |
| ОСТ 1 13083-78 | 5242А | Гайка | 8х14х14 | В наличии |
| ОСТ 1 13083-78 | 5242А | Гайка | 8х16х14 | В наличии |
| ОСТ 1 13083-78 | 5242А | Гайка | 8х16х16 | В наличии |
| ОСТ 1 13083-78 | 5242А | Гайка | 8х18х16 | В наличии |
| ОСТ 1 13083-78 | 5242А | Гайка | 8х18х18 | В наличии |
| ОСТ 1 13083-78 | 5242А | Гайка | 8х25х25 | В наличии |
| ОСТ 1 13083-78 | 5242А | Гайка | 8х28х28 | В наличии |
| ОСТ 1 13083-78 | 5242А | Гайка | 8х30х30 | В наличии |
| ОСТ 1 13083-78 | 5242А | Гайка | 8х34х34 | В наличии |
| ОСТ 1 13083-78 | 5242А | Гайка | 10х8х8 | В наличии |
| ОСТ 1 13083-78 | 5242А | Гайка | 10х10х8 | В наличии |
| ОСТ 1 13083-78 | 5242А | Гайка | 10х10х10 | В наличии |
| ОСТ 1 13083-78 | 5242А | Гайка | 10х12х10 | В наличии |
| ОСТ 1 13083-78 | 5242А | Гайка | 10х12х12 | В наличии |
| ОСТ 1 13083-78 | 5242А | Гайка | 10х14х12 | В наличии |
| ОСТ 1 13083-78 | 5242А | Гайка | 10х14х14 | В наличии |
| ОСТ 1 13083-78 | 5242А | Гайка | 10х16х14 | В наличии |
| ОСТ 1 13083-78 | 5242А | Гайка | 10х16х16 | В наличии |
| ОСТ 1 13083-78 | 5242А | Гайка | 10х18х16 | В наличии |
| ОСТ 1 13083-78 | 5242А | Гайка | 10х18х18 | В наличии |
| ОСТ 1 13083-78 | 5242А | Гайка | 10х20х18 | В наличии |
| ОСТ 1 13083-78 | 5242А | Гайка | 10х20х20 | В наличии |
| ОСТ 1 13083-78 | 5242А | Гайка | 10х22х20 | В наличии |
| ОСТ 1 13083-78 | 5242А | Гайка | 10х22х22 | В наличии |
| ОСТ 1 13083-78 | 5242А | Гайка | 10х25х25 | В наличии |
| ОСТ 1 13083-78 | 5242А | Гайка | 10х28х28 | В наличии |
| ОСТ 1 13083-78 | 5242А | Гайка | 10х34х34 | В наличии |
| ОСТ 1 13083-78 | 5242А | Гайка | 12х10х8 | В наличии |
| ОСТ 1 13083-78 | 5242А | Гайка | 12х10х10 | В наличии |
| ОСТ 1 13083-78 | 5242А | Гайка | 12х12х10 | В наличии |
| ОСТ 1 13083-78 | 5242А | Гайка | 12х12х12 | В наличии |
| ОСТ 1 13083-78 | 5242А | Гайка | 12х14х12 | В наличии |
| ОСТ 1 13083-78 | 5242А | Гайка | 12х14х14 | В наличии |
| ОСТ 1 13083-78 | 5242А | Гайка | 12х16х14 | В наличии |
| ОСТ 1 13083-78 | 5242А | Гайка | 12х16х16 | В наличии |
| ОСТ 1 13083-78 | 5242А | Гайка | 12х18х16 | В наличии |
| ОСТ 1 13083-78 | 5242А | Гайка | 12х18х18 | В наличии |
| ОСТ 1 13083-78 | 5242А | Гайка | 12х20х18 | В наличии |
| ОСТ 1 13083-78 | 5242А | Гайка | 12х20х20 | В наличии |
| ОСТ 1 13083-78 | 5242А | Гайка | 12х22х20 | В наличии |
| ОСТ 1 13083-78 | 5242А | Гайка | 12х22х22 | В наличии |
| ОСТ 1 13083-78 | 5242А | Гайка | 14х10х10 | В наличии |
| ОСТ 1 13083-78 | 5242А | Гайка | 14х12х10 | В наличии |
| ОСТ 1 13083-78 | 5242А | Гайка | 14х12х12 | В наличии |
| ОСТ 1 13083-78 | 5242А | Гайка | 14х14х12 | В наличии |
| ОСТ 1 13083-78 | 5242А | Гайка | 14х14х14 | В наличии |
| ОСТ 1 13083-78 | 5242А | Гайка | 14х16х14 | В наличии |
| ОСТ 1 13083-78 | 5242А | Гайка | 14х16х16 | В наличии |
| ОСТ 1 13083-78 | 5242А | Гайка | 14х18х16 | В наличии |
| ОСТ 1 13083-78 | 5242А | Гайка | 14х18х18 | В наличии |
| ОСТ 1 13083-78 | 5242А | Гайка | 14х20х18 | В наличии |
| ОСТ 1 13083-78 | 5242А | Гайка | 14х20х20 | В наличии |
| ОСТ 1 13083-78 | 5242А | Гайка | 14х22х20 | В наличии |
| ОСТ 1 13083-78 | 5242А | Гайка | 14х22х22 | В наличии |
| ОСТ 1 13083-78 | 5242А | Гайка | 16х8х8 | В наличии |
| ОСТ 1 13083-78 | 5242А | Гайка | 16х10х10 | В наличии |
| ОСТ 1 13083-78 | 5242А | Гайка | 16х12х12 | В наличии |
| ОСТ 1 13083-78 | 5242А | Гайка | 16х16х16 | В наличии |
| ОСТ 1 13083-78 | 5242А | Гайка | 18х10х10 | В наличии |
| ОСТ 1 13083-78 | 5242А | Гайка | 18х12х12 | В наличии |
| ОСТ 1 13083-78 | 5242А | Гайка | 18х16х16 | В наличии |
| ОСТ 1 13083-78 | 5242А | Гайка | 18х18х18 | В наличии |
| ОСТ 1 13083-78 | 5242А | Гайка | 20х12х12 | В наличии |
| ОСТ 1 13083-78 | 5242А | Гайка | 20х16х16 | В наличии |
| ОСТ 1 13083-78 | 5242А | Гайка | 20х18х18 | В наличии |
| ОСТ 1 13083-78 | 5242А | Гайка | 20х20х20 | В наличии |
| ОСТ 1 13083-78 | 5242А | Гайка | 22х16х16 | В наличии |
| ОСТ 1 13083-78 | 5242А | Гайка | 22х18х18 | В наличии |
| ОСТ 1 13083-78 | 5242А | Гайка | 22х20х20 | В наличии |
| ОСТ 1 13083-78 | 5242А | Гайка | 22х22х22 | В наличии |
| ОСТ 1 13083-78 | 5242А | Гайка | 28х18х18 | В наличии |
| ОСТ 1 13083-78 | 5242А | Гайка | 28х20х20 | В наличии |
| ОСТ 1 13083-78 | 5242А | Гайка | 28х22х22 | В наличии |
| ОСТ 1 13083-78 | 5242А | Гайка | 28х28х28 | В наличии |
| ОСТ 1 13083-78 | 5242А | Гайка | 36х20х20 | В наличии |
| ОСТ 1 13083-78 | 5242А | Гайка | 36х22х22 | В наличии |
| ОСТ 1 13083-78 | 5242А | Гайка | 36х28х28 | В наличии |
| ОСТ 1 13083-78 | 5242А | Гайка | 36х36х36 | В наличии |
Для изготовителей и поставщиков: Добавить мои товары в базу
Для покупателей: Подать заявку на покупку
| Наименование | Типоразмер | Материал | Количество, шт | Вес, кг |
| Гайка ОСТ 1 13083-78 5242А |
ОСТ 1 30055-84 Накатка кольцевая стержней болт-заклепок из титанового сплава
ОСТ 1 31076-80 Маркировка крепежных изделий взамен НОРМАЛЬ 176АТ
ОСТ 1 31076-80: Маркировка крепежных изделий (взамен НОРМАЛЬ 176АТ)
ОСТ 1 39502-77 Стопорение болтов, винтов, шпилек, штифтов и гаек
ОСТ 1 39503-77 Длины болтов и винтов
ОСТ 1 39504-79 Головки шестигранные болтов и винтов
ОСТ 1 51730-79 Оснастка для формообразования концов труб тяг управления из сплава Д16Т
ОСТ 1 51731-79 Оснастка для формообразования концов труб тяг управления из сплава Д16Т
ОСТ 1.41001-79 Диаметры отверстий под нарезание резьбы метрической по нормали 754АТ
ОСТ 1.41002-79 Диаметры стержней под нарезание резьбы метрической по нормали 754АТ и ОСТ 1.00039-73
ОСТ 92-0762-72 Болты, винты из титановых сплавов
ОСТ 92-1179-77 Детали и сборочные единицы из сталей марок 07Х16Н6 и 08Х17Н5М3
ОСТ 92-8653-75 по ОСТ 92-8674-75 Соединения трубопроводов по внутреннему конусу
ОСТ-1-33102-80 Взамен нормали 102АТУ Гайки ОСТ-1-33102-80
Отраслевая нормаль 214АТ В замен нормали 214МТ55 метрическая резьбой со свободной посадкой
Отраслевая нормаль 714М55 pdf Кольца плоские ,стопорные технические условия
Отраслевая нормаль авиационной техники 101АТУ Взамен 201СТУ51
2025 «Быстрометиз». Мы не интернет-магазин. Информация о наличии и стоимости продукции не является публичной офертой.
Задайте вопрос нашим специалистам