ОСТ 1 31037-78 болты с шестигранной головкой ремонтные
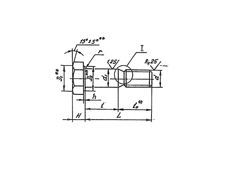
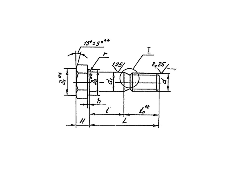
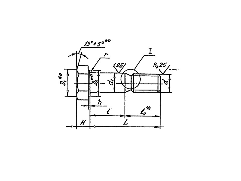
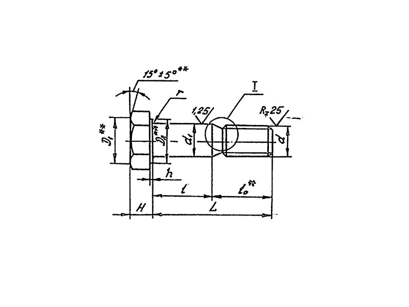
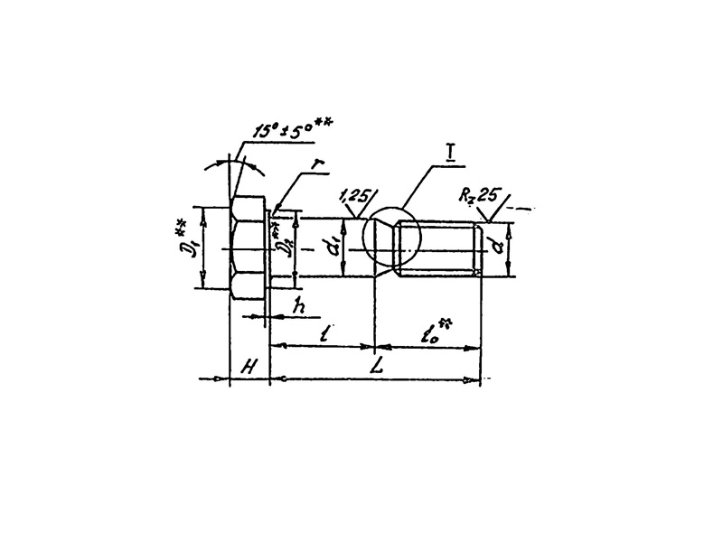
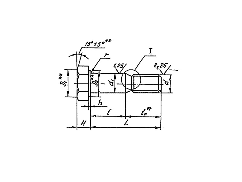
Болты с шестигранной головкой ремонтные по ОСТ 1 31037-78 – это специальный крепеж, они изготавливаются в трех исполнениях, в зависимости от диаметра гладкой части стержня.
КОНСТРУКЦИЯ И ТЕХНИЧЕСКИЕ ОСОБЕННОСТИ
Конструкция болта состоит из шестигранной головки и цилиндрического стержня с резьбой.
Материал изготовления: сталь 30ХГСА.
Материал покрытия: Кд9.хр.
Пример наименования и обозначения болта диаметром d=5мм и L=14мм:
Болт 5х14х1 ОСТ 1 31037-78
ПРИМЕНЕНИЕ
Данные болты используются во многих отраслях промышленности.
АНАЛОГИ
| ОСТ/ГОСТ | Нормаль | Наименование | Типоразмер | На складе |
| ОСТ 1 31037-78 | Болт | 5х14 исполнение 1 | В наличии | |
| ОСТ 1 31037-78 | Болт | 5х15 исполнение 1 | В наличии | |
| ОСТ 1 31037-78 | Болт | 5х16 исполнение 1 | В наличии | |
| ОСТ 1 31037-78 | Болт | 5х17 исполнение 1 | В наличии | |
| ОСТ 1 31037-78 | Болт | 5х18 исполнение 1 | В наличии | |
| ОСТ 1 31037-78 | Болт | 5х19 исполнение 1 | В наличии | |
| ОСТ 1 31037-78 | Болт | 5х20 исполнение 1 | В наличии | |
| ОСТ 1 31037-78 | Болт | 5х21 исполнение 1 | В наличии | |
| ОСТ 1 31037-78 | Болт | 5х22 исполнение 1 | В наличии | |
| ОСТ 1 31037-78 | Болт | 5х23 исполнение 1 | В наличии | |
| ОСТ 1 31037-78 | Болт | 5х24 исполнение 1 | В наличии | |
| ОСТ 1 31037-78 | Болт | 5х25 исполнение 1 | В наличии | |
| ОСТ 1 31037-78 | Болт | 5х26 исполнение 1 | В наличии | |
| ОСТ 1 31037-78 | Болт | 5х27 исполнение 1 | В наличии | |
| ОСТ 1 31037-78 | Болт | 5х28 исполнение 1 | В наличии | |
| ОСТ 1 31037-78 | Болт | 5х29 исполнение 1 | В наличии | |
| ОСТ 1 31037-78 | Болт | 5х30 исполнение 1 | В наличии | |
| ОСТ 1 31037-78 | Болт | 5х31 исполнение 1 | В наличии | |
| ОСТ 1 31037-78 | Болт | 5х32 исполнение 1 | В наличии | |
| ОСТ 1 31037-78 | Болт | 5х33 исполнение 1 | В наличии | |
| ОСТ 1 31037-78 | Болт | 5х34 исполнение 1 | В наличии | |
| ОСТ 1 31037-78 | Болт | 5х35 исполнение 1 | В наличии | |
| ОСТ 1 31037-78 | Болт | 5х36 исполнение 1 | В наличии | |
| ОСТ 1 31037-78 | Болт | 5х14 исполнение 2 | В наличии | |
| ОСТ 1 31037-78 | Болт | 5х15 исполнение 2 | В наличии | |
| ОСТ 1 31037-78 | Болт | 5х16 исполнение 2 | В наличии | |
| ОСТ 1 31037-78 | Болт | 5х17 исполнение 2 | В наличии | |
| ОСТ 1 31037-78 | Болт | 5х18 исполнение 2 | В наличии | |
| ОСТ 1 31037-78 | Болт | 5х19 исполнение 2 | В наличии | |
| ОСТ 1 31037-78 | Болт | 5х20 исполнение 2 | В наличии | |
| ОСТ 1 31037-78 | Болт | 5х21 исполнение 2 | В наличии | |
| ОСТ 1 31037-78 | Болт | 5х22 исполнение 2 | В наличии | |
| ОСТ 1 31037-78 | Болт | 5х23 исполнение 2 | В наличии | |
| ОСТ 1 31037-78 | Болт | 5х24 исполнение 2 | В наличии | |
| ОСТ 1 31037-78 | Болт | 5х25 исполнение 2 | В наличии | |
| ОСТ 1 31037-78 | Болт | 5х26 исполнение 2 | В наличии | |
| ОСТ 1 31037-78 | Болт | 5х27 исполнение 2 | В наличии | |
| ОСТ 1 31037-78 | Болт | 5х28 исполнение 2 | В наличии | |
| ОСТ 1 31037-78 | Болт | 5х29 исполнение 2 | В наличии | |
| ОСТ 1 31037-78 | Болт | 5х30 исполнение 2 | В наличии | |
| ОСТ 1 31037-78 | Болт | 5х31 исполнение 2 | В наличии | |
| ОСТ 1 31037-78 | Болт | 5х32 исполнение 2 | В наличии | |
| ОСТ 1 31037-78 | Болт | 5х33 исполнение 2 | В наличии | |
| ОСТ 1 31037-78 | Болт | 5х34 исполнение 2 | В наличии | |
| ОСТ 1 31037-78 | Болт | 5х35 исполнение 2 | В наличии | |
| ОСТ 1 31037-78 | Болт | 5х36 исполнение 2 | В наличии | |
| ОСТ 1 31037-78 | Болт | 6х17 исполнение 1 | В наличии | |
| ОСТ 1 31037-78 | Болт | 6х18 исполнение 1 | В наличии | |
| ОСТ 1 31037-78 | Болт | 6х19 исполнение 1 | В наличии | |
| ОСТ 1 31037-78 | Болт | 6х20 исполнение 1 | В наличии | |
| ОСТ 1 31037-78 | Болт | 6х21 исполнение 1 | В наличии | |
| ОСТ 1 31037-78 | Болт | 6х22 исполнение 1 | В наличии | |
| ОСТ 1 31037-78 | Болт | 6х23 исполнение 1 | В наличии | |
| ОСТ 1 31037-78 | Болт | 6х24 исполнение 1 | В наличии | |
| ОСТ 1 31037-78 | Болт | 6х25 исполнение 1 | В наличии | |
| ОСТ 1 31037-78 | Болт | 6х26 исполнение 1 | В наличии | |
| ОСТ 1 31037-78 | Болт | 6х27 исполнение 1 | В наличии | |
| ОСТ 1 31037-78 | Болт | 6х28 исполнение 1 | В наличии | |
| ОСТ 1 31037-78 | Болт | 6х29 исполнение 1 | В наличии | |
| ОСТ 1 31037-78 | Болт | 6х30 исполнение 1 | В наличии | |
| ОСТ 1 31037-78 | Болт | 6х31 исполнение 1 | В наличии | |
| ОСТ 1 31037-78 | Болт | 6х32 исполнение 1 | В наличии | |
| ОСТ 1 31037-78 | Болт | 6х33 исполнение 1 | В наличии | |
| ОСТ 1 31037-78 | Болт | 6х34 исполнение 1 | В наличии | |
| ОСТ 1 31037-78 | Болт | 6х35 исполнение 1 | В наличии | |
| ОСТ 1 31037-78 | Болт | 6х36 исполнение 1 | В наличии | |
| ОСТ 1 31037-78 | Болт | 6х17 исполнение 2 | В наличии | |
| ОСТ 1 31037-78 | Болт | 6х18 исполнение 2 | В наличии | |
| ОСТ 1 31037-78 | Болт | 6х19 исполнение 2 | В наличии | |
| ОСТ 1 31037-78 | Болт | 6х20 исполнение 2 | В наличии | |
| ОСТ 1 31037-78 | Болт | 6х21 исполнение 2 | В наличии | |
| ОСТ 1 31037-78 | Болт | 6х22 исполнение 2 | В наличии | |
| ОСТ 1 31037-78 | Болт | 6х23 исполнение 2 | В наличии | |
| ОСТ 1 31037-78 | Болт | 6х24 исполнение 2 | В наличии | |
| ОСТ 1 31037-78 | Болт | 6х25 исполнение 2 | В наличии | |
| ОСТ 1 31037-78 | Болт | 6х26 исполнение 2 | В наличии | |
| ОСТ 1 31037-78 | Болт | 6х27 исполнение 2 | В наличии | |
| ОСТ 1 31037-78 | Болт | 6х28 исполнение 2 | В наличии | |
| ОСТ 1 31037-78 | Болт | 6х29 исполнение 2 | В наличии | |
| ОСТ 1 31037-78 | Болт | 6х30 исполнение 2 | В наличии | |
| ОСТ 1 31037-78 | Болт | 6х31 исполнение 2 | В наличии | |
| ОСТ 1 31037-78 | Болт | 6х32 исполнение 2 | В наличии | |
| ОСТ 1 31037-78 | Болт | 6х33 исполнение 2 | В наличии | |
| ОСТ 1 31037-78 | Болт | 6х34 исполнение 2 | В наличии | |
| ОСТ 1 31037-78 | Болт | 6х35 исполнение 2 | В наличии | |
| ОСТ 1 31037-78 | Болт | 6х36 исполнение 2 | В наличии | |
| ОСТ 1 31037-78 | Болт | 8х20 исполнение 1 | В наличии | |
| ОСТ 1 31037-78 | Болт | 8х21 исполнение 1 | В наличии | |
| ОСТ 1 31037-78 | Болт | 8х22 исполнение 1 | В наличии | |
| ОСТ 1 31037-78 | Болт | 8х23 исполнение 1 | В наличии | |
| ОСТ 1 31037-78 | Болт | 8х24 исполнение 1 | В наличии | |
| ОСТ 1 31037-78 | Болт | 8х25 исполнение 1 | В наличии | |
| ОСТ 1 31037-78 | Болт | 8х26 исполнение 1 | В наличии | |
| ОСТ 1 31037-78 | Болт | 8х27 исполнение 1 | В наличии | |
| ОСТ 1 31037-78 | Болт | 8х28 исполнение 1 | В наличии | |
| ОСТ 1 31037-78 | Болт | 8х29 исполнение 1 | В наличии | |
| ОСТ 1 31037-78 | Болт | 8х30 исполнение 1 | В наличии | |
| ОСТ 1 31037-78 | Болт | 8х31 исполнение 1 | В наличии | |
| ОСТ 1 31037-78 | Болт | 8х32 исполнение 1 | В наличии | |
| ОСТ 1 31037-78 | Болт | 8х33 исполнение 1 | В наличии | |
| ОСТ 1 31037-78 | Болт | 8х34 исполнение 1 | В наличии | |
| ОСТ 1 31037-78 | Болт | 8х35 исполнение 1 | В наличии | |
| ОСТ 1 31037-78 | Болт | 8х36 исполнение 1 | В наличии | |
| ОСТ 1 31037-78 | Болт | 8х20 исполнение 2 | В наличии | |
| ОСТ 1 31037-78 | Болт | 8х21 исполнение 2 | В наличии | |
| ОСТ 1 31037-78 | Болт | 8х22 исполнение 2 | В наличии | |
| ОСТ 1 31037-78 | Болт | 8х23 исполнение 2 | В наличии | |
| ОСТ 1 31037-78 | Болт | 8х24 исполнение 2 | В наличии | |
| ОСТ 1 31037-78 | Болт | 8х25 исполнение 2 | В наличии | |
| ОСТ 1 31037-78 | Болт | 8х26 исполнение 2 | В наличии | |
| ОСТ 1 31037-78 | Болт | 8х27 исполнение 2 | В наличии | |
| ОСТ 1 31037-78 | Болт | 8х28 исполнение 2 | В наличии | |
| ОСТ 1 31037-78 | Болт | 8х29 исполнение 2 | В наличии | |
| ОСТ 1 31037-78 | Болт | 8х30 исполнение 2 | В наличии | |
| ОСТ 1 31037-78 | Болт | 8х31 исполнение 2 | В наличии | |
| ОСТ 1 31037-78 | Болт | 8х32 исполнение 2 | В наличии | |
| ОСТ 1 31037-78 | Болт | 8х33 исполнение 2 | В наличии | |
| ОСТ 1 31037-78 | Болт | 8х34 исполнение 2 | В наличии | |
| ОСТ 1 31037-78 | Болт | 8х35 исполнение 2 | В наличии | |
| ОСТ 1 31037-78 | Болт | 8х36 исполнение 2 | В наличии | |
| ОСТ 1 31037-78 | Болт | 10х26 исполнение 1 | В наличии | |
| ОСТ 1 31037-78 | Болт | 10х27 исполнение 1 | В наличии | |
| ОСТ 1 31037-78 | Болт | 10х28 исполнение 1 | В наличии | |
| ОСТ 1 31037-78 | Болт | 10х29 исполнение 1 | В наличии | |
| ОСТ 1 31037-78 | Болт | 10х30 исполнение 1 | В наличии | |
| ОСТ 1 31037-78 | Болт | 10х31 исполнение 1 | В наличии | |
| ОСТ 1 31037-78 | Болт | 10х32 исполнение 1 | В наличии | |
| ОСТ 1 31037-78 | Болт | 10х33 исполнение 1 | В наличии | |
| ОСТ 1 31037-78 | Болт | 10х34 исполнение 1 | В наличии | |
| ОСТ 1 31037-78 | Болт | 10х35 исполнение 1 | В наличии | |
| ОСТ 1 31037-78 | Болт | 10х36 исполнение 1 | В наличии | |
| ОСТ 1 31037-78 | Болт | 10х26 исполнение 2 | В наличии | |
| ОСТ 1 31037-78 | Болт | 10х27 исполнение 2 | В наличии | |
| ОСТ 1 31037-78 | Болт | 10х28 исполнение 2 | В наличии | |
| ОСТ 1 31037-78 | Болт | 10х29 исполнение 2 | В наличии | |
| ОСТ 1 31037-78 | Болт | 10х30 исполнение 2 | В наличии | |
| ОСТ 1 31037-78 | Болт | 10х31 исполнение 2 | В наличии | |
| ОСТ 1 31037-78 | Болт | 10х32 исполнение 2 | В наличии | |
| ОСТ 1 31037-78 | Болт | 10х33 исполнение 2 | В наличии | |
| ОСТ 1 31037-78 | Болт | 10х34 исполнение 2 | В наличии | |
| ОСТ 1 31037-78 | Болт | 10х35 исполнение 2 | В наличии | |
| ОСТ 1 31037-78 | Болт | 10х36 исполнение 2 | В наличии | |
| ОСТ 1 31037-78 | Болт | 12х1,5х30 исполнение 1 | В наличии | |
| ОСТ 1 31037-78 | Болт | 12х1,5х31 исполнение 1 | В наличии | |
| ОСТ 1 31037-78 | Болт | 12х1,5х32 исполнение 1 | В наличии | |
| ОСТ 1 31037-78 | Болт | 12х1,5х33 исполнение 1 | В наличии | |
| ОСТ 1 31037-78 | Болт | 12х1,5х34 исполнение 1 | В наличии | |
| ОСТ 1 31037-78 | Болт | 12х1,5х35 исполнение 1 | В наличии | |
| ОСТ 1 31037-78 | Болт | 12х1,5х36 исполнение 1 | В наличии | |
| ОСТ 1 31037-78 | Болт | 12х1,5х30 исполнение 2 | В наличии | |
| ОСТ 1 31037-78 | Болт | 12х1,5х31 исполнение 2 | В наличии | |
| ОСТ 1 31037-78 | Болт | 12х1,5х32 исполнение 2 | В наличии | |
| ОСТ 1 31037-78 | Болт | 12х1,5х33 исполнение 2 | В наличии | |
| ОСТ 1 31037-78 | Болт | 12х1,5х34 исполнение 2 | В наличии | |
| ОСТ 1 31037-78 | Болт | 12х1,5х35 исполнение 2 | В наличии | |
| ОСТ 1 31037-78 | Болт | 12х1,5х36 исполнение 2 | В наличии | |
| ОСТ 1 31037-78 | Болт | 14х1,5х32 исполнение 1 | В наличии | |
| ОСТ 1 31037-78 | Болт | 14х1,5х33 исполнение 1 | В наличии | |
| ОСТ 1 31037-78 | Болт | 14х1,5х34 исполнение 1 | В наличии | |
| ОСТ 1 31037-78 | Болт | 14х1,5х35 исполнение 1 | В наличии | |
| ОСТ 1 31037-78 | Болт | 14х1,5х36 исполнение 1 | В наличии | |
| ОСТ 1 31037-78 | Болт | 14х1,5х32 исполнение 2 | В наличии | |
| ОСТ 1 31037-78 | Болт | 14х1,5х33 исполнение 2 | В наличии | |
| ОСТ 1 31037-78 | Болт | 14х1,5х34 исполнение 2 | В наличии | |
| ОСТ 1 31037-78 | Болт | 14х1,5х35 исполнение 2 | В наличии | |
| ОСТ 1 31037-78 | Болт | 14х1,5х36 исполнение 2 | В наличии | |
| ОСТ 1 31037-78 | Болт | 16х1,5х34 исполнение 1 | В наличии | |
| ОСТ 1 31037-78 | Болт | 16х1,5х35 исполнение 1 | В наличии | |
| ОСТ 1 31037-78 | Болт | 16х1,5х36 исполнение 1 | В наличии | |
| ОСТ 1 31037-78 | Болт | 16х1,5х34 исполнение 2 | В наличии | |
| ОСТ 1 31037-78 | Болт | 16х1,5х35 исполнение 2 | В наличии | |
| ОСТ 1 31037-78 | Болт | 16х1,5х36 исполнение 2 | В наличии | |
| ОСТ 1 31037-78 | Болт | 5х37 исполнение 1 | В наличии | |
| ОСТ 1 31037-78 | Болт | 5х38 исполнение 1 | В наличии | |
| ОСТ 1 31037-78 | Болт | 5х39 исполнение 1 | В наличии | |
| ОСТ 1 31037-78 | Болт | 5х40 исполнение 1 | В наличии | |
| ОСТ 1 31037-78 | Болт | 5х42 исполнение 1 | В наличии | |
| ОСТ 1 31037-78 | Болт | 5х44 исполнение 1 | В наличии | |
| ОСТ 1 31037-78 | Болт | 5х46 исполнение 1 | В наличии | |
| ОСТ 1 31037-78 | Болт | 5х48 исполнение 1 | В наличии | |
| ОСТ 1 31037-78 | Болт | 5х50 исполнение 1 | В наличии | |
| ОСТ 1 31037-78 | Болт | 5х52 исполнение 1 | В наличии | |
| ОСТ 1 31037-78 | Болт | 5х54 исполнение 1 | В наличии | |
| ОСТ 1 31037-78 | Болт | 5х56 исполнение 1 | В наличии | |
| ОСТ 1 31037-78 | Болт | 5х58 исполнение 1 | В наличии | |
| ОСТ 1 31037-78 | Болт | 5х37 исполнение 2 | В наличии | |
| ОСТ 1 31037-78 | Болт | 5х38 исполнение 2 | В наличии | |
| ОСТ 1 31037-78 | Болт | 5х39 исполнение 2 | В наличии | |
| ОСТ 1 31037-78 | Болт | 5х40 исполнение 2 | В наличии | |
| ОСТ 1 31037-78 | Болт | 5х42 исполнение 2 | В наличии | |
| ОСТ 1 31037-78 | Болт | 5х44 исполнение 2 | В наличии | |
| ОСТ 1 31037-78 | Болт | 5х46 исполнение 2 | В наличии | |
| ОСТ 1 31037-78 | Болт | 5х48 исполнение 2 | В наличии | |
| ОСТ 1 31037-78 | Болт | 5х50 исполнение 2 | В наличии | |
| ОСТ 1 31037-78 | Болт | 5х52 исполнение 2 | В наличии | |
| ОСТ 1 31037-78 | Болт | 5х54 исполнение 2 | В наличии | |
| ОСТ 1 31037-78 | Болт | 5х56 исполнение 2 | В наличии | |
| ОСТ 1 31037-78 | Болт | 5х58 исполнение 2 | В наличии | |
| ОСТ 1 31037-78 | Болт | 6х37 исполнение 1 | В наличии | |
| ОСТ 1 31037-78 | Болт | 6х38 исполнение 1 | В наличии | |
| ОСТ 1 31037-78 | Болт | 6х39 исполнение 1 | В наличии | |
| ОСТ 1 31037-78 | Болт | 6х40 исполнение 1 | В наличии | |
| ОСТ 1 31037-78 | Болт | 6х41 исполнение 1 | В наличии | |
| ОСТ 1 31037-78 | Болт | 6х42 исполнение 1 | В наличии | |
| ОСТ 1 31037-78 | Болт | 6х44 исполнение 1 | В наличии | |
| ОСТ 1 31037-78 | Болт | 6х46 исполнение 1 | В наличии | |
| ОСТ 1 31037-78 | Болт | 6х48 исполнение 1 | В наличии | |
| ОСТ 1 31037-78 | Болт | 6х50 исполнение 1 | В наличии | |
| ОСТ 1 31037-78 | Болт | 6х52 исполнение 1 | В наличии | |
| ОСТ 1 31037-78 | Болт | 6х54 исполнение 1 | В наличии | |
| ОСТ 1 31037-78 | Болт | 6х56 исполнение 1 | В наличии | |
| ОСТ 1 31037-78 | Болт | 6х58 исполнение 1 | В наличии | |
| ОСТ 1 31037-78 | Болт | 6х37 исполнение 2 | В наличии | |
| ОСТ 1 31037-78 | Болт | 6х38 исполнение 2 | В наличии | |
| ОСТ 1 31037-78 | Болт | 6х39 исполнение 2 | В наличии | |
| ОСТ 1 31037-78 | Болт | 6х40 исполнение 2 | В наличии | |
| ОСТ 1 31037-78 | Болт | 6х41 исполнение 2 | В наличии | |
| ОСТ 1 31037-78 | Болт | 6х42 исполнение 2 | В наличии | |
| ОСТ 1 31037-78 | Болт | 6х44 исполнение 2 | В наличии | |
| ОСТ 1 31037-78 | Болт | 6х46 исполнение 2 | В наличии | |
| ОСТ 1 31037-78 | Болт | 6х48 исполнение 2 | В наличии | |
| ОСТ 1 31037-78 | Болт | 6х50 исполнение 2 | В наличии | |
| ОСТ 1 31037-78 | Болт | 6х52 исполнение 2 | В наличии | |
| ОСТ 1 31037-78 | Болт | 6х54 исполнение 2 | В наличии | |
| ОСТ 1 31037-78 | Болт | 6х56 исполнение 2 | В наличии | |
| ОСТ 1 31037-78 | Болт | 6х58 исполнение 2 | В наличии | |
| ОСТ 1 31037-78 | Болт | 8х37 исполнение 1 | В наличии | |
| ОСТ 1 31037-78 | Болт | 8х38 исполнение 1 | В наличии | |
| ОСТ 1 31037-78 | Болт | 8х39 исполнение 1 | В наличии | |
| ОСТ 1 31037-78 | Болт | 8х40 исполнение 1 | В наличии | |
| ОСТ 1 31037-78 | Болт | 8х41 исполнение 1 | В наличии | |
| ОСТ 1 31037-78 | Болт | 8х42 исполнение 1 | В наличии | |
| ОСТ 1 31037-78 | Болт | 8х43 исполнение 1 | В наличии | |
| ОСТ 1 31037-78 | Болт | 8х44 исполнение 1 | В наличии | |
| ОСТ 1 31037-78 | Болт | 8х46 исполнение 1 | В наличии | |
| ОСТ 1 31037-78 | Болт | 8х48 исполнение 1 | В наличии | |
| ОСТ 1 31037-78 | Болт | 8х50 исполнение 1 | В наличии | |
| ОСТ 1 31037-78 | Болт | 8х52 исполнение 1 | В наличии | |
| ОСТ 1 31037-78 | Болт | 8х54 исполнение 1 | В наличии | |
| ОСТ 1 31037-78 | Болт | 8х58 исполнение 1 | В наличии | |
| ОСТ 1 31037-78 | Болт | 8х58 исполнение 1 | В наличии | |
| ОСТ 1 31037-78 | Болт | 8х37 исполнение 2 | В наличии | |
| ОСТ 1 31037-78 | Болт | 8х38 исполнение 2 | В наличии | |
| ОСТ 1 31037-78 | Болт | 8х39 исполнение 2 | В наличии | |
| ОСТ 1 31037-78 | Болт | 8х40 исполнение 2 | В наличии | |
| ОСТ 1 31037-78 | Болт | 8х41 исполнение 2 | В наличии | |
| ОСТ 1 31037-78 | Болт | 8х42 исполнение 2 | В наличии | |
| ОСТ 1 31037-78 | Болт | 8х43 исполнение 2 | В наличии | |
| ОСТ 1 31037-78 | Болт | 8х44 исполнение 2 | В наличии | |
| ОСТ 1 31037-78 | Болт | 8х46 исполнение 2 | В наличии | |
| ОСТ 1 31037-78 | Болт | 8х48 исполнение 2 | В наличии | |
| ОСТ 1 31037-78 | Болт | 8х50 исполнение 2 | В наличии | |
| ОСТ 1 31037-78 | Болт | 8х52 исполнение 2 | В наличии | |
| ОСТ 1 31037-78 | Болт | 8х54 исполнение 2 | В наличии | |
| ОСТ 1 31037-78 | Болт | 8х58 исполнение 2 | В наличии | |
| ОСТ 1 31037-78 | Болт | 8х58 исполнение 2 | В наличии | |
| ОСТ 1 31037-78 | Болт | 10х37 исполнение 1 | В наличии | |
| ОСТ 1 31037-78 | Болт | 10х38 исполнение 1 | В наличии | |
| ОСТ 1 31037-78 | Болт | 10х39 исполнение 1 | В наличии | |
| ОСТ 1 31037-78 | Болт | 10х40 исполнение 1 | В наличии | |
| ОСТ 1 31037-78 | Болт | 10х41 исполнение 1 | В наличии | |
| ОСТ 1 31037-78 | Болт | 10х42 исполнение 1 | В наличии | |
| ОСТ 1 31037-78 | Болт | 10х43 исполнение 1 | В наличии | |
| ОСТ 1 31037-78 | Болт | 10х44 исполнение 1 | В наличии | |
| ОСТ 1 31037-78 | Болт | 10х45 исполнение 1 | В наличии | |
| ОСТ 1 31037-78 | Болт | 10х46 исполнение 1 | В наличии | |
| ОСТ 1 31037-78 | Болт | 10х47 исполнение 1 | В наличии | |
| ОСТ 1 31037-78 | Болт | 10х48 исполнение 1 | В наличии | |
| ОСТ 1 31037-78 | Болт | 10х50 исполнение 1 | В наличии | |
| ОСТ 1 31037-78 | Болт | 10х52 исполнение 1 | В наличии | |
| ОСТ 1 31037-78 | Болт | 10х54 исполнение 1 | В наличии | |
| ОСТ 1 31037-78 | Болт | 10х56 исполнение 1 | В наличии | |
| ОСТ 1 31037-78 | Болт | 10х58 исполнение 1 | В наличии | |
| ОСТ 1 31037-78 | Болт | 10х37 исполнение 2 | В наличии | |
| ОСТ 1 31037-78 | Болт | 10х38 исполнение 2 | В наличии | |
| ОСТ 1 31037-78 | Болт | 10х39 исполнение 2 | В наличии | |
| ОСТ 1 31037-78 | Болт | 10х40 исполнение 2 | В наличии | |
| ОСТ 1 31037-78 | Болт | 10х41 исполнение 2 | В наличии | |
| ОСТ 1 31037-78 | Болт | 10х42 исполнение 2 | В наличии | |
| ОСТ 1 31037-78 | Болт | 10х43 исполнение 2 | В наличии | |
| ОСТ 1 31037-78 | Болт | 10х44 исполнение 2 | В наличии | |
| ОСТ 1 31037-78 | Болт | 10х45 исполнение 2 | В наличии | |
| ОСТ 1 31037-78 | Болт | 10х46 исполнение 2 | В наличии | |
| ОСТ 1 31037-78 | Болт | 10х47 исполнение 2 | В наличии | |
| ОСТ 1 31037-78 | Болт | 10х48 исполнение 2 | В наличии | |
| ОСТ 1 31037-78 | Болт | 10х50 исполнение 2 | В наличии | |
| ОСТ 1 31037-78 | Болт | 10х52 исполнение 2 | В наличии | |
| ОСТ 1 31037-78 | Болт | 10х54 исполнение 2 | В наличии | |
| ОСТ 1 31037-78 | Болт | 10х56 исполнение 2 | В наличии | |
| ОСТ 1 31037-78 | Болт | 10х58 исполнение 2 | В наличии | |
| ОСТ 1 31037-78 | Болт | 12х1,5х37 исполнение 1 | В наличии | |
| ОСТ 1 31037-78 | Болт | 12х1,5х38 исполнение 1 | В наличии | |
| ОСТ 1 31037-78 | Болт | 12х1,5х39 исполнение 1 | В наличии | |
| ОСТ 1 31037-78 | Болт | 12х1,5х40 исполнение 1 | В наличии | |
| ОСТ 1 31037-78 | Болт | 12х1,5х41 исполнение 1 | В наличии | |
| ОСТ 1 31037-78 | Болт | 12х1,5х42 исполнение 1 | В наличии | |
| ОСТ 1 31037-78 | Болт | 12х1,5х43 исполнение 1 | В наличии | |
| ОСТ 1 31037-78 | Болт | 12х1,5х44 исполнение 1 | В наличии | |
| ОСТ 1 31037-78 | Болт | 12х1,5х45 исполнение 1 | В наличии | |
| ОСТ 1 31037-78 | Болт | 12х1,5х46 исполнение 1 | В наличии | |
| ОСТ 1 31037-78 | Болт | 12х1,5х47 исполнение 1 | В наличии | |
| ОСТ 1 31037-78 | Болт | 12х1,5х48 исполнение 1 | В наличии | |
| ОСТ 1 31037-78 | Болт | 12х1,5х49 исполнение 1 | В наличии | |
| ОСТ 1 31037-78 | Болт | 12х1,5х50 исполнение 1 | В наличии | |
| ОСТ 1 31037-78 | Болт | 12х1,5х52 исполнение 1 | В наличии | |
| ОСТ 1 31037-78 | Болт | 12х1,5х54 исполнение 1 | В наличии | |
| ОСТ 1 31037-78 | Болт | 12х1,5х56 исполнение 1 | В наличии | |
| ОСТ 1 31037-78 | Болт | 12х1,5х58 исполнение 1 | В наличии | |
| ОСТ 1 31037-78 | Болт | 12х1,5х37 исполнение 2 | В наличии | |
| ОСТ 1 31037-78 | Болт | 12х1,5х38 исполнение 2 | В наличии | |
| ОСТ 1 31037-78 | Болт | 12х1,5х40 исполнение 2 | В наличии | |
| ОСТ 1 31037-78 | Болт | 12х1,5х41 исполнение 2 | В наличии | |
| ОСТ 1 31037-78 | Болт | 12х1,5х42 исполнение 2 | В наличии | |
| ОСТ 1 31037-78 | Болт | 12х1,5х43 исполнение 2 | В наличии | |
| ОСТ 1 31037-78 | Болт | 12х1,5х44 исполнение 2 | В наличии | |
| ОСТ 1 31037-78 | Болт | 12х1,5х45 исполнение 2 | В наличии | |
| ОСТ 1 31037-78 | Болт | 12х1,5х46 исполнение 2 | В наличии | |
| ОСТ 1 31037-78 | Болт | 12х1,5х47 исполнение 2 | В наличии | |
| ОСТ 1 31037-78 | Болт | 12х1,5х48 исполнение 2 | В наличии | |
| ОСТ 1 31037-78 | Болт | 12х1,5х49 исполнение 2 | В наличии | |
| ОСТ 1 31037-78 | Болт | 12х1,5х50 исполнение 2 | В наличии | |
| ОСТ 1 31037-78 | Болт | 12х1,5х52 исполнение 2 | В наличии | |
| ОСТ 1 31037-78 | Болт | 12х1,5х54 исполнение 2 | В наличии | |
| ОСТ 1 31037-78 | Болт | 12х1,5х56 исполнение 2 | В наличии | |
| ОСТ 1 31037-78 | Болт | 12х1,5х58 исполнение 2 | В наличии | |
| ОСТ 1 31037-78 | Болт | 14х1,5х37 исполнение 1 | В наличии | |
| ОСТ 1 31037-78 | Болт | 14х1,5х38 исполнение 1 | В наличии | |
| ОСТ 1 31037-78 | Болт | 14х1,5х39 исполнение 1 | В наличии | |
| ОСТ 1 31037-78 | Болт | 14х1,5х40 исполнение 1 | В наличии | |
| ОСТ 1 31037-78 | Болт | 14х1,5х41 исполнение 1 | В наличии | |
| ОСТ 1 31037-78 | Болт | 14х1,5х42 исполнение 1 | В наличии | |
| ОСТ 1 31037-78 | Болт | 14х1,5х43 исполнение 1 | В наличии | |
| ОСТ 1 31037-78 | Болт | 14х1,5х44 исполнение 1 | В наличии | |
| ОСТ 1 31037-78 | Болт | 14х1,5х45 исполнение 1 | В наличии | |
| ОСТ 1 31037-78 | Болт | 14х1,5х46 исполнение 1 | В наличии | |
| ОСТ 1 31037-78 | Болт | 14х1,5х47 исполнение 1 | В наличии | |
| ОСТ 1 31037-78 | Болт | 14х1,5х48 исполнение 1 | В наличии | |
| ОСТ 1 31037-78 | Болт | 14х1,5х49 исполнение 1 | В наличии | |
| ОСТ 1 31037-78 | Болт | 14х1,5х50 исполнение 1 | В наличии | |
| ОСТ 1 31037-78 | Болт | 14х1,5х51 исполнение 1 | В наличии | |
| ОСТ 1 31037-78 | Болт | 14х1,5х52 исполнение 1 | В наличии | |
| ОСТ 1 31037-78 | Болт | 14х1,5х54 исполнение 1 | В наличии | |
| ОСТ 1 31037-78 | Болт | 14х1,5х53 исполнение 1 | В наличии | |
| ОСТ 1 31037-78 | Болт | 14х1,5х58 исполнение 1 | В наличии | |
| ОСТ 1 31037-78 | Болт | 14х1,5х37 исполнение 2 | В наличии | |
| ОСТ 1 31037-78 | Болт | 14х1,5х38 исполнение 2 | В наличии | |
| ОСТ 1 31037-78 | Болт | 14х1,5х39 исполнение 2 | В наличии | |
| ОСТ 1 31037-78 | Болт | 14х1,5х40 исполнение 2 | В наличии | |
| ОСТ 1 31037-78 | Болт | 14х1,5х41 исполнение 2 | В наличии | |
| ОСТ 1 31037-78 | Болт | 14х1,5х42 исполнение 2 | В наличии | |
| ОСТ 1 31037-78 | Болт | 14х1,5х43 исполнение 2 | В наличии | |
| ОСТ 1 31037-78 | Болт | 14х1,5х44 исполнение 2 | В наличии | |
| ОСТ 1 31037-78 | Болт | 14х1,5х45 исполнение 2 | В наличии | |
| ОСТ 1 31037-78 | Болт | 14х1,5х46 исполнение 2 | В наличии | |
| ОСТ 1 31037-78 | Болт | 14х1,5х47 исполнение 2 | В наличии | |
| ОСТ 1 31037-78 | Болт | 14х1,5х48 исполнение 2 | В наличии | |
| ОСТ 1 31037-78 | Болт | 14х1,5х49 исполнение 2 | В наличии | |
| ОСТ 1 31037-78 | Болт | 14х1,5х50 исполнение 2 | В наличии | |
| ОСТ 1 31037-78 | Болт | 14х1,5х51 исполнение 2 | В наличии | |
| ОСТ 1 31037-78 | Болт | 14х1,5х52 исполнение 2 | В наличии | |
| ОСТ 1 31037-78 | Болт | 14х1,5х54 исполнение 2 | В наличии | |
| ОСТ 1 31037-78 | Болт | 14х1,5х53 исполнение 2 | В наличии | |
| ОСТ 1 31037-78 | Болт | 14х1,5х58 исполнение 2 | В наличии | |
| ОСТ 1 31037-78 | Болт | 16х1,5х37 исполнение 1 | В наличии | |
| ОСТ 1 31037-78 | Болт | 16х1,5х38 исполнение 1 | В наличии | |
| ОСТ 1 31037-78 | Болт | 16х1,5х39 исполнение 1 | В наличии | |
| ОСТ 1 31037-78 | Болт | 16х1,5х40 исполнение 1 | В наличии | |
| ОСТ 1 31037-78 | Болт | 16х1,5х41 исполнение 1 | В наличии | |
| ОСТ 1 31037-78 | Болт | 16х1,5х42 исполнение 1 | В наличии | |
| ОСТ 1 31037-78 | Болт | 16х1,5х43 исполнение 1 | В наличии | |
| ОСТ 1 31037-78 | Болт | 16х1,5х44 исполнение 1 | В наличии | |
| ОСТ 1 31037-78 | Болт | 16х1,5х45 исполнение 1 | В наличии | |
| ОСТ 1 31037-78 | Болт | 16х1,5х46 исполнение 1 | В наличии | |
| ОСТ 1 31037-78 | Болт | 16х1,5х47 исполнение 1 | В наличии | |
| ОСТ 1 31037-78 | Болт | 16х1,5х48 исполнение 1 | В наличии | |
| ОСТ 1 31037-78 | Болт | 16х1,5х49 исполнение 1 | В наличии | |
| ОСТ 1 31037-78 | Болт | 16х1,5х50 исполнение 1 | В наличии | |
| ОСТ 1 31037-78 | Болт | 16х1,5х51 исполнение 1 | В наличии | |
| ОСТ 1 31037-78 | Болт | 16х1,5х52 исполнение 1 | В наличии | |
| ОСТ 1 31037-78 | Болт | 16х1,5х53 исполнение 1 | В наличии | |
| ОСТ 1 31037-78 | Болт | 16х1,5х54 исполнение 1 | В наличии | |
| ОСТ 1 31037-78 | Болт | 16х1,5х56 исполнение 1 | В наличии | |
| ОСТ 1 31037-78 | Болт | 16х1,5х58 исполнение 1 | В наличии | |
| ОСТ 1 31037-78 | Болт | 16х1,5х37 исполнение 2 | В наличии | |
| ОСТ 1 31037-78 | Болт | 16х1,5х38 исполнение 2 | В наличии | |
| ОСТ 1 31037-78 | Болт | 16х1,5х39 исполнение 2 | В наличии | |
| ОСТ 1 31037-78 | Болт | 16х1,5х40 исполнение 2 | В наличии | |
| ОСТ 1 31037-78 | Болт | 16х1,5х41 исполнение 2 | В наличии | |
| ОСТ 1 31037-78 | Болт | 16х1,5х42 исполнение 2 | В наличии | |
| ОСТ 1 31037-78 | Болт | 16х1,5х43 исполнение 2 | В наличии | |
| ОСТ 1 31037-78 | Болт | 16х1,5х44 исполнение 2 | В наличии | |
| ОСТ 1 31037-78 | Болт | 16х1,5х45 исполнение 2 | В наличии | |
| ОСТ 1 31037-78 | Болт | 16х1,5х46 исполнение 2 | В наличии | |
| ОСТ 1 31037-78 | Болт | 16х1,5х47 исполнение 2 | В наличии | |
| ОСТ 1 31037-78 | Болт | 16х1,5х48 исполнение 2 | В наличии | |
| ОСТ 1 31037-78 | Болт | 16х1,5х49 исполнение 2 | В наличии | |
| ОСТ 1 31037-78 | Болт | 16х1,5х50 исполнение 2 | В наличии | |
| ОСТ 1 31037-78 | Болт | 16х1,5х51 исполнение 2 | В наличии | |
| ОСТ 1 31037-78 | Болт | 16х1,5х52 исполнение 2 | В наличии | |
| ОСТ 1 31037-78 | Болт | 16х1,5х53 исполнение 2 | В наличии | |
| ОСТ 1 31037-78 | Болт | 16х1,5х54 исполнение 2 | В наличии | |
| ОСТ 1 31037-78 | Болт | 16х1,5х56 исполнение 2 | В наличии | |
| ОСТ 1 31037-78 | Болт | 16х1,5х58 исполнение 2 | В наличии | |
| ОСТ 1 31037-78 | Болт | 18х1,5х37 исполнение 1 | В наличии | |
| ОСТ 1 31037-78 | Болт | 18х1,5х38 исполнение 1 | В наличии | |
| ОСТ 1 31037-78 | Болт | 18х1,5х39 исполнение 1 | В наличии | |
| ОСТ 1 31037-78 | Болт | 18х1,5х40 исполнение 1 | В наличии | |
| ОСТ 1 31037-78 | Болт | 18х1,5х41 исполнение 1 | В наличии | |
| ОСТ 1 31037-78 | Болт | 18х1,5х42 исполнение 1 | В наличии | |
| ОСТ 1 31037-78 | Болт | 18х1,5х43 исполнение 1 | В наличии | |
| ОСТ 1 31037-78 | Болт | 18х1,5х44 исполнение 1 | В наличии | |
| ОСТ 1 31037-78 | Болт | 18х1,5х45 исполнение 1 | В наличии | |
| ОСТ 1 31037-78 | Болт | 18х1,5х46 исполнение 1 | В наличии | |
| ОСТ 1 31037-78 | Болт | 18х1,5х47 исполнение 1 | В наличии | |
| ОСТ 1 31037-78 | Болт | 18х1,5х48 исполнение 1 | В наличии | |
| ОСТ 1 31037-78 | Болт | 18х1,5х49 исполнение 1 | В наличии | |
| ОСТ 1 31037-78 | Болт | 18х1,5х50 исполнение 1 | В наличии | |
| ОСТ 1 31037-78 | Болт | 18х1,5х51 исполнение 1 | В наличии | |
| ОСТ 1 31037-78 | Болт | 18х1,5х52 исполнение 1 | В наличии | |
| ОСТ 1 31037-78 | Болт | 18х1,5х53 исполнение 1 | В наличии | |
| ОСТ 1 31037-78 | Болт | 18х1,5х54 исполнение 1 | В наличии | |
| ОСТ 1 31037-78 | Болт | 18х1,5х55 исполнение 1 | В наличии | |
| ОСТ 1 31037-78 | Болт | 18х1,5х56 исполнение 1 | В наличии | |
| ОСТ 1 31037-78 | Болт | 18х1,5х58 исполнение 1 | В наличии | |
| ОСТ 1 31037-78 | Болт | 18х1,5х37 исполнение 2 | В наличии | |
| ОСТ 1 31037-78 | Болт | 18х1,5х38 исполнение 2 | В наличии | |
| ОСТ 1 31037-78 | Болт | 18х1,5х39 исполнение 2 | В наличии | |
| ОСТ 1 31037-78 | Болт | 18х1,5х40 исполнение 2 | В наличии | |
| ОСТ 1 31037-78 | Болт | 18х1,5х41 исполнение 2 | В наличии | |
| ОСТ 1 31037-78 | Болт | 18х1,5х42 исполнение 2 | В наличии | |
| ОСТ 1 31037-78 | Болт | 18х1,5х43 исполнение 2 | В наличии | |
| ОСТ 1 31037-78 | Болт | 18х1,5х44 исполнение 2 | В наличии | |
| ОСТ 1 31037-78 | Болт | 18х1,5х45 исполнение 2 | В наличии | |
| ОСТ 1 31037-78 | Болт | 18х1,5х46 исполнение 2 | В наличии | |
| ОСТ 1 31037-78 | Болт | 18х1,5х47 исполнение 2 | В наличии | |
| ОСТ 1 31037-78 | Болт | 18х1,5х48 исполнение 2 | В наличии | |
| ОСТ 1 31037-78 | Болт | 18х1,5х49 исполнение 2 | В наличии | |
| ОСТ 1 31037-78 | Болт | 18х1,5х50 исполнение 2 | В наличии | |
| ОСТ 1 31037-78 | Болт | 18х1,5х51 исполнение 2 | В наличии | |
| ОСТ 1 31037-78 | Болт | 18х1,5х52 исполнение 2 | В наличии | |
| ОСТ 1 31037-78 | Болт | 18х1,5х53 исполнение 2 | В наличии | |
| ОСТ 1 31037-78 | Болт | 18х1,5х54 исполнение 2 | В наличии | |
| ОСТ 1 31037-78 | Болт | 18х1,5х55 исполнение 2 | В наличии | |
| ОСТ 1 31037-78 | Болт | 18х1,5х56 исполнение 2 | В наличии | |
| ОСТ 1 31037-78 | Болт | 18х1,5х58 исполнение 2 | В наличии | |
| ОСТ 1 31037-78 | Болт | 20х1,5х40 исполнение 1 | В наличии | |
| ОСТ 1 31037-78 | Болт | 20х1,5х41 исполнение 1 | В наличии | |
| ОСТ 1 31037-78 | Болт | 20х1,5х42 исполнение 1 | В наличии | |
| ОСТ 1 31037-78 | Болт | 20х1,5х43 исполнение 1 | В наличии | |
| ОСТ 1 31037-78 | Болт | 20х1,5х44 исполнение 1 | В наличии | |
| ОСТ 1 31037-78 | Болт | 20х1,5х45 исполнение 1 | В наличии | |
| ОСТ 1 31037-78 | Болт | 20х1,5х46 исполнение 1 | В наличии | |
| ОСТ 1 31037-78 | Болт | 20х1,5х47 исполнение 1 | В наличии | |
| ОСТ 1 31037-78 | Болт | 20х1,5х48 исполнение 1 | В наличии | |
| ОСТ 1 31037-78 | Болт | 20х1,5х49 исполнение 1 | В наличии | |
| ОСТ 1 31037-78 | Болт | 20х1,5х50 исполнение 1 | В наличии | |
| ОСТ 1 31037-78 | Болт | 20х1,5х51 исполнение 1 | В наличии | |
| ОСТ 1 31037-78 | Болт | 20х1,5х52 исполнение 1 | В наличии | |
| ОСТ 1 31037-78 | Болт | 20х1,5х53 исполнение 1 | В наличии | |
| ОСТ 1 31037-78 | Болт | 20х1,5х54 исполнение 1 | В наличии | |
| ОСТ 1 31037-78 | Болт | 20х1,5х55 исполнение 1 | В наличии | |
| ОСТ 1 31037-78 | Болт | 20х1,5х53 исполнение 1 | В наличии | |
| ОСТ 1 31037-78 | Болт | 20х1,5х57 исполнение 1 | В наличии | |
| ОСТ 1 31037-78 | Болт | 20х1,5х58 исполнение 1 | В наличии | |
| ОСТ 1 31037-78 | Болт | 20х1,5х40 исполнение 2 | В наличии | |
| ОСТ 1 31037-78 | Болт | 20х1,5х41 исполнение 2 | В наличии | |
| ОСТ 1 31037-78 | Болт | 20х1,5х42 исполнение 2 | В наличии | |
| ОСТ 1 31037-78 | Болт | 20х1,5х43 исполнение 2 | В наличии | |
| ОСТ 1 31037-78 | Болт | 20х1,5х44 исполнение 2 | В наличии | |
| ОСТ 1 31037-78 | Болт | 20х1,5х45 исполнение 2 | В наличии | |
| ОСТ 1 31037-78 | Болт | 20х1,5х46 исполнение 2 | В наличии | |
| ОСТ 1 31037-78 | Болт | 20х1,5х47 исполнение 2 | В наличии | |
| ОСТ 1 31037-78 | Болт | 20х1,5х48 исполнение 2 | В наличии | |
| ОСТ 1 31037-78 | Болт | 20х1,5х49 исполнение 2 | В наличии | |
| ОСТ 1 31037-78 | Болт | 20х1,5х50 исполнение 2 | В наличии | |
| ОСТ 1 31037-78 | Болт | 20х1,5х51 исполнение 2 | В наличии | |
| ОСТ 1 31037-78 | Болт | 20х1,5х52 исполнение 2 | В наличии | |
| ОСТ 1 31037-78 | Болт | 20х1,5х53 исполнение 2 | В наличии | |
| ОСТ 1 31037-78 | Болт | 20х1,5х54 исполнение 2 | В наличии | |
| ОСТ 1 31037-78 | Болт | 20х1,5х55 исполнение 2 | В наличии | |
| ОСТ 1 31037-78 | Болт | 20х1,5х53 исполнение 2 | В наличии | |
| ОСТ 1 31037-78 | Болт | 20х1,5х57 исполнение 2 | В наличии | |
| ОСТ 1 31037-78 | Болт | 20х1,5х58 исполнение 2 | В наличии | |
| ОСТ 1 31037-78 | Болт | 5х60 исполнение 1 | В наличии | |
| ОСТ 1 31037-78 | Болт | 5х60 исполнение 2 | В наличии | |
| ОСТ 1 31037-78 | Болт | 6х60 исполнение 1 | В наличии | |
| ОСТ 1 31037-78 | Болт | 6х62 исполнение 1 | В наличии | |
| ОСТ 1 31037-78 | Болт | 6х64 исполнение 1 | В наличии | |
| ОСТ 1 31037-78 | Болт | 6х65 исполнение 1 | В наличии | |
| ОСТ 1 31037-78 | Болт | 6х68 исполнение 1 | В наличии | |
| ОСТ 1 31037-78 | Болт | 6х70 исполнение 1 | В наличии | |
| ОСТ 1 31037-78 | Болт | 6х72 исполнение 1 | В наличии | |
| ОСТ 1 31037-78 | Болт | 6х60 исполнение 2 | В наличии | |
| ОСТ 1 31037-78 | Болт | 6х62 исполнение 2 | В наличии | |
| ОСТ 1 31037-78 | Болт | 6х64 исполнение 2 | В наличии | |
| ОСТ 1 31037-78 | Болт | 6х65 исполнение 2 | В наличии | |
| ОСТ 1 31037-78 | Болт | 6х68 исполнение 2 | В наличии | |
| ОСТ 1 31037-78 | Болт | 6х70 исполнение 2 | В наличии | |
| ОСТ 1 31037-78 | Болт | 6х72 исполнение 2 | В наличии | |
| ОСТ 1 31037-78 | Болт | 8х60 исполнение 1 | В наличии | |
| ОСТ 1 31037-78 | Болт | 8х62 исполнение 1 | В наличии | |
| ОСТ 1 31037-78 | Болт | 8х64 исполнение 1 | В наличии | |
| ОСТ 1 31037-78 | Болт | 8х66 исполнение 1 | В наличии | |
| ОСТ 1 31037-78 | Болт | 8х68 исполнение 1 | В наличии | |
| ОСТ 1 31037-78 | Болт | 8х70 исполнение 1 | В наличии | |
| ОСТ 1 31037-78 | Болт | 8х72 исполнение 1 | В наличии | |
| ОСТ 1 31037-78 | Болт | 8х74 исполнение 1 | В наличии | |
| ОСТ 1 31037-78 | Болт | 8х76 исполнение 1 | В наличии | |
| ОСТ 1 31037-78 | Болт | 8х78 исполнение 1 | В наличии | |
| ОСТ 1 31037-78 | Болт | 8х80 исполнение 1 | В наличии | |
| ОСТ 1 31037-78 | Болт | 8х82 исполнение 1 | В наличии | |
| ОСТ 1 31037-78 | Болт | 8х84 исполнение 1 | В наличии | |
| ОСТ 1 31037-78 | Болт | 8х86 исполнение 1 | В наличии | |
| ОСТ 1 31037-78 | Болт | 8х88 исполнение 1 | В наличии | |
| ОСТ 1 31037-78 | Болт | 8х90 исполнение 1 | В наличии | |
| ОСТ 1 31037-78 | Болт | 8х92 исполнение 1 | В наличии | |
| ОСТ 1 31037-78 | Болт | 8х94 исполнение 1 | В наличии | |
| ОСТ 1 31037-78 | Болт | 8х96 исполнение 1 | В наличии | |
| ОСТ 1 31037-78 | Болт | 8х60 исполнение 2 | В наличии | |
| ОСТ 1 31037-78 | Болт | 8х62 исполнение 2 | В наличии | |
| ОСТ 1 31037-78 | Болт | 8х64 исполнение 2 | В наличии | |
| ОСТ 1 31037-78 | Болт | 8х66 исполнение 2 | В наличии | |
| ОСТ 1 31037-78 | Болт | 8х68 исполнение 2 | В наличии | |
| ОСТ 1 31037-78 | Болт | 8х70 исполнение 2 | В наличии | |
| ОСТ 1 31037-78 | Болт | 8х74 исполнение 2 | В наличии | |
| ОСТ 1 31037-78 | Болт | 8х76 исполнение 2 | В наличии | |
| ОСТ 1 31037-78 | Болт | 8х78 исполнение 2 | В наличии | |
| ОСТ 1 31037-78 | Болт | 8х80 исполнение 2 | В наличии | |
| ОСТ 1 31037-78 | Болт | 8х82 исполнение 2 | В наличии | |
| ОСТ 1 31037-78 | Болт | 8х84 исполнение 2 | В наличии | |
| ОСТ 1 31037-78 | Болт | 8х86 исполнение 2 | В наличии | |
| ОСТ 1 31037-78 | Болт | 8х88 исполнение 2 | В наличии | |
| ОСТ 1 31037-78 | Болт | 8х90 исполнение 2 | В наличии | |
| ОСТ 1 31037-78 | Болт | 8х92 исполнение 2 | В наличии | |
| ОСТ 1 31037-78 | Болт | 8х94 исполнение 2 | В наличии | |
| ОСТ 1 31037-78 | Болт | 8х96 исполнение 2 | В наличии | |
| ОСТ 1 31037-78 | Болт | 10х60 исполнение 1 | В наличии | |
| ОСТ 1 31037-78 | Болт | 10х62 исполнение 1 | В наличии | |
| ОСТ 1 31037-78 | Болт | 10х64 исполнение 1 | В наличии | |
| ОСТ 1 31037-78 | Болт | 10х66 исполнение 1 | В наличии | |
| ОСТ 1 31037-78 | Болт | 10х68 исполнение 1 | В наличии | |
| ОСТ 1 31037-78 | Болт | 10х70 исполнение 1 | В наличии | |
| ОСТ 1 31037-78 | Болт | 10х72 исполнение 1 | В наличии | |
| ОСТ 1 31037-78 | Болт | 10х74 исполнение 1 | В наличии | |
| ОСТ 1 31037-78 | Болт | 10х76 исполнение 1 | В наличии | |
| ОСТ 1 31037-78 | Болт | 10х78 исполнение 1 | В наличии | |
| ОСТ 1 31037-78 | Болт | 10х80 исполнение 1 | В наличии | |
| ОСТ 1 31037-78 | Болт | 10х82 исполнение 1 | В наличии | |
| ОСТ 1 31037-78 | Болт | 10х84 исполнение 1 | В наличии | |
| ОСТ 1 31037-78 | Болт | 10х86 исполнение 1 | В наличии | |
| ОСТ 1 31037-78 | Болт | 10х88 исполнение 1 | В наличии | |
| ОСТ 1 31037-78 | Болт | 10х90 исполнение 1 | В наличии | |
| ОСТ 1 31037-78 | Болт | 10х92 исполнение 1 | В наличии | |
| ОСТ 1 31037-78 | Болт | 10х94 исполнение 1 | В наличии | |
| ОСТ 1 31037-78 | Болт | 10х96 исполнение 1 | В наличии | |
| ОСТ 1 31037-78 | Болт | 10х98 исполнение 1 | В наличии | |
| ОСТ 1 31037-78 | Болт | 10х100 исполнение 1 | В наличии | |
| ОСТ 1 31037-78 | Болт | 10х102 исполнение 1 | В наличии | |
| ОСТ 1 31037-78 | Болт | 10х104 исполнение 1 | В наличии | |
| ОСТ 1 31037-78 | Болт | 10х60 исполнение 2 | В наличии | |
| ОСТ 1 31037-78 | Болт | 10х62 исполнение 2 | В наличии | |
| ОСТ 1 31037-78 | Болт | 10х64 исполнение 2 | В наличии | |
| ОСТ 1 31037-78 | Болт | 10х66 исполнение 2 | В наличии | |
| ОСТ 1 31037-78 | Болт | 10х68 исполнение 2 | В наличии | |
| ОСТ 1 31037-78 | Болт | 10х70 исполнение 2 | В наличии | |
| ОСТ 1 31037-78 | Болт | 10х72 исполнение 2 | В наличии | |
| ОСТ 1 31037-78 | Болт | 10х74 исполнение 2 | В наличии | |
| ОСТ 1 31037-78 | Болт | 10х76 исполнение 2 | В наличии | |
| ОСТ 1 31037-78 | Болт | 10х78 исполнение 2 | В наличии | |
| ОСТ 1 31037-78 | Болт | 10х80 исполнение 2 | В наличии | |
| ОСТ 1 31037-78 | Болт | 10х82 исполнение 2 | В наличии | |
| ОСТ 1 31037-78 | Болт | 10х84 исполнение 2 | В наличии | |
| ОСТ 1 31037-78 | Болт | 10х86 исполнение 2 | В наличии | |
| ОСТ 1 31037-78 | Болт | 10х88 исполнение 2 | В наличии | |
| ОСТ 1 31037-78 | Болт | 10х90 исполнение 2 | В наличии | |
| ОСТ 1 31037-78 | Болт | 10х92 исполнение 2 | В наличии | |
| ОСТ 1 31037-78 | Болт | 10х94 исполнение 2 | В наличии | |
| ОСТ 1 31037-78 | Болт | 10х96 исполнение 2 | В наличии | |
| ОСТ 1 31037-78 | Болт | 10х98 исполнение 2 | В наличии | |
| ОСТ 1 31037-78 | Болт | 10х100 исполнение 2 | В наличии | |
| ОСТ 1 31037-78 | Болт | 10х102 исполнение 2 | В наличии | |
| ОСТ 1 31037-78 | Болт | 10х104 исполнение 2 | В наличии | |
| ОСТ 1 31037-78 | Болт | 12х1,5х60 исполнение 1 | В наличии | |
| ОСТ 1 31037-78 | Болт | 12х1,5х62 исполнение 1 | В наличии | |
| ОСТ 1 31037-78 | Болт | 12х1,5х64 исполнение 1 | В наличии | |
| ОСТ 1 31037-78 | Болт | 12х1,5х66 исполнение 1 | В наличии | |
| ОСТ 1 31037-78 | Болт | 12х1,5х68 исполнение 1 | В наличии | |
| ОСТ 1 31037-78 | Болт | 12х1,5х70 исполнение 1 | В наличии | |
| ОСТ 1 31037-78 | Болт | 12х1,5х72 исполнение 1 | В наличии | |
| ОСТ 1 31037-78 | Болт | 12х1,5х74 исполнение 1 | В наличии | |
| ОСТ 1 31037-78 | Болт | 12х1,5х76 исполнение 1 | В наличии | |
| ОСТ 1 31037-78 | Болт | 12х1,5х78 исполнение 1 | В наличии | |
| ОСТ 1 31037-78 | Болт | 12х1,5х80 исполнение 1 | В наличии | |
| ОСТ 1 31037-78 | Болт | 12х1,5х82 исполнение 1 | В наличии | |
| ОСТ 1 31037-78 | Болт | 12х1,5х84 исполнение 1 | В наличии | |
| ОСТ 1 31037-78 | Болт | 12х1,5х86 исполнение 1 | В наличии | |
| ОСТ 1 31037-78 | Болт | 12х1,5х88 исполнение 1 | В наличии | |
| ОСТ 1 31037-78 | Болт | 12х1,5х90 исполнение 1 | В наличии | |
| ОСТ 1 31037-78 | Болт | 12х1,5х92 исполнение 1 | В наличии | |
| ОСТ 1 31037-78 | Болт | 12х1,5х94 исполнение 1 | В наличии | |
| ОСТ 1 31037-78 | Болт | 12х1,5х98 исполнение 1 | В наличии | |
| ОСТ 1 31037-78 | Болт | 12х1,5х98 исполнение 1 | В наличии | |
| ОСТ 1 31037-78 | Болт | 12х1,5х100 исполнение 1 | В наличии | |
| ОСТ 1 31037-78 | Болт | 12х1,5х102 исполнение 1 | В наличии | |
| ОСТ 1 31037-78 | Болт | 12х1,5х104 исполнение 1 | В наличии | |
| ОСТ 1 31037-78 | Болт | 12х1,5х60 исполнение 2 | В наличии | |
| ОСТ 1 31037-78 | Болт | 12х1,5х62 исполнение 2 | В наличии | |
| ОСТ 1 31037-78 | Болт | 12х1,5х64 исполнение 2 | В наличии | |
| ОСТ 1 31037-78 | Болт | 12х1,5х66 исполнение 2 | В наличии | |
| ОСТ 1 31037-78 | Болт | 12х1,5х68 исполнение 2 | В наличии | |
| ОСТ 1 31037-78 | Болт | 12х1,5х70 исполнение 2 | В наличии | |
| ОСТ 1 31037-78 | Болт | 12х1,5х72 исполнение 2 | В наличии | |
| ОСТ 1 31037-78 | Болт | 12х1,5х74 исполнение 2 | В наличии | |
| ОСТ 1 31037-78 | Болт | 12х1,5х76 исполнение 2 | В наличии | |
| ОСТ 1 31037-78 | Болт | 12х1,5х78 исполнение 2 | В наличии | |
| ОСТ 1 31037-78 | Болт | 12х1,5х80 исполнение 2 | В наличии | |
| ОСТ 1 31037-78 | Болт | 12х1,5х82 исполнение 2 | В наличии | |
| ОСТ 1 31037-78 | Болт | 12х1,5х84 исполнение 2 | В наличии | |
| ОСТ 1 31037-78 | Болт | 12х1,5х86 исполнение 2 | В наличии | |
| ОСТ 1 31037-78 | Болт | 12х1,5х88 исполнение 2 | В наличии | |
| ОСТ 1 31037-78 | Болт | 12х1,5х90 исполнение 2 | В наличии | |
| ОСТ 1 31037-78 | Болт | 12х1,5х92 исполнение 2 | В наличии | |
| ОСТ 1 31037-78 | Болт | 12х1,5х94 исполнение 2 | В наличии | |
| ОСТ 1 31037-78 | Болт | 12х1,5х98 исполнение 2 | В наличии | |
| ОСТ 1 31037-78 | Болт | 12х1,5х98 исполнение 2 | В наличии | |
| ОСТ 1 31037-78 | Болт | 12х1,5х100 исполнение 2 | В наличии | |
| ОСТ 1 31037-78 | Болт | 12х1,5х102 исполнение 2 | В наличии | |
| ОСТ 1 31037-78 | Болт | 12х1,5х104 исполнение 2 | В наличии | |
| ОСТ 1 31037-78 | Болт | 14х1,5х60 исполнение 1 | В наличии | |
| ОСТ 1 31037-78 | Болт | 14х1,5х62 исполнение 1 | В наличии | |
| ОСТ 1 31037-78 | Болт | 14х1,5х64 исполнение 1 | В наличии | |
| ОСТ 1 31037-78 | Болт | 14х1,5х66 исполнение 1 | В наличии | |
| ОСТ 1 31037-78 | Болт | 14х1,5х68 исполнение 1 | В наличии | |
| ОСТ 1 31037-78 | Болт | 14х1,5х70 исполнение 1 | В наличии | |
| ОСТ 1 31037-78 | Болт | 14х1,5х72 исполнение 1 | В наличии | |
| ОСТ 1 31037-78 | Болт | 14х1,5х74 исполнение 1 | В наличии | |
| ОСТ 1 31037-78 | Болт | 14х1,5х76 исполнение 1 | В наличии | |
| ОСТ 1 31037-78 | Болт | 14х1,5х78 исполнение 1 | В наличии | |
| ОСТ 1 31037-78 | Болт | 14х1,5х80 исполнение 1 | В наличии | |
| ОСТ 1 31037-78 | Болт | 14х1,5х82 исполнение 1 | В наличии | |
| ОСТ 1 31037-78 | Болт | 14х1,5х84 исполнение 1 | В наличии | |
| ОСТ 1 31037-78 | Болт | 14х1,5х86 исполнение 1 | В наличии | |
| ОСТ 1 31037-78 | Болт | 14х1,5х88 исполнение 1 | В наличии | |
| ОСТ 1 31037-78 | Болт | 14х1,5х90 исполнение 1 | В наличии | |
| ОСТ 1 31037-78 | Болт | 14х1,5х92 исполнение 1 | В наличии | |
| ОСТ 1 31037-78 | Болт | 14х1,5х94 исполнение 1 | В наличии | |
| ОСТ 1 31037-78 | Болт | 14х1,5х96 исполнение 1 | В наличии | |
| ОСТ 1 31037-78 | Болт | 14х1,5х98 исполнение 1 | В наличии | |
| ОСТ 1 31037-78 | Болт | 14х1,5х100 исполнение 1 | В наличии | |
| ОСТ 1 31037-78 | Болт | 14х1,5х102 исполнение 1 | В наличии | |
| ОСТ 1 31037-78 | Болт | 14х1,5х104 исполнение 1 | В наличии | |
| ОСТ 1 31037-78 | Болт | 14х1,5х60 исполнение 2 | В наличии | |
| ОСТ 1 31037-78 | Болт | 14х1,5х62 исполнение 2 | В наличии | |
| ОСТ 1 31037-78 | Болт | 14х1,5х64 исполнение 2 | В наличии | |
| ОСТ 1 31037-78 | Болт | 14х1,5х66 исполнение 2 | В наличии | |
| ОСТ 1 31037-78 | Болт | 14х1,5х68 исполнение 2 | В наличии | |
| ОСТ 1 31037-78 | Болт | 14х1,5х70 исполнение 2 | В наличии | |
| ОСТ 1 31037-78 | Болт | 14х1,5х72 исполнение 2 | В наличии | |
| ОСТ 1 31037-78 | Болт | 14х1,5х74 исполнение 2 | В наличии | |
| ОСТ 1 31037-78 | Болт | 14х1,5х76 исполнение 2 | В наличии | |
| ОСТ 1 31037-78 | Болт | 14х1,5х78 исполнение 2 | В наличии | |
| ОСТ 1 31037-78 | Болт | 14х1,5х80 исполнение 2 | В наличии | |
| ОСТ 1 31037-78 | Болт | 14х1,5х82 исполнение 2 | В наличии | |
| ОСТ 1 31037-78 | Болт | 14х1,5х84 исполнение 2 | В наличии | |
| ОСТ 1 31037-78 | Болт | 14х1,5х86 исполнение 2 | В наличии | |
| ОСТ 1 31037-78 | Болт | 14х1,5х88 исполнение 2 | В наличии | |
| ОСТ 1 31037-78 | Болт | 14х1,5х90 исполнение 2 | В наличии | |
| ОСТ 1 31037-78 | Болт | 14х1,5х92 исполнение 2 | В наличии | |
| ОСТ 1 31037-78 | Болт | 14х1,5х94 исполнение 2 | В наличии | |
| ОСТ 1 31037-78 | Болт | 14х1,5х96 исполнение 2 | В наличии | |
| ОСТ 1 31037-78 | Болт | 14х1,5х98 исполнение 2 | В наличии | |
| ОСТ 1 31037-78 | Болт | 14х1,5х100 исполнение 2 | В наличии | |
| ОСТ 1 31037-78 | Болт | 14х1,5х102 исполнение 2 | В наличии | |
| ОСТ 1 31037-78 | Болт | 14х1,5х104 исполнение 2 | В наличии | |
| ОСТ 1 31037-78 | Болт | 16х1,5х60 исполнение 1 | В наличии | |
| ОСТ 1 31037-78 | Болт | 16х1,5х62 исполнение 1 | В наличии | |
| ОСТ 1 31037-78 | Болт | 16х1,5х64 исполнение 1 | В наличии | |
| ОСТ 1 31037-78 | Болт | 16х1,5х66 исполнение 1 | В наличии | |
| ОСТ 1 31037-78 | Болт | 16х1,5х68 исполнение 1 | В наличии | |
| ОСТ 1 31037-78 | Болт | 16х1,5х70 исполнение 1 | В наличии | |
| ОСТ 1 31037-78 | Болт | 16х1,5х72 исполнение 1 | В наличии | |
| ОСТ 1 31037-78 | Болт | 16х1,5х74 исполнение 1 | В наличии | |
| ОСТ 1 31037-78 | Болт | 16х1,5х76 исполнение 1 | В наличии | |
| ОСТ 1 31037-78 | Болт | 16х1,5х78 исполнение 1 | В наличии | |
| ОСТ 1 31037-78 | Болт | 16х1,5х80 исполнение 1 | В наличии | |
| ОСТ 1 31037-78 | Болт | 16х1,5х82 исполнение 1 | В наличии | |
| ОСТ 1 31037-78 | Болт | 16х1,5х84 исполнение 1 | В наличии | |
| ОСТ 1 31037-78 | Болт | 16х1,5х86 исполнение 1 | В наличии | |
| ОСТ 1 31037-78 | Болт | 16х1,5х88 исполнение 1 | В наличии | |
| ОСТ 1 31037-78 | Болт | 16х1,5х90 исполнение 1 | В наличии | |
| ОСТ 1 31037-78 | Болт | 16х1,5х92 исполнение 1 | В наличии | |
| ОСТ 1 31037-78 | Болт | 16х1,5х94 исполнение 1 | В наличии | |
| ОСТ 1 31037-78 | Болт | 16х1,5х96 исполнение 1 | В наличии | |
| ОСТ 1 31037-78 | Болт | 16х1,5х98 исполнение 1 | В наличии | |
| ОСТ 1 31037-78 | Болт | 16х1,5х100 исполнение 1 | В наличии | |
| ОСТ 1 31037-78 | Болт | 16х1,5х102 исполнение 1 | В наличии | |
| ОСТ 1 31037-78 | Болт | 16х1,5х104 исполнение 1 | В наличии | |
| ОСТ 1 31037-78 | Болт | 16х1,5х60 исполнение 2 | В наличии | |
| ОСТ 1 31037-78 | Болт | 16х1,5х62 исполнение 2 | В наличии | |
| ОСТ 1 31037-78 | Болт | 16х1,5х64 исполнение 2 | В наличии | |
| ОСТ 1 31037-78 | Болт | 16х1,5х66 исполнение 2 | В наличии | |
| ОСТ 1 31037-78 | Болт | 16х1,5х68 исполнение 2 | В наличии | |
| ОСТ 1 31037-78 | Болт | 16х1,5х70 исполнение 2 | В наличии | |
| ОСТ 1 31037-78 | Болт | 16х1,5х72 исполнение 2 | В наличии | |
| ОСТ 1 31037-78 | Болт | 16х1,5х74 исполнение 2 | В наличии | |
| ОСТ 1 31037-78 | Болт | 16х1,5х76 исполнение 2 | В наличии | |
| ОСТ 1 31037-78 | Болт | 16х1,5х78 исполнение 2 | В наличии | |
| ОСТ 1 31037-78 | Болт | 16х1,5х80 исполнение 2 | В наличии | |
| ОСТ 1 31037-78 | Болт | 16х1,5х82 исполнение 2 | В наличии | |
| ОСТ 1 31037-78 | Болт | 16х1,5х84 исполнение 2 | В наличии | |
| ОСТ 1 31037-78 | Болт | 16х1,5х86 исполнение 2 | В наличии | |
| ОСТ 1 31037-78 | Болт | 16х1,5х88 исполнение 2 | В наличии | |
| ОСТ 1 31037-78 | Болт | 16х1,5х90 исполнение 2 | В наличии | |
| ОСТ 1 31037-78 | Болт | 16х1,5х92 исполнение 2 | В наличии | |
| ОСТ 1 31037-78 | Болт | 16х1,5х94 исполнение 2 | В наличии | |
| ОСТ 1 31037-78 | Болт | 16х1,5х96 исполнение 2 | В наличии | |
| ОСТ 1 31037-78 | Болт | 16х1,5х98 исполнение 2 | В наличии | |
| ОСТ 1 31037-78 | Болт | 16х1,5х100 исполнение 2 | В наличии | |
| ОСТ 1 31037-78 | Болт | 16х1,5х102 исполнение 2 | В наличии | |
| ОСТ 1 31037-78 | Болт | 16х1,5х104 исполнение 2 | В наличии | |
| ОСТ 1 31037-78 | Болт | 18х1,5х60 исполнение 1 | В наличии | |
| ОСТ 1 31037-78 | Болт | 18х1,5х62 исполнение 1 | В наличии | |
| ОСТ 1 31037-78 | Болт | 18х1,5х64 исполнение 1 | В наличии | |
| ОСТ 1 31037-78 | Болт | 18х1,5х66 исполнение 1 | В наличии | |
| ОСТ 1 31037-78 | Болт | 18х1,5х68 исполнение 1 | В наличии | |
| ОСТ 1 31037-78 | Болт | 18х1,5х70 исполнение 1 | В наличии | |
| ОСТ 1 31037-78 | Болт | 18х1,5х72 исполнение 1 | В наличии | |
| ОСТ 1 31037-78 | Болт | 18х1,5х74 исполнение 1 | В наличии | |
| ОСТ 1 31037-78 | Болт | 18х1,5х76 исполнение 1 | В наличии | |
| ОСТ 1 31037-78 | Болт | 18х1,5х78 исполнение 1 | В наличии | |
| ОСТ 1 31037-78 | Болт | 18х1,5х80 исполнение 1 | В наличии | |
| ОСТ 1 31037-78 | Болт | 18х1,5х82 исполнение 1 | В наличии | |
| ОСТ 1 31037-78 | Болт | 18х1,5х84 исполнение 1 | В наличии | |
| ОСТ 1 31037-78 | Болт | 18х1,5х86 исполнение 1 | В наличии | |
| ОСТ 1 31037-78 | Болт | 18х1,5х88 исполнение 1 | В наличии | |
| ОСТ 1 31037-78 | Болт | 18х1,5х90 исполнение 1 | В наличии | |
| ОСТ 1 31037-78 | Болт | 18х1,5х92 исполнение 1 | В наличии | |
| ОСТ 1 31037-78 | Болт | 18х1,5х94 исполнение 1 | В наличии | |
| ОСТ 1 31037-78 | Болт | 18х1,5х98 исполнение 1 | В наличии | |
| ОСТ 1 31037-78 | Болт | 18х1,5х98 исполнение 1 | В наличии | |
| ОСТ 1 31037-78 | Болт | 18х1,5х100 исполнение 1 | В наличии | |
| ОСТ 1 31037-78 | Болт | 18х1,5х102 исполнение 1 | В наличии | |
| ОСТ 1 31037-78 | Болт | 18х1,5х104 исполнение 1 | В наличии | |
| ОСТ 1 31037-78 | Болт | 18х1,5х60 исполнение 2 | В наличии | |
| ОСТ 1 31037-78 | Болт | 18х1,5х62 исполнение 2 | В наличии | |
| ОСТ 1 31037-78 | Болт | 18х1,5х64 исполнение 2 | В наличии | |
| ОСТ 1 31037-78 | Болт | 18х1,5х66 исполнение 2 | В наличии | |
| ОСТ 1 31037-78 | Болт | 18х1,5х68 исполнение 2 | В наличии | |
| ОСТ 1 31037-78 | Болт | 18х1,5х70 исполнение 2 | В наличии | |
| ОСТ 1 31037-78 | Болт | 18х1,5х72 исполнение 2 | В наличии | |
| ОСТ 1 31037-78 | Болт | 18х1,5х74 исполнение 2 | В наличии | |
| ОСТ 1 31037-78 | Болт | 18х1,5х76 исполнение 2 | В наличии | |
| ОСТ 1 31037-78 | Болт | 18х1,5х78 исполнение 2 | В наличии | |
| ОСТ 1 31037-78 | Болт | 18х1,5х80 исполнение 2 | В наличии | |
| ОСТ 1 31037-78 | Болт | 18х1,5х82 исполнение 2 | В наличии | |
| ОСТ 1 31037-78 | Болт | 18х1,5х84 исполнение 2 | В наличии | |
| ОСТ 1 31037-78 | Болт | 18х1,5х86 исполнение 2 | В наличии | |
| ОСТ 1 31037-78 | Болт | 18х1,5х88 исполнение 2 | В наличии | |
| ОСТ 1 31037-78 | Болт | 18х1,5х90 исполнение 2 | В наличии | |
| ОСТ 1 31037-78 | Болт | 18х1,5х92 исполнение 2 | В наличии | |
| ОСТ 1 31037-78 | Болт | 18х1,5х94 исполнение 2 | В наличии | |
| ОСТ 1 31037-78 | Болт | 18х1,5х98 исполнение 2 | В наличии | |
| ОСТ 1 31037-78 | Болт | 18х1,5х98 исполнение 2 | В наличии | |
| ОСТ 1 31037-78 | Болт | 18х1,5х100 исполнение 2 | В наличии | |
| ОСТ 1 31037-78 | Болт | 18х1,5х102 исполнение 2 | В наличии | |
| ОСТ 1 31037-78 | Болт | 18х1,5х104 исполнение 2 | В наличии | |
| ОСТ 1 31037-78 | Болт | 20х1,5х60 исполнение 1 | В наличии | |
| ОСТ 1 31037-78 | Болт | 20х1,5х62 исполнение 1 | В наличии | |
| ОСТ 1 31037-78 | Болт | 20х1,5х64 исполнение 1 | В наличии | |
| ОСТ 1 31037-78 | Болт | 20х1,5х66 исполнение 1 | В наличии | |
| ОСТ 1 31037-78 | Болт | 20х1,5х68 исполнение 1 | В наличии | |
| ОСТ 1 31037-78 | Болт | 20х1,5х70 исполнение 1 | В наличии | |
| ОСТ 1 31037-78 | Болт | 20х1,5х72 исполнение 1 | В наличии | |
| ОСТ 1 31037-78 | Болт | 20х1,5х74 исполнение 1 | В наличии | |
| ОСТ 1 31037-78 | Болт | 20х1,5х76 исполнение 1 | В наличии | |
| ОСТ 1 31037-78 | Болт | 20х1,5х78 исполнение 1 | В наличии | |
| ОСТ 1 31037-78 | Болт | 20х1,5х80 исполнение 1 | В наличии | |
| ОСТ 1 31037-78 | Болт | 20х1,5х82 исполнение 1 | В наличии | |
| ОСТ 1 31037-78 | Болт | 20х1,5х84 исполнение 1 | В наличии | |
| ОСТ 1 31037-78 | Болт | 20х1,5х86 исполнение 1 | В наличии | |
| ОСТ 1 31037-78 | Болт | 20х1,5х88 исполнение 1 | В наличии | |
| ОСТ 1 31037-78 | Болт | 20х1,5х90 исполнение 1 | В наличии | |
| ОСТ 1 31037-78 | Болт | 20х1,5х92 исполнение 1 | В наличии | |
| ОСТ 1 31037-78 | Болт | 20х1,5х94 исполнение 1 | В наличии | |
| ОСТ 1 31037-78 | Болт | 20х1,5х96 исполнение 1 | В наличии | |
| ОСТ 1 31037-78 | Болт | 20х1,5х98 исполнение 1 | В наличии | |
| ОСТ 1 31037-78 | Болт | 20х1,5х100 исполнение 1 | В наличии | |
| ОСТ 1 31037-78 | Болт | 20х1,5х102 исполнение 1 | В наличии | |
| ОСТ 1 31037-78 | Болт | 20х1,5х104 исполнение 1 | В наличии | |
| ОСТ 1 31037-78 | Болт | 20х1,5х60 исполнение 2 | В наличии | |
| ОСТ 1 31037-78 | Болт | 20х1,5х62 исполнение 2 | В наличии | |
| ОСТ 1 31037-78 | Болт | 20х1,5х64 исполнение 2 | В наличии | |
| ОСТ 1 31037-78 | Болт | 20х1,5х66 исполнение 2 | В наличии | |
| ОСТ 1 31037-78 | Болт | 20х1,5х68 исполнение 2 | В наличии | |
| ОСТ 1 31037-78 | Болт | 20х1,5х70 исполнение 2 | В наличии | |
| ОСТ 1 31037-78 | Болт | 20х1,5х72 исполнение 2 | В наличии | |
| ОСТ 1 31037-78 | Болт | 20х1,5х74 исполнение 2 | В наличии | |
| ОСТ 1 31037-78 | Болт | 20х1,5х76 исполнение 2 | В наличии | |
| ОСТ 1 31037-78 | Болт | 20х1,5х78 исполнение 2 | В наличии | |
| ОСТ 1 31037-78 | Болт | 20х1,5х80 исполнение 2 | В наличии | |
| ОСТ 1 31037-78 | Болт | 20х1,5х82 исполнение 2 | В наличии | |
| ОСТ 1 31037-78 | Болт | 20х1,5х84 исполнение 2 | В наличии | |
| ОСТ 1 31037-78 | Болт | 20х1,5х86 исполнение 2 | В наличии | |
| ОСТ 1 31037-78 | Болт | 20х1,5х88 исполнение 2 | В наличии | |
| ОСТ 1 31037-78 | Болт | 20х1,5х90 исполнение 2 | В наличии | |
| ОСТ 1 31037-78 | Болт | 20х1,5х92 исполнение 2 | В наличии | |
| ОСТ 1 31037-78 | Болт | 20х1,5х94 исполнение 2 | В наличии | |
| ОСТ 1 31037-78 | Болт | 20х1,5х96 исполнение 2 | В наличии | |
| ОСТ 1 31037-78 | Болт | 20х1,5х98 исполнение 2 | В наличии | |
| ОСТ 1 31037-78 | Болт | 20х1,5х100 исполнение 2 | В наличии | |
| ОСТ 1 31037-78 | Болт | 20х1,5х102 исполнение 2 | В наличии | |
| ОСТ 1 31037-78 | Болт | 20х1,5х104 исполнение 2 | В наличии | |
| ОСТ 1 31037-78 | Болт | 10х106 исполнение 1 | В наличии | |
| ОСТ 1 31037-78 | Болт | 10х108 исполнение 1 | В наличии | |
| ОСТ 1 31037-78 | Болт | 10х110 исполнение 1 | В наличии | |
| ОСТ 1 31037-78 | Болт | 10х112 исполнение 1 | В наличии | |
| ОСТ 1 31037-78 | Болт | 10х114 исполнение 1 | В наличии | |
| ОСТ 1 31037-78 | Болт | 10х116 исполнение 1 | В наличии | |
| ОСТ 1 31037-78 | Болт | 10х118 исполнение 1 | В наличии | |
| ОСТ 1 31037-78 | Болт | 10х120 исполнение 1 | В наличии | |
| ОСТ 1 31037-78 | Болт | 10х106 исполнение 2 | В наличии | |
| ОСТ 1 31037-78 | Болт | 10х108 исполнение 2 | В наличии | |
| ОСТ 1 31037-78 | Болт | 10х110 исполнение 2 | В наличии | |
| ОСТ 1 31037-78 | Болт | 10х112 исполнение 2 | В наличии | |
| ОСТ 1 31037-78 | Болт | 10х114 исполнение 2 | В наличии | |
| ОСТ 1 31037-78 | Болт | 10х116 исполнение 2 | В наличии | |
| ОСТ 1 31037-78 | Болт | 10х118 исполнение 2 | В наличии | |
| ОСТ 1 31037-78 | Болт | 10х120 исполнение 2 | В наличии | |
| ОСТ 1 31037-78 | Болт | 12х1,5х106 исполнение 1 | В наличии | |
| ОСТ 1 31037-78 | Болт | 12х1,5х108 исполнение 1 | В наличии | |
| ОСТ 1 31037-78 | Болт | 12х1,5х110 исполнение 1 | В наличии | |
| ОСТ 1 31037-78 | Болт | 12х1,5х112 исполнение 1 | В наличии | |
| ОСТ 1 31037-78 | Болт | 12х1,5х114 исполнение 1 | В наличии | |
| ОСТ 1 31037-78 | Болт | 12х1,5х116 исполнение 1 | В наличии | |
| ОСТ 1 31037-78 | Болт | 12х1,5х118 исполнение 1 | В наличии | |
| ОСТ 1 31037-78 | Болт | 12х1,5х120 исполнение 1 | В наличии | |
| ОСТ 1 31037-78 | Болт | 12х1,5х122 исполнение 1 | В наличии | |
| ОСТ 1 31037-78 | Болт | 12х1,5х124 исполнение 1 | В наличии | |
| ОСТ 1 31037-78 | Болт | 12х1,5х126 исполнение 1 | В наличии | |
| ОСТ 1 31037-78 | Болт | 12х1,5х128 исполнение 1 | В наличии | |
| ОСТ 1 31037-78 | Болт | 12х1,5х130 исполнение 1 | В наличии | |
| ОСТ 1 31037-78 | Болт | 12х1,5х132 исполнение 1 | В наличии | |
| ОСТ 1 31037-78 | Болт | 12х1,5х134 исполнение 1 | В наличии | |
| ОСТ 1 31037-78 | Болт | 12х1,5х136 исполнение 1 | В наличии | |
| ОСТ 1 31037-78 | Болт | 12х1,5х138 исполнение 1 | В наличии | |
| ОСТ 1 31037-78 | Болт | 12х1,5х140 исполнение 1 | В наличии | |
| ОСТ 1 31037-78 | Болт | 12х1,5х142 исполнение 1 | В наличии | |
| ОСТ 1 31037-78 | Болт | 12х1,5х144 исполнение 1 | В наличии | |
| ОСТ 1 31037-78 | Болт | 12х1,5х146 исполнение 1 | В наличии | |
| ОСТ 1 31037-78 | Болт | 12х1,5х148 исполнение 1 | В наличии | |
| ОСТ 1 31037-78 | Болт | 12х1,5х150 исполнение 1 | В наличии | |
| ОСТ 1 31037-78 | Болт | 12х1,5х106 исполнение 2 | В наличии | |
| ОСТ 1 31037-78 | Болт | 12х1,5х108 исполнение 2 | В наличии | |
| ОСТ 1 31037-78 | Болт | 12х1,5х110 исполнение 2 | В наличии | |
| ОСТ 1 31037-78 | Болт | 12х1,5х112 исполнение 2 | В наличии | |
| ОСТ 1 31037-78 | Болт | 12х1,5х114 исполнение 2 | В наличии | |
| ОСТ 1 31037-78 | Болт | 12х1,5х116 исполнение 2 | В наличии | |
| ОСТ 1 31037-78 | Болт | 12х1,5х118 исполнение 2 | В наличии | |
| ОСТ 1 31037-78 | Болт | 12х1,5х120 исполнение 2 | В наличии | |
| ОСТ 1 31037-78 | Болт | 12х1,5х122 исполнение 2 | В наличии | |
| ОСТ 1 31037-78 | Болт | 12х1,5х124 исполнение 2 | В наличии | |
| ОСТ 1 31037-78 | Болт | 12х1,5х126 исполнение 2 | В наличии | |
| ОСТ 1 31037-78 | Болт | 12х1,5х128 исполнение 2 | В наличии | |
| ОСТ 1 31037-78 | Болт | 12х1,5х130 исполнение 2 | В наличии | |
| ОСТ 1 31037-78 | Болт | 12х1,5х132 исполнение 2 | В наличии | |
| ОСТ 1 31037-78 | Болт | 12х1,5х134 исполнение 2 | В наличии | |
| ОСТ 1 31037-78 | Болт | 12х1,5х136 исполнение 2 | В наличии | |
| ОСТ 1 31037-78 | Болт | 12х1,5х138 исполнение 2 | В наличии | |
| ОСТ 1 31037-78 | Болт | 12х1,5х140 исполнение 2 | В наличии | |
| ОСТ 1 31037-78 | Болт | 12х1,5х142 исполнение 2 | В наличии | |
| ОСТ 1 31037-78 | Болт | 12х1,5х144 исполнение 2 | В наличии | |
| ОСТ 1 31037-78 | Болт | 12х1,5х146 исполнение 2 | В наличии | |
| ОСТ 1 31037-78 | Болт | 12х1,5х148 исполнение 2 | В наличии | |
| ОСТ 1 31037-78 | Болт | 12х1,5х150 исполнение 2 | В наличии | |
| ОСТ 1 31037-78 | Болт | 14х1,5х106 исполнение 1 | В наличии | |
| ОСТ 1 31037-78 | Болт | 14х1,5х108 исполнение 1 | В наличии | |
| ОСТ 1 31037-78 | Болт | 14х1,5х110 исполнение 1 | В наличии | |
| ОСТ 1 31037-78 | Болт | 14х1,5х112 исполнение 1 | В наличии | |
| ОСТ 1 31037-78 | Болт | 14х1,5х114 исполнение 1 | В наличии | |
| ОСТ 1 31037-78 | Болт | 14х1,5х116 исполнение 1 | В наличии | |
| ОСТ 1 31037-78 | Болт | 14х1,5х118 исполнение 1 | В наличии | |
| ОСТ 1 31037-78 | Болт | 14х1,5х120 исполнение 1 | В наличии | |
| ОСТ 1 31037-78 | Болт | 14х1,5х122 исполнение 1 | В наличии | |
| ОСТ 1 31037-78 | Болт | 14х1,5х124 исполнение 1 | В наличии | |
| ОСТ 1 31037-78 | Болт | 14х1,5х126 исполнение 1 | В наличии | |
| ОСТ 1 31037-78 | Болт | 14х1,5х128 исполнение 1 | В наличии | |
| ОСТ 1 31037-78 | Болт | 14х1,5х130 исполнение 1 | В наличии | |
| ОСТ 1 31037-78 | Болт | 14х1,5х132 исполнение 1 | В наличии | |
| ОСТ 1 31037-78 | Болт | 14х1,5х134 исполнение 1 | В наличии | |
| ОСТ 1 31037-78 | Болт | 14х1,5х136 исполнение 1 | В наличии | |
| ОСТ 1 31037-78 | Болт | 14х1,5х138 исполнение 1 | В наличии | |
| ОСТ 1 31037-78 | Болт | 14х1,5х140 исполнение 1 | В наличии | |
| ОСТ 1 31037-78 | Болт | 14х1,5х142 исполнение 1 | В наличии | |
| ОСТ 1 31037-78 | Болт | 14х1,5х144 исполнение 1 | В наличии | |
| ОСТ 1 31037-78 | Болт | 14х1,5х146 исполнение 1 | В наличии | |
| ОСТ 1 31037-78 | Болт | 14х1,5х148 исполнение 1 | В наличии | |
| ОСТ 1 31037-78 | Болт | 14х1,5х150 исполнение 1 | В наличии | |
| ОСТ 1 31037-78 | Болт | 14х1,5х106 исполнение 2 | В наличии | |
| ОСТ 1 31037-78 | Болт | 14х1,5х108 исполнение 2 | В наличии | |
| ОСТ 1 31037-78 | Болт | 14х1,5х110 исполнение 2 | В наличии | |
| ОСТ 1 31037-78 | Болт | 14х1,5х112 исполнение 2 | В наличии | |
| ОСТ 1 31037-78 | Болт | 14х1,5х114 исполнение 2 | В наличии | |
| ОСТ 1 31037-78 | Болт | 14х1,5х116 исполнение 2 | В наличии | |
| ОСТ 1 31037-78 | Болт | 14х1,5х118 исполнение 2 | В наличии | |
| ОСТ 1 31037-78 | Болт | 14х1,5х120 исполнение 2 | В наличии | |
| ОСТ 1 31037-78 | Болт | 14х1,5х122 исполнение 2 | В наличии | |
| ОСТ 1 31037-78 | Болт | 14х1,5х124 исполнение 2 | В наличии | |
| ОСТ 1 31037-78 | Болт | 14х1,5х126 исполнение 2 | В наличии | |
| ОСТ 1 31037-78 | Болт | 14х1,5х128 исполнение 2 | В наличии | |
| ОСТ 1 31037-78 | Болт | 14х1,5х130 исполнение 2 | В наличии | |
| ОСТ 1 31037-78 | Болт | 14х1,5х132 исполнение 2 | В наличии | |
| ОСТ 1 31037-78 | Болт | 14х1,5х134 исполнение 2 | В наличии | |
| ОСТ 1 31037-78 | Болт | 14х1,5х136 исполнение 2 | В наличии | |
| ОСТ 1 31037-78 | Болт | 14х1,5х138 исполнение 2 | В наличии | |
| ОСТ 1 31037-78 | Болт | 14х1,5х140 исполнение 2 | В наличии | |
| ОСТ 1 31037-78 | Болт | 14х1,5х142 исполнение 2 | В наличии | |
| ОСТ 1 31037-78 | Болт | 14х1,5х144 исполнение 2 | В наличии | |
| ОСТ 1 31037-78 | Болт | 14х1,5х146 исполнение 2 | В наличии | |
| ОСТ 1 31037-78 | Болт | 14х1,5х148 исполнение 2 | В наличии | |
| ОСТ 1 31037-78 | Болт | 14х1,5х150 исполнение 2 | В наличии | |
| ОСТ 1 31037-78 | Болт | 16х1,5х106 исполнение 1 | В наличии | |
| ОСТ 1 31037-78 | Болт | 16х1,5х108 исполнение 1 | В наличии | |
| ОСТ 1 31037-78 | Болт | 16х1,5х110 исполнение 1 | В наличии | |
| ОСТ 1 31037-78 | Болт | 16х1,5х112 исполнение 1 | В наличии | |
| ОСТ 1 31037-78 | Болт | 16х1,5х114 исполнение 1 | В наличии | |
| ОСТ 1 31037-78 | Болт | 16х1,5х116 исполнение 1 | В наличии | |
| ОСТ 1 31037-78 | Болт | 16х1,5х118 исполнение 1 | В наличии | |
| ОСТ 1 31037-78 | Болт | 16х1,5х120 исполнение 1 | В наличии | |
| ОСТ 1 31037-78 | Болт | 16х1,5х122 исполнение 1 | В наличии | |
| ОСТ 1 31037-78 | Болт | 16х1,5х124 исполнение 1 | В наличии | |
| ОСТ 1 31037-78 | Болт | 16х1,5х126 исполнение 1 | В наличии | |
| ОСТ 1 31037-78 | Болт | 16х1,5х128 исполнение 1 | В наличии | |
| ОСТ 1 31037-78 | Болт | 16х1,5х130 исполнение 1 | В наличии | |
| ОСТ 1 31037-78 | Болт | 16х1,5х132 исполнение 1 | В наличии | |
| ОСТ 1 31037-78 | Болт | 16х1,5х134 исполнение 1 | В наличии | |
| ОСТ 1 31037-78 | Болт | 16х1,5х136 исполнение 1 | В наличии | |
| ОСТ 1 31037-78 | Болт | 16х1,5х138 исполнение 1 | В наличии | |
| ОСТ 1 31037-78 | Болт | 16х1,5х140 исполнение 1 | В наличии | |
| ОСТ 1 31037-78 | Болт | 16х1,5х142 исполнение 1 | В наличии | |
| ОСТ 1 31037-78 | Болт | 16х1,5х144 исполнение 1 | В наличии | |
| ОСТ 1 31037-78 | Болт | 16х1,5х146 исполнение 1 | В наличии | |
| ОСТ 1 31037-78 | Болт | 16х1,5х148 исполнение 1 | В наличии | |
| ОСТ 1 31037-78 | Болт | 16х1,5х150 исполнение 1 | В наличии | |
| ОСТ 1 31037-78 | Болт | 16х1,5х106 исполнение 2 | В наличии | |
| ОСТ 1 31037-78 | Болт | 16х1,5х108 исполнение 2 | В наличии | |
| ОСТ 1 31037-78 | Болт | 16х1,5х110 исполнение 2 | В наличии | |
| ОСТ 1 31037-78 | Болт | 16х1,5х114 исполнение 2 | В наличии | |
| ОСТ 1 31037-78 | Болт | 16х1,5х116 исполнение 2 | В наличии | |
| ОСТ 1 31037-78 | Болт | 16х1,5х118 исполнение 2 | В наличии | |
| ОСТ 1 31037-78 | Болт | 16х1,5х120 исполнение 2 | В наличии | |
| ОСТ 1 31037-78 | Болт | 16х1,5х122 исполнение 2 | В наличии | |
| ОСТ 1 31037-78 | Болт | 16х1,5х124 исполнение 2 | В наличии | |
| ОСТ 1 31037-78 | Болт | 16х1,5х126 исполнение 2 | В наличии | |
| ОСТ 1 31037-78 | Болт | 16х1,5х128 исполнение 2 | В наличии | |
| ОСТ 1 31037-78 | Болт | 16х1,5х130 исполнение 2 | В наличии | |
| ОСТ 1 31037-78 | Болт | 16х1,5х132 исполнение 2 | В наличии | |
| ОСТ 1 31037-78 | Болт | 16х1,5х134 исполнение 2 | В наличии | |
| ОСТ 1 31037-78 | Болт | 16х1,5х136 исполнение 2 | В наличии | |
| ОСТ 1 31037-78 | Болт | 16х1,5х138 исполнение 2 | В наличии | |
| ОСТ 1 31037-78 | Болт | 16х1,5х140 исполнение 2 | В наличии | |
| ОСТ 1 31037-78 | Болт | 16х1,5х142 исполнение 2 | В наличии | |
| ОСТ 1 31037-78 | Болт | 16х1,5х144 исполнение 2 | В наличии | |
| ОСТ 1 31037-78 | Болт | 16х1,5х146 исполнение 2 | В наличии | |
| ОСТ 1 31037-78 | Болт | 16х1,5х148 исполнение 2 | В наличии | |
| ОСТ 1 31037-78 | Болт | 16х1,5х150 исполнение 2 | В наличии | |
| ОСТ 1 31037-78 | Болт | 18х1,5х106 исполнение 1 | В наличии | |
| ОСТ 1 31037-78 | Болт | 18х1,5х108 исполнение 1 | В наличии | |
| ОСТ 1 31037-78 | Болт | 18х1,5х110 исполнение 1 | В наличии | |
| ОСТ 1 31037-78 | Болт | 18х1,5х112 исполнение 1 | В наличии | |
| ОСТ 1 31037-78 | Болт | 18х1,5х114 исполнение 1 | В наличии | |
| ОСТ 1 31037-78 | Болт | 18х1,5х116 исполнение 1 | В наличии | |
| ОСТ 1 31037-78 | Болт | 18х1,5х118 исполнение 1 | В наличии | |
| ОСТ 1 31037-78 | Болт | 18х1,5х120 исполнение 1 | В наличии | |
| ОСТ 1 31037-78 | Болт | 18х1,5х122 исполнение 1 | В наличии | |
| ОСТ 1 31037-78 | Болт | 18х1,5х124 исполнение 1 | В наличии | |
| ОСТ 1 31037-78 | Болт | 18х1,5х126 исполнение 1 | В наличии | |
| ОСТ 1 31037-78 | Болт | 18х1,5х128 исполнение 1 | В наличии | |
| ОСТ 1 31037-78 | Болт | 18х1,5х130 исполнение 1 | В наличии | |
| ОСТ 1 31037-78 | Болт | 18х1,5х132 исполнение 1 | В наличии | |
| ОСТ 1 31037-78 | Болт | 18х1,5х134 исполнение 1 | В наличии | |
| ОСТ 1 31037-78 | Болт | 18х1,5х136 исполнение 1 | В наличии | |
| ОСТ 1 31037-78 | Болт | 18х1,5х138 исполнение 1 | В наличии | |
| ОСТ 1 31037-78 | Болт | 18х1,5х140 исполнение 1 | В наличии | |
| ОСТ 1 31037-78 | Болт | 18х1,5х142 исполнение 1 | В наличии | |
| ОСТ 1 31037-78 | Болт | 18х1,5х144 исполнение 1 | В наличии | |
| ОСТ 1 31037-78 | Болт | 18х1,5х146 исполнение 1 | В наличии | |
| ОСТ 1 31037-78 | Болт | 18х1,5х148 исполнение 1 | В наличии | |
| ОСТ 1 31037-78 | Болт | 18х1,5х150 исполнение 1 | В наличии | |
| ОСТ 1 31037-78 | Болт | 18х1,5х106 исполнение 2 | В наличии | |
| ОСТ 1 31037-78 | Болт | 18х1,5х108 исполнение 2 | В наличии | |
| ОСТ 1 31037-78 | Болт | 18х1,5х110 исполнение 2 | В наличии | |
| ОСТ 1 31037-78 | Болт | 18х1,5х112 исполнение 2 | В наличии | |
| ОСТ 1 31037-78 | Болт | 18х1,5х114 исполнение 2 | В наличии | |
| ОСТ 1 31037-78 | Болт | 18х1,5х116 исполнение 2 | В наличии | |
| ОСТ 1 31037-78 | Болт | 18х1,5х118 исполнение 2 | В наличии | |
| ОСТ 1 31037-78 | Болт | 18х1,5х120 исполнение 2 | В наличии | |
| ОСТ 1 31037-78 | Болт | 18х1,5х122 исполнение 2 | В наличии | |
| ОСТ 1 31037-78 | Болт | 18х1,5х124 исполнение 2 | В наличии | |
| ОСТ 1 31037-78 | Болт | 18х1,5х126 исполнение 2 | В наличии | |
| ОСТ 1 31037-78 | Болт | 18х1,5х128 исполнение 2 | В наличии | |
| ОСТ 1 31037-78 | Болт | 18х1,5х130 исполнение 2 | В наличии | |
| ОСТ 1 31037-78 | Болт | 18х1,5х132 исполнение 2 | В наличии | |
| ОСТ 1 31037-78 | Болт | 18х1,5х134 исполнение 2 | В наличии | |
| ОСТ 1 31037-78 | Болт | 18х1,5х136 исполнение 2 | В наличии | |
| ОСТ 1 31037-78 | Болт | 18х1,5х138 исполнение 2 | В наличии | |
| ОСТ 1 31037-78 | Болт | 18х1,5х140 исполнение 2 | В наличии | |
| ОСТ 1 31037-78 | Болт | 18х1,5х142 исполнение 2 | В наличии | |
| ОСТ 1 31037-78 | Болт | 18х1,5х144 исполнение 2 | В наличии | |
| ОСТ 1 31037-78 | Болт | 18х1,5х146 исполнение 2 | В наличии | |
| ОСТ 1 31037-78 | Болт | 18х1,5х148 исполнение 2 | В наличии | |
| ОСТ 1 31037-78 | Болт | 18х1,5х150 исполнение 2 | В наличии | |
| ОСТ 1 31037-78 | Болт | 20х1,5х106 исполнение 1 | В наличии | |
| ОСТ 1 31037-78 | Болт | 20х1,5х108 исполнение 1 | В наличии | |
| ОСТ 1 31037-78 | Болт | 20х1,5х110 исполнение 1 | В наличии | |
| ОСТ 1 31037-78 | Болт | 20х1,5х112 исполнение 1 | В наличии | |
| ОСТ 1 31037-78 | Болт | 20х1,5х114 исполнение 1 | В наличии | |
| ОСТ 1 31037-78 | Болт | 20х1,5х116 исполнение 1 | В наличии | |
| ОСТ 1 31037-78 | Болт | 20х1,5х118 исполнение 1 | В наличии | |
| ОСТ 1 31037-78 | Болт | 20х1,5х120 исполнение 1 | В наличии | |
| ОСТ 1 31037-78 | Болт | 20х1,5х122 исполнение 1 | В наличии | |
| ОСТ 1 31037-78 | Болт | 20х1,5х124 исполнение 1 | В наличии | |
| ОСТ 1 31037-78 | Болт | 20х1,5х126 исполнение 1 | В наличии | |
| ОСТ 1 31037-78 | Болт | 20х1,5х128 исполнение 1 | В наличии | |
| ОСТ 1 31037-78 | Болт | 20х1,5х130 исполнение 1 | В наличии | |
| ОСТ 1 31037-78 | Болт | 20х1,5х132 исполнение 1 | В наличии | |
| ОСТ 1 31037-78 | Болт | 20х1,5х134 исполнение 1 | В наличии | |
| ОСТ 1 31037-78 | Болт | 20х1,5х136 исполнение 1 | В наличии | |
| ОСТ 1 31037-78 | Болт | 20х1,5х138 исполнение 1 | В наличии | |
| ОСТ 1 31037-78 | Болт | 20х1,5х140 исполнение 1 | В наличии | |
| ОСТ 1 31037-78 | Болт | 20х1,5х142 исполнение 1 | В наличии | |
| ОСТ 1 31037-78 | Болт | 20х1,5х144 исполнение 1 | В наличии | |
| ОСТ 1 31037-78 | Болт | 20х1,5х146 исполнение 1 | В наличии | |
| ОСТ 1 31037-78 | Болт | 20х1,5х148 исполнение 1 | В наличии | |
| ОСТ 1 31037-78 | Болт | 20х1,5х150 исполнение 1 | В наличии | |
| ОСТ 1 31037-78 | Болт | 20х1,5х106 исполнение 2 | В наличии | |
| ОСТ 1 31037-78 | Болт | 20х1,5х108 исполнение 2 | В наличии | |
| ОСТ 1 31037-78 | Болт | 20х1,5х110 исполнение 2 | В наличии | |
| ОСТ 1 31037-78 | Болт | 20х1,5х112 исполнение 2 | В наличии | |
| ОСТ 1 31037-78 | Болт | 20х1,5х114 исполнение 2 | В наличии | |
| ОСТ 1 31037-78 | Болт | 20х1,5х116 исполнение 2 | В наличии | |
| ОСТ 1 31037-78 | Болт | 20х1,5х118 исполнение 2 | В наличии | |
| ОСТ 1 31037-78 | Болт | 20х1,5х120 исполнение 2 | В наличии | |
| ОСТ 1 31037-78 | Болт | 20х1,5х122 исполнение 2 | В наличии | |
| ОСТ 1 31037-78 | Болт | 20х1,5х124 исполнение 2 | В наличии | |
| ОСТ 1 31037-78 | Болт | 20х1,5х126 исполнение 2 | В наличии | |
| ОСТ 1 31037-78 | Болт | 20х1,5х128 исполнение 2 | В наличии | |
| ОСТ 1 31037-78 | Болт | 20х1,5х130 исполнение 2 | В наличии | |
| ОСТ 1 31037-78 | Болт | 20х1,5х132 исполнение 2 | В наличии | |
| ОСТ 1 31037-78 | Болт | 20х1,5х134 исполнение 2 | В наличии | |
| ОСТ 1 31037-78 | Болт | 20х1,5х136 исполнение 2 | В наличии | |
| ОСТ 1 31037-78 | Болт | 20х1,5х138 исполнение 2 | В наличии | |
| ОСТ 1 31037-78 | Болт | 20х1,5х140 исполнение 2 | В наличии | |
| ОСТ 1 31037-78 | Болт | 20х1,5х142 исполнение 2 | В наличии | |
| ОСТ 1 31037-78 | Болт | 20х1,5х144 исполнение 2 | В наличии | |
| ОСТ 1 31037-78 | Болт | 20х1,5х146 исполнение 2 | В наличии | |
| ОСТ 1 31037-78 | Болт | 20х1,5х148 исполнение 2 | В наличии | |
| ОСТ 1 31037-78 | Болт | 20х1,5х150 исполнение 2 | В наличии | |
| ОСТ 1 31037-78 | Болт | 6х17 исполнение 3 | В наличии | |
| ОСТ 1 31037-78 | Болт | 6х18 исполнение 3 | В наличии | |
| ОСТ 1 31037-78 | Болт | 6х19 исполнение 3 | В наличии | |
| ОСТ 1 31037-78 | Болт | 6х20 исполнение 3 | В наличии | |
| ОСТ 1 31037-78 | Болт | 6х21 исполнение 3 | В наличии | |
| ОСТ 1 31037-78 | Болт | 6х22 исполнение 3 | В наличии | |
| ОСТ 1 31037-78 | Болт | 6х23 исполнение 3 | В наличии | |
| ОСТ 1 31037-78 | Болт | 6х24 исполнение 3 | В наличии | |
| ОСТ 1 31037-78 | Болт | 6х25 исполнение 3 | В наличии | |
| ОСТ 1 31037-78 | Болт | 6х26 исполнение 3 | В наличии | |
| ОСТ 1 31037-78 | Болт | 6х27 исполнение 3 | В наличии | |
| ОСТ 1 31037-78 | Болт | 6х28 исполнение 3 | В наличии | |
| ОСТ 1 31037-78 | Болт | 6х29 исполнение 3 | В наличии | |
| ОСТ 1 31037-78 | Болт | 6х30 исполнение 3 | В наличии | |
| ОСТ 1 31037-78 | Болт | 6х31 исполнение 3 | В наличии | |
| ОСТ 1 31037-78 | Болт | 6х32 исполнение 3 | В наличии | |
| ОСТ 1 31037-78 | Болт | 6х33 исполнение 3 | В наличии | |
| ОСТ 1 31037-78 | Болт | 6х34 исполнение 3 | В наличии | |
| ОСТ 1 31037-78 | Болт | 6х35 исполнение 3 | В наличии | |
| ОСТ 1 31037-78 | Болт | 6х36 исполнение 3 | В наличии | |
| ОСТ 1 31037-78 | Болт | 6х37 исполнение 3 | В наличии | |
| ОСТ 1 31037-78 | Болт | 6х38 исполнение 3 | В наличии | |
| ОСТ 1 31037-78 | Болт | 6х39 исполнение 3 | В наличии | |
| ОСТ 1 31037-78 | Болт | 6х40 исполнение 3 | В наличии | |
| ОСТ 1 31037-78 | Болт | 6х41 исполнение 3 | В наличии | |
| ОСТ 1 31037-78 | Болт | 6х42 исполнение 3 | В наличии | |
| ОСТ 1 31037-78 | Болт | 6х44 исполнение 3 | В наличии | |
| ОСТ 1 31037-78 | Болт | 6х46 исполнение 3 | В наличии | |
| ОСТ 1 31037-78 | Болт | 6х48 исполнение 3 | В наличии | |
| ОСТ 1 31037-78 | Болт | 6х50 исполнение 3 | В наличии | |
| ОСТ 1 31037-78 | Болт | 8х20 исполнение 3 | В наличии | |
| ОСТ 1 31037-78 | Болт | 8х21 исполнение 3 | В наличии | |
| ОСТ 1 31037-78 | Болт | 8х22 исполнение 3 | В наличии | |
| ОСТ 1 31037-78 | Болт | 8х23 исполнение 3 | В наличии | |
| ОСТ 1 31037-78 | Болт | 8х24 исполнение 3 | В наличии | |
| ОСТ 1 31037-78 | Болт | 8х25 исполнение 3 | В наличии | |
| ОСТ 1 31037-78 | Болт | 8х26 исполнение 3 | В наличии | |
| ОСТ 1 31037-78 | Болт | 8х27 исполнение 3 | В наличии | |
| ОСТ 1 31037-78 | Болт | 8х28 исполнение 3 | В наличии | |
| ОСТ 1 31037-78 | Болт | 8х29 исполнение 3 | В наличии | |
| ОСТ 1 31037-78 | Болт | 8х30 исполнение 3 | В наличии | |
| ОСТ 1 31037-78 | Болт | 8х31 исполнение 3 | В наличии | |
| ОСТ 1 31037-78 | Болт | 8х32 исполнение 3 | В наличии | |
| ОСТ 1 31037-78 | Болт | 8х33 исполнение 3 | В наличии | |
| ОСТ 1 31037-78 | Болт | 8х34 исполнение 3 | В наличии | |
| ОСТ 1 31037-78 | Болт | 8х35 исполнение 3 | В наличии | |
| ОСТ 1 31037-78 | Болт | 8х36 исполнение 3 | В наличии | |
| ОСТ 1 31037-78 | Болт | 8х37 исполнение 3 | В наличии | |
| ОСТ 1 31037-78 | Болт | 8х38 исполнение 3 | В наличии | |
| ОСТ 1 31037-78 | Болт | 8х39 исполнение 3 | В наличии | |
| ОСТ 1 31037-78 | Болт | 8х40 исполнение 3 | В наличии | |
| ОСТ 1 31037-78 | Болт | 8х41 исполнение 3 | В наличии | |
| ОСТ 1 31037-78 | Болт | 8х42 исполнение 3 | В наличии | |
| ОСТ 1 31037-78 | Болт | 8х43 исполнение 3 | В наличии | |
| ОСТ 1 31037-78 | Болт | 8х44 исполнение 3 | В наличии | |
| ОСТ 1 31037-78 | Болт | 8х46 исполнение 3 | В наличии | |
| ОСТ 1 31037-78 | Болт | 8х48 исполнение 3 | В наличии | |
| ОСТ 1 31037-78 | Болт | 8х50 исполнение 3 | В наличии | |
| ОСТ 1 31037-78 | Болт | 10х26 исполнение 3 | В наличии | |
| ОСТ 1 31037-78 | Болт | 10х27 исполнение 3 | В наличии | |
| ОСТ 1 31037-78 | Болт | 10х28 исполнение 3 | В наличии | |
| ОСТ 1 31037-78 | Болт | 10х29 исполнение 3 | В наличии | |
| ОСТ 1 31037-78 | Болт | 10х30 исполнение 3 | В наличии | |
| ОСТ 1 31037-78 | Болт | 10х31 исполнение 3 | В наличии | |
| ОСТ 1 31037-78 | Болт | 10х32 исполнение 3 | В наличии | |
| ОСТ 1 31037-78 | Болт | 10х33 исполнение 3 | В наличии | |
| ОСТ 1 31037-78 | Болт | 10х34 исполнение 3 | В наличии | |
| ОСТ 1 31037-78 | Болт | 10х35 исполнение 3 | В наличии | |
| ОСТ 1 31037-78 | Болт | 10х36 исполнение 3 | В наличии | |
| ОСТ 1 31037-78 | Болт | 10х37 исполнение 3 | В наличии | |
| ОСТ 1 31037-78 | Болт | 10х38 исполнение 3 | В наличии | |
| ОСТ 1 31037-78 | Болт | 10х39 исполнение 3 | В наличии | |
| ОСТ 1 31037-78 | Болт | 10х40 исполнение 3 | В наличии | |
| ОСТ 1 31037-78 | Болт | 10х41 исполнение 3 | В наличии | |
| ОСТ 1 31037-78 | Болт | 10х42 исполнение 3 | В наличии | |
| ОСТ 1 31037-78 | Болт | 10х43 исполнение 3 | В наличии | |
| ОСТ 1 31037-78 | Болт | 10х44 исполнение 3 | В наличии | |
| ОСТ 1 31037-78 | Болт | 10х45 исполнение 3 | В наличии | |
| ОСТ 1 31037-78 | Болт | 10х46 исполнение 3 | В наличии | |
| ОСТ 1 31037-78 | Болт | 10х47 исполнение 3 | В наличии | |
| ОСТ 1 31037-78 | Болт | 10х48 исполнение 3 | В наличии | |
| ОСТ 1 31037-78 | Болт | 10х50 исполнение 3 | В наличии | |
| ОСТ 1 31037-78 | Болт | 12х1,5х30 исполнение 3 | В наличии | |
| ОСТ 1 31037-78 | Болт | 12х1,5х31 исполнение 3 | В наличии | |
| ОСТ 1 31037-78 | Болт | 12х1,5х32 исполнение 3 | В наличии | |
| ОСТ 1 31037-78 | Болт | 12х1,5х33 исполнение 3 | В наличии | |
| ОСТ 1 31037-78 | Болт | 12х1,5х34 исполнение 3 | В наличии | |
| ОСТ 1 31037-78 | Болт | 12х1,5х35 исполнение 3 | В наличии | |
| ОСТ 1 31037-78 | Болт | 12х1,5х36 исполнение 3 | В наличии | |
| ОСТ 1 31037-78 | Болт | 12х1,5х37 исполнение 3 | В наличии | |
| ОСТ 1 31037-78 | Болт | 12х1,5х38 исполнение 3 | В наличии | |
| ОСТ 1 31037-78 | Болт | 12х1,5х39 исполнение 3 | В наличии | |
| ОСТ 1 31037-78 | Болт | 12х1,5х40 исполнение 3 | В наличии | |
| ОСТ 1 31037-78 | Болт | 12х1,5х41 исполнение 3 | В наличии | |
| ОСТ 1 31037-78 | Болт | 12х1,5х42 исполнение 3 | В наличии | |
| ОСТ 1 31037-78 | Болт | 12х1,5х43 исполнение 3 | В наличии | |
| ОСТ 1 31037-78 | Болт | 12х1,5х44 исполнение 3 | В наличии | |
| ОСТ 1 31037-78 | Болт | 12х1,5х45 исполнение 3 | В наличии | |
| ОСТ 1 31037-78 | Болт | 12х1,5х46 исполнение 3 | В наличии | |
| ОСТ 1 31037-78 | Болт | 12х1,5х47 исполнение 3 | В наличии | |
| ОСТ 1 31037-78 | Болт | 12х1,5х48 исполнение 3 | В наличии | |
| ОСТ 1 31037-78 | Болт | 12х1,5х49 исполнение 3 | В наличии | |
| ОСТ 1 31037-78 | Болт | 12х1,5х50 исполнение 3 | В наличии | |
| ОСТ 1 31037-78 | Болт | 14х1,5х32 исполнение 3 | В наличии | |
| ОСТ 1 31037-78 | Болт | 14х1,5х33 исполнение 3 | В наличии | |
| ОСТ 1 31037-78 | Болт | 14х1,5х34 исполнение 3 | В наличии | |
| ОСТ 1 31037-78 | Болт | 14х1,5х35 исполнение 3 | В наличии | |
| ОСТ 1 31037-78 | Болт | 14х1,5х36 исполнение 3 | В наличии | |
| ОСТ 1 31037-78 | Болт | 14х1,5х37 исполнение 3 | В наличии | |
| ОСТ 1 31037-78 | Болт | 14х1,5х38 исполнение 3 | В наличии | |
| ОСТ 1 31037-78 | Болт | 14х1,5х39 исполнение 3 | В наличии | |
| ОСТ 1 31037-78 | Болт | 14х1,5х40 исполнение 3 | В наличии | |
| ОСТ 1 31037-78 | Болт | 14х1,5х41 исполнение 3 | В наличии | |
| ОСТ 1 31037-78 | Болт | 14х1,5х42 исполнение 3 | В наличии | |
| ОСТ 1 31037-78 | Болт | 14х1,5х43 исполнение 3 | В наличии | |
| ОСТ 1 31037-78 | Болт | 14х1,5х44 исполнение 3 | В наличии | |
| ОСТ 1 31037-78 | Болт | 14х1,5х45 исполнение 3 | В наличии | |
| ОСТ 1 31037-78 | Болт | 14х1,5х46 исполнение 3 | В наличии | |
| ОСТ 1 31037-78 | Болт | 14х1,5х47 исполнение 3 | В наличии | |
| ОСТ 1 31037-78 | Болт | 14х1,5х48 исполнение 3 | В наличии | |
| ОСТ 1 31037-78 | Болт | 14х1,5х49 исполнение 3 | В наличии | |
| ОСТ 1 31037-78 | Болт | 14х1,5х50 исполнение 3 | В наличии | |
| ОСТ 1 31037-78 | Болт | 14х1,5х51 исполнение 3 | В наличии | |
| ОСТ 1 31037-78 | Болт | 16х1,5х34 исполнение 3 | В наличии | |
| ОСТ 1 31037-78 | Болт | 16х1,5х35 исполнение 3 | В наличии | |
| ОСТ 1 31037-78 | Болт | 16х1,5х36 исполнение 3 | В наличии | |
| ОСТ 1 31037-78 | Болт | 16х1,5х37 исполнение 3 | В наличии | |
| ОСТ 1 31037-78 | Болт | 16х1,5х38 исполнение 3 | В наличии | |
| ОСТ 1 31037-78 | Болт | 16х1,5х39 исполнение 3 | В наличии | |
| ОСТ 1 31037-78 | Болт | 16х1,5х40 исполнение 3 | В наличии | |
| ОСТ 1 31037-78 | Болт | 16х1,5х41 исполнение 3 | В наличии | |
| ОСТ 1 31037-78 | Болт | 16х1,5х42 исполнение 3 | В наличии | |
| ОСТ 1 31037-78 | Болт | 16х1,5х43 исполнение 3 | В наличии | |
| ОСТ 1 31037-78 | Болт | 16х1,5х44 исполнение 3 | В наличии | |
| ОСТ 1 31037-78 | Болт | 16х1,5х45 исполнение 3 | В наличии | |
| ОСТ 1 31037-78 | Болт | 16х1,5х46 исполнение 3 | В наличии | |
| ОСТ 1 31037-78 | Болт | 16х1,5х47 исполнение 3 | В наличии | |
| ОСТ 1 31037-78 | Болт | 16х1,5х48 исполнение 3 | В наличии | |
| ОСТ 1 31037-78 | Болт | 16х1,5х49 исполнение 3 | В наличии | |
| ОСТ 1 31037-78 | Болт | 16х1,5х50 исполнение 3 | В наличии | |
| ОСТ 1 31037-78 | Болт | 16х1,5х51 исполнение 3 | В наличии | |
| ОСТ 1 31037-78 | Болт | 18х1,5х37 исполнение 3 | В наличии | |
| ОСТ 1 31037-78 | Болт | 18х1,5х38 исполнение 3 | В наличии | |
| ОСТ 1 31037-78 | Болт | 18х1,5х39 исполнение 3 | В наличии | |
| ОСТ 1 31037-78 | Болт | 18х1,5х40 исполнение 3 | В наличии | |
| ОСТ 1 31037-78 | Болт | 18х1,5х41 исполнение 3 | В наличии | |
| ОСТ 1 31037-78 | Болт | 18х1,5х42 исполнение 3 | В наличии | |
| ОСТ 1 31037-78 | Болт | 18х1,5х43 исполнение 3 | В наличии | |
| ОСТ 1 31037-78 | Болт | 18х1,5х44 исполнение 3 | В наличии | |
| ОСТ 1 31037-78 | Болт | 18х1,5х45 исполнение 3 | В наличии | |
| ОСТ 1 31037-78 | Болт | 18х1,5х46 исполнение 3 | В наличии | |
| ОСТ 1 31037-78 | Болт | 18х1,5х47 исполнение 3 | В наличии | |
| ОСТ 1 31037-78 | Болт | 18х1,5х48 исполнение 3 | В наличии | |
| ОСТ 1 31037-78 | Болт | 18х1,5х49 исполнение 3 | В наличии | |
| ОСТ 1 31037-78 | Болт | 18х1,5х50 исполнение 3 | В наличии | |
| ОСТ 1 31037-78 | Болт | 18х1,5х51 исполнение 3 | В наличии | |
| ОСТ 1 31037-78 | Болт | 20х1,5х40 исполнение 3 | В наличии | |
| ОСТ 1 31037-78 | Болт | 20х1,5х41 исполнение 3 | В наличии | |
| ОСТ 1 31037-78 | Болт | 20х1,5х42 исполнение 3 | В наличии | |
| ОСТ 1 31037-78 | Болт | 20х1,5х43 исполнение 3 | В наличии | |
| ОСТ 1 31037-78 | Болт | 20х1,5х44 исполнение 3 | В наличии | |
| ОСТ 1 31037-78 | Болт | 20х1,5х45 исполнение 3 | В наличии | |
| ОСТ 1 31037-78 | Болт | 20х1,5х46 исполнение 3 | В наличии | |
| ОСТ 1 31037-78 | Болт | 20х1,5х47 исполнение 3 | В наличии | |
| ОСТ 1 31037-78 | Болт | 20х1,5х48 исполнение 3 | В наличии | |
| ОСТ 1 31037-78 | Болт | 20х1,5х49 исполнение 3 | В наличии | |
| ОСТ 1 31037-78 | Болт | 20х1,5х50 исполнение 3 | В наличии | |
| ОСТ 1 31037-78 | Болт | 20х1,5х51 исполнение 3 | В наличии | |
| ОСТ 1 31037-78 | Болт | 6х52 исполнение 3 | В наличии | |
| ОСТ 1 31037-78 | Болт | 6х54 исполнение 3 | В наличии | |
| ОСТ 1 31037-78 | Болт | 6х56 исполнение 3 | В наличии | |
| ОСТ 1 31037-78 | Болт | 6х58 исполнение 3 | В наличии | |
| ОСТ 1 31037-78 | Болт | 6х60 исполнение 3 | В наличии | |
| ОСТ 1 31037-78 | Болт | 6х62 исполнение 3 | В наличии | |
| ОСТ 1 31037-78 | Болт | 6х64 исполнение 3 | В наличии | |
| ОСТ 1 31037-78 | Болт | 6х66 исполнение 3 | В наличии | |
| ОСТ 1 31037-78 | Болт | 6х68 исполнение 3 | В наличии | |
| ОСТ 1 31037-78 | Болт | 6х70 исполнение 3 | В наличии | |
| ОСТ 1 31037-78 | Болт | 6х72 исполнение 3 | В наличии | |
| ОСТ 1 31037-78 | Болт | 8х52 исполнение 3 | В наличии | |
| ОСТ 1 31037-78 | Болт | 8х54 исполнение 3 | В наличии | |
| ОСТ 1 31037-78 | Болт | 8х56 исполнение 3 | В наличии | |
| ОСТ 1 31037-78 | Болт | 8х58 исполнение 3 | В наличии | |
| ОСТ 1 31037-78 | Болт | 8х60 исполнение 3 | В наличии | |
| ОСТ 1 31037-78 | Болт | 8х62 исполнение 3 | В наличии | |
| ОСТ 1 31037-78 | Болт | 8х64 исполнение 3 | В наличии | |
| ОСТ 1 31037-78 | Болт | 8х66 исполнение 3 | В наличии | |
| ОСТ 1 31037-78 | Болт | 8х68 исполнение 3 | В наличии | |
| ОСТ 1 31037-78 | Болт | 8х70 исполнение 3 | В наличии | |
| ОСТ 1 31037-78 | Болт | 8х72 исполнение 3 | В наличии | |
| ОСТ 1 31037-78 | Болт | 8х74 исполнение 3 | В наличии | |
| ОСТ 1 31037-78 | Болт | 8х76 исполнение 3 | В наличии | |
| ОСТ 1 31037-78 | Болт | 8х78 исполнение 3 | В наличии | |
| ОСТ 1 31037-78 | Болт | 8х80 исполнение 3 | В наличии | |
| ОСТ 1 31037-78 | Болт | 8х82 исполнение 3 | В наличии | |
| ОСТ 1 31037-78 | Болт | 8х84 исполнение 3 | В наличии | |
| ОСТ 1 31037-78 | Болт | 8х86 исполнение 3 | В наличии | |
| ОСТ 1 31037-78 | Болт | 8х88 исполнение 3 | В наличии | |
| ОСТ 1 31037-78 | Болт | 8х90 исполнение 3 | В наличии | |
| ОСТ 1 31037-78 | Болт | 8х92 исполнение 3 | В наличии | |
| ОСТ 1 31037-78 | Болт | 8х94 исполнение 3 | В наличии | |
| ОСТ 1 31037-78 | Болт | 8х96 исполнение 3 | В наличии | |
| ОСТ 1 31037-78 | Болт | 10х52 исполнение 3 | В наличии | |
| ОСТ 1 31037-78 | Болт | 10х54 исполнение 3 | В наличии | |
| ОСТ 1 31037-78 | Болт | 10х56 исполнение 3 | В наличии | |
| ОСТ 1 31037-78 | Болт | 10х58 исполнение 3 | В наличии | |
| ОСТ 1 31037-78 | Болт | 10х60 исполнение 3 | В наличии | |
| ОСТ 1 31037-78 | Болт | 10х62 исполнение 3 | В наличии | |
| ОСТ 1 31037-78 | Болт | 10х64 исполнение 3 | В наличии | |
| ОСТ 1 31037-78 | Болт | 10х66 исполнение 3 | В наличии | |
| ОСТ 1 31037-78 | Болт | 10х68 исполнение 3 | В наличии | |
| ОСТ 1 31037-78 | Болт | 10х70 исполнение 3 | В наличии | |
| ОСТ 1 31037-78 | Болт | 10х72 исполнение 3 | В наличии | |
| ОСТ 1 31037-78 | Болт | 10х74 исполнение 3 | В наличии | |
| ОСТ 1 31037-78 | Болт | 10х76 исполнение 3 | В наличии | |
| ОСТ 1 31037-78 | Болт | 10х78 исполнение 3 | В наличии | |
| ОСТ 1 31037-78 | Болт | 10х80 исполнение 3 | В наличии | |
| ОСТ 1 31037-78 | Болт | 10х82 исполнение 3 | В наличии | |
| ОСТ 1 31037-78 | Болт | 10х84 исполнение 3 | В наличии | |
| ОСТ 1 31037-78 | Болт | 10х86 исполнение 3 | В наличии | |
| ОСТ 1 31037-78 | Болт | 10х88 исполнение 3 | В наличии | |
| ОСТ 1 31037-78 | Болт | 10х90 исполнение 3 | В наличии | |
| ОСТ 1 31037-78 | Болт | 10х92 исполнение 3 | В наличии | |
| ОСТ 1 31037-78 | Болт | 10х94 исполнение 3 | В наличии | |
| ОСТ 1 31037-78 | Болт | 10х96 исполнение 3 | В наличии | |
| ОСТ 1 31037-78 | Болт | 10х98 исполнение 3 | В наличии | |
| ОСТ 1 31037-78 | Болт | 10х100 исполнение 3 | В наличии | |
| ОСТ 1 31037-78 | Болт | 10х102 исполнение 3 | В наличии | |
| ОСТ 1 31037-78 | Болт | 10х104 исполнение 3 | В наличии | |
| ОСТ 1 31037-78 | Болт | 10х106 исполнение 3 | В наличии | |
| ОСТ 1 31037-78 | Болт | 10х108 исполнение 3 | В наличии | |
| ОСТ 1 31037-78 | Болт | 10х110 исполнение 3 | В наличии | |
| ОСТ 1 31037-78 | Болт | 10х112 исполнение 3 | В наличии | |
| ОСТ 1 31037-78 | Болт | 10х114 исполнение 3 | В наличии | |
| ОСТ 1 31037-78 | Болт | 10х116 исполнение 3 | В наличии | |
| ОСТ 1 31037-78 | Болт | 12х1,5х52 исполнение 3 | В наличии | |
| ОСТ 1 31037-78 | Болт | 12х1,5х54 исполнение 3 | В наличии | |
| ОСТ 1 31037-78 | Болт | 12х1,5х56 исполнение 3 | В наличии | |
| ОСТ 1 31037-78 | Болт | 12х1,5х58 исполнение 3 | В наличии | |
| ОСТ 1 31037-78 | Болт | 12х1,5х60 исполнение 3 | В наличии | |
| ОСТ 1 31037-78 | Болт | 12х1,5х62 исполнение 3 | В наличии | |
| ОСТ 1 31037-78 | Болт | 12х1,5х64 исполнение 3 | В наличии | |
| ОСТ 1 31037-78 | Болт | 12х1,5х66 исполнение 3 | В наличии | |
| ОСТ 1 31037-78 | Болт | 12х1,5х68 исполнение 3 | В наличии | |
| ОСТ 1 31037-78 | Болт | 12х1,5х70 исполнение 3 | В наличии | |
| ОСТ 1 31037-78 | Болт | 12х1,5х72 исполнение 3 | В наличии | |
| ОСТ 1 31037-78 | Болт | 12х1,5х74 исполнение 3 | В наличии | |
| ОСТ 1 31037-78 | Болт | 12х1,5х76 исполнение 3 | В наличии | |
| ОСТ 1 31037-78 | Болт | 12х1,5х78 исполнение 3 | В наличии | |
| ОСТ 1 31037-78 | Болт | 12х1,5х80 исполнение 3 | В наличии | |
| ОСТ 1 31037-78 | Болт | 12х1,5х82 исполнение 3 | В наличии | |
| ОСТ 1 31037-78 | Болт | 12х1,5х84 исполнение 3 | В наличии | |
| ОСТ 1 31037-78 | Болт | 12х1,5х86 исполнение 3 | В наличии | |
| ОСТ 1 31037-78 | Болт | 12х1,5х88 исполнение 3 | В наличии | |
| ОСТ 1 31037-78 | Болт | 12х1,5х90 исполнение 3 | В наличии | |
| ОСТ 1 31037-78 | Болт | 12х1,5х92 исполнение 3 | В наличии | |
| ОСТ 1 31037-78 | Болт | 12х1,5х94 исполнение 3 | В наличии | |
| ОСТ 1 31037-78 | Болт | 12х1,5х96 исполнение 3 | В наличии | |
| ОСТ 1 31037-78 | Болт | 12х1,5х98 исполнение 3 | В наличии | |
| ОСТ 1 31037-78 | Болт | 12х1,5х100 исполнение 3 | В наличии | |
| ОСТ 1 31037-78 | Болт | 12х1,5х102 исполнение 3 | В наличии | |
| ОСТ 1 31037-78 | Болт | 12х1,5х104 исполнение 3 | В наличии | |
| ОСТ 1 31037-78 | Болт | 12х1,5х106 исполнение 3 | В наличии | |
| ОСТ 1 31037-78 | Болт | 12х1,5х108 исполнение 3 | В наличии | |
| ОСТ 1 31037-78 | Болт | 12х1,5х110 исполнение 3 | В наличии | |
| ОСТ 1 31037-78 | Болт | 12х1,5х112 исполнение 3 | В наличии | |
| ОСТ 1 31037-78 | Болт | 12х1,5х114 исполнение 3 | В наличии | |
| ОСТ 1 31037-78 | Болт | 12х1,5х116 исполнение 3 | В наличии | |
| ОСТ 1 31037-78 | Болт | 14х1,5х52 исполнение 3 | В наличии | |
| ОСТ 1 31037-78 | Болт | 14х1,5х54 исполнение 3 | В наличии | |
| ОСТ 1 31037-78 | Болт | 14х1,5х56 исполнение 3 | В наличии | |
| ОСТ 1 31037-78 | Болт | 14х1,5х58 исполнение 3 | В наличии | |
| ОСТ 1 31037-78 | Болт | 14х1,5х60 исполнение 3 | В наличии | |
| ОСТ 1 31037-78 | Болт | 14х1,5х62 исполнение 3 | В наличии | |
| ОСТ 1 31037-78 | Болт | 14х1,5х64 исполнение 3 | В наличии | |
| ОСТ 1 31037-78 | Болт | 14х1,5х66 исполнение 3 | В наличии | |
| ОСТ 1 31037-78 | Болт | 14х1,5х68 исполнение 3 | В наличии | |
| ОСТ 1 31037-78 | Болт | 14х1,5х70 исполнение 3 | В наличии | |
| ОСТ 1 31037-78 | Болт | 14х1,5х72 исполнение 3 | В наличии | |
| ОСТ 1 31037-78 | Болт | 14х1,5х74 исполнение 3 | В наличии | |
| ОСТ 1 31037-78 | Болт | 14х1,5х76 исполнение 3 | В наличии | |
| ОСТ 1 31037-78 | Болт | 14х1,5х78 исполнение 3 | В наличии | |
| ОСТ 1 31037-78 | Болт | 14х1,5х80 исполнение 3 | В наличии | |
| ОСТ 1 31037-78 | Болт | 14х1,5х82 исполнение 3 | В наличии | |
| ОСТ 1 31037-78 | Болт | 14х1,5х84 исполнение 3 | В наличии | |
| ОСТ 1 31037-78 | Болт | 14х1,5х86 исполнение 3 | В наличии | |
| ОСТ 1 31037-78 | Болт | 14х1,5х88 исполнение 3 | В наличии | |
| ОСТ 1 31037-78 | Болт | 14х1,5х90 исполнение 3 | В наличии | |
| ОСТ 1 31037-78 | Болт | 14х1,5х92 исполнение 3 | В наличии | |
| ОСТ 1 31037-78 | Болт | 14х1,5х94 исполнение 3 | В наличии | |
| ОСТ 1 31037-78 | Болт | 14х1,5х96 исполнение 3 | В наличии | |
| ОСТ 1 31037-78 | Болт | 14х1,5х98 исполнение 3 | В наличии | |
| ОСТ 1 31037-78 | Болт | 14х1,5х100 исполнение 3 | В наличии | |
| ОСТ 1 31037-78 | Болт | 14х1,5х102 исполнение 3 | В наличии | |
| ОСТ 1 31037-78 | Болт | 14х1,5х104 исполнение 3 | В наличии | |
| ОСТ 1 31037-78 | Болт | 14х1,5х106 исполнение 3 | В наличии | |
| ОСТ 1 31037-78 | Болт | 14х1,5х108 исполнение 3 | В наличии | |
| ОСТ 1 31037-78 | Болт | 14х1,5х110 исполнение 3 | В наличии | |
| ОСТ 1 31037-78 | Болт | 14х1,5х112 исполнение 3 | В наличии | |
| ОСТ 1 31037-78 | Болт | 14х1,5х114 исполнение 3 | В наличии | |
| ОСТ 1 31037-78 | Болт | 14х1,5х116 исполнение 3 | В наличии | |
| ОСТ 1 31037-78 | Болт | 16х1,5х52 исполнение 3 | В наличии | |
| ОСТ 1 31037-78 | Болт | 16х1,5х53 исполнение 3 | В наличии | |
| ОСТ 1 31037-78 | Болт | 16х1,5х54 исполнение 3 | В наличии | |
| ОСТ 1 31037-78 | Болт | 16х1,5х56 исполнение 3 | В наличии | |
| ОСТ 1 31037-78 | Болт | 16х1,5х58 исполнение 3 | В наличии | |
| ОСТ 1 31037-78 | Болт | 16х1,5х60 исполнение 3 | В наличии | |
| ОСТ 1 31037-78 | Болт | 16х1,5х62 исполнение 3 | В наличии | |
| ОСТ 1 31037-78 | Болт | 16х1,5х64 исполнение 3 | В наличии | |
| ОСТ 1 31037-78 | Болт | 16х1,5х66 исполнение 3 | В наличии | |
| ОСТ 1 31037-78 | Болт | 16х1,5х68 исполнение 3 | В наличии | |
| ОСТ 1 31037-78 | Болт | 16х1,5х70 исполнение 3 | В наличии | |
| ОСТ 1 31037-78 | Болт | 16х1,5х72 исполнение 3 | В наличии | |
| ОСТ 1 31037-78 | Болт | 16х1,5х74 исполнение 3 | В наличии | |
| ОСТ 1 31037-78 | Болт | 16х1,5х76 исполнение 3 | В наличии | |
| ОСТ 1 31037-78 | Болт | 16х1,5х78 исполнение 3 | В наличии | |
| ОСТ 1 31037-78 | Болт | 16х1,5х80 исполнение 3 | В наличии | |
| ОСТ 1 31037-78 | Болт | 16х1,5х82 исполнение 3 | В наличии | |
| ОСТ 1 31037-78 | Болт | 16х1,5х84 исполнение 3 | В наличии | |
| ОСТ 1 31037-78 | Болт | 16х1,5х86 исполнение 3 | В наличии | |
| ОСТ 1 31037-78 | Болт | 16х1,5х88 исполнение 3 | В наличии | |
| ОСТ 1 31037-78 | Болт | 16х1,5х90 исполнение 3 | В наличии | |
| ОСТ 1 31037-78 | Болт | 16х1,5х92 исполнение 3 | В наличии | |
| ОСТ 1 31037-78 | Болт | 16х1,5х94 исполнение 3 | В наличии | |
| ОСТ 1 31037-78 | Болт | 16х1,5х96 исполнение 3 | В наличии | |
| ОСТ 1 31037-78 | Болт | 16х1,5х98 исполнение 3 | В наличии | |
| ОСТ 1 31037-78 | Болт | 16х1,5х100 исполнение 3 | В наличии | |
| ОСТ 1 31037-78 | Болт | 16х1,5х102 исполнение 3 | В наличии | |
| ОСТ 1 31037-78 | Болт | 16х1,5х104 исполнение 3 | В наличии | |
| ОСТ 1 31037-78 | Болт | 16х1,5х106 исполнение 3 | В наличии | |
| ОСТ 1 31037-78 | Болт | 16х1,5х108 исполнение 3 | В наличии | |
| ОСТ 1 31037-78 | Болт | 16х1,5х110 исполнение 3 | В наличии | |
| ОСТ 1 31037-78 | Болт | 16х1,5х112 исполнение 3 | В наличии | |
| ОСТ 1 31037-78 | Болт | 16х1,5х114 исполнение 3 | В наличии | |
| ОСТ 1 31037-78 | Болт | 16х1,5х116 исполнение 3 | В наличии | |
| ОСТ 1 31037-78 | Болт | 18х1,5х52 исполнение 3 | В наличии | |
| ОСТ 1 31037-78 | Болт | 18х1,5х53 исполнение 3 | В наличии | |
| ОСТ 1 31037-78 | Болт | 18х1,5х54 исполнение 3 | В наличии | |
| ОСТ 1 31037-78 | Болт | 18х1,5х55 исполнение 3 | В наличии | |
| ОСТ 1 31037-78 | Болт | 18х1,5х56 исполнение 3 | В наличии | |
| ОСТ 1 31037-78 | Болт | 18х1,5х58 исполнение 3 | В наличии | |
| ОСТ 1 31037-78 | Болт | 18х1,5х60 исполнение 3 | В наличии | |
| ОСТ 1 31037-78 | Болт | 18х1,5х62 исполнение 3 | В наличии | |
| ОСТ 1 31037-78 | Болт | 18х1,5х64 исполнение 3 | В наличии | |
| ОСТ 1 31037-78 | Болт | 18х1,5х66 исполнение 3 | В наличии | |
| ОСТ 1 31037-78 | Болт | 18х1,5х68 исполнение 3 | В наличии | |
| ОСТ 1 31037-78 | Болт | 18х1,5х70 исполнение 3 | В наличии | |
| ОСТ 1 31037-78 | Болт | 18х1,5х72 исполнение 3 | В наличии | |
| ОСТ 1 31037-78 | Болт | 18х1,5х74 исполнение 3 | В наличии | |
| ОСТ 1 31037-78 | Болт | 18х1,5х76 исполнение 3 | В наличии | |
| ОСТ 1 31037-78 | Болт | 18х1,5х78 исполнение 3 | В наличии | |
| ОСТ 1 31037-78 | Болт | 18х1,5х80 исполнение 3 | В наличии | |
| ОСТ 1 31037-78 | Болт | 18х1,5х82 исполнение 3 | В наличии | |
| ОСТ 1 31037-78 | Болт | 18х1,5х84 исполнение 3 | В наличии | |
| ОСТ 1 31037-78 | Болт | 18х1,5х86 исполнение 3 | В наличии | |
| ОСТ 1 31037-78 | Болт | 18х1,5х88 исполнение 3 | В наличии | |
| ОСТ 1 31037-78 | Болт | 18х1,5х90 исполнение 3 | В наличии | |
| ОСТ 1 31037-78 | Болт | 18х1,5х92 исполнение 3 | В наличии | |
| ОСТ 1 31037-78 | Болт | 18х1,5х94 исполнение 3 | В наличии | |
| ОСТ 1 31037-78 | Болт | 18х1,5х96 исполнение 3 | В наличии | |
| ОСТ 1 31037-78 | Болт | 18х1,5х98 исполнение 3 | В наличии | |
| ОСТ 1 31037-78 | Болт | 18х1,5х100 исполнение 3 | В наличии | |
| ОСТ 1 31037-78 | Болт | 18х1,5х102 исполнение 3 | В наличии | |
| ОСТ 1 31037-78 | Болт | 18х1,5х104 исполнение 3 | В наличии | |
| ОСТ 1 31037-78 | Болт | 18х1,5х106 исполнение 3 | В наличии | |
| ОСТ 1 31037-78 | Болт | 18х1,5х108 исполнение 3 | В наличии | |
| ОСТ 1 31037-78 | Болт | 18х1,5х110 исполнение 3 | В наличии | |
| ОСТ 1 31037-78 | Болт | 18х1,5х112 исполнение 3 | В наличии | |
| ОСТ 1 31037-78 | Болт | 18х1,5х114 исполнение 3 | В наличии | |
| ОСТ 1 31037-78 | Болт | 18х1,5х116 исполнение 3 | В наличии | |
| ОСТ 1 31037-78 | Болт | 20х1,5х52 исполнение 3 | В наличии | |
| ОСТ 1 31037-78 | Болт | 20х1,5х53 исполнение 3 | В наличии | |
| ОСТ 1 31037-78 | Болт | 20х1,5х54 исполнение 3 | В наличии | |
| ОСТ 1 31037-78 | Болт | 20х1,5х55 исполнение 3 | В наличии | |
| ОСТ 1 31037-78 | Болт | 20х1,5х56 исполнение 3 | В наличии | |
| ОСТ 1 31037-78 | Болт | 20х1,5х57 исполнение 3 | В наличии | |
| ОСТ 1 31037-78 | Болт | 20х1,5х58 исполнение 3 | В наличии | |
| ОСТ 1 31037-78 | Болт | 20х1,5х60 исполнение 3 | В наличии | |
| ОСТ 1 31037-78 | Болт | 20х1,5х62 исполнение 3 | В наличии | |
| ОСТ 1 31037-78 | Болт | 20х1,5х64 исполнение 3 | В наличии | |
| ОСТ 1 31037-78 | Болт | 20х1,5х66 исполнение 3 | В наличии | |
| ОСТ 1 31037-78 | Болт | 20х1,5х68 исполнение 3 | В наличии | |
| ОСТ 1 31037-78 | Болт | 20х1,5х70 исполнение 3 | В наличии | |
| ОСТ 1 31037-78 | Болт | 20х1,5х72 исполнение 3 | В наличии | |
| ОСТ 1 31037-78 | Болт | 20х1,5х74 исполнение 3 | В наличии | |
| ОСТ 1 31037-78 | Болт | 20х1,5х76 исполнение 3 | В наличии | |
| ОСТ 1 31037-78 | Болт | 20х1,5х78 исполнение 3 | В наличии | |
| ОСТ 1 31037-78 | Болт | 20х1,5х80 исполнение 3 | В наличии | |
| ОСТ 1 31037-78 | Болт | 20х1,5х82 исполнение 3 | В наличии | |
| ОСТ 1 31037-78 | Болт | 20х1,5х84 исполнение 3 | В наличии | |
| ОСТ 1 31037-78 | Болт | 20х1,5х86 исполнение 3 | В наличии | |
| ОСТ 1 31037-78 | Болт | 20х1,5х88 исполнение 3 | В наличии | |
| ОСТ 1 31037-78 | Болт | 20х1,5х90 исполнение 3 | В наличии | |
| ОСТ 1 31037-78 | Болт | 20х1,5х92 исполнение 3 | В наличии | |
| ОСТ 1 31037-78 | Болт | 20х1,5х94 исполнение 3 | В наличии | |
| ОСТ 1 31037-78 | Болт | 20х1,5х96 исполнение 3 | В наличии | |
| ОСТ 1 31037-78 | Болт | 20х1,5х98 исполнение 3 | В наличии | |
| ОСТ 1 31037-78 | Болт | 20х1,5х100 исполнение 3 | В наличии | |
| ОСТ 1 31037-78 | Болт | 20х1,5х102 исполнение 3 | В наличии | |
| ОСТ 1 31037-78 | Болт | 20х1,5х104 исполнение 3 | В наличии | |
| ОСТ 1 31037-78 | Болт | 20х1,5х106 исполнение 3 | В наличии | |
| ОСТ 1 31037-78 | Болт | 20х1,5х108 исполнение 3 | В наличии | |
| ОСТ 1 31037-78 | Болт | 20х1,5х110 исполнение 3 | В наличии | |
| ОСТ 1 31037-78 | Болт | 20х1,5х112 исполнение 3 | В наличии | |
| ОСТ 1 31037-78 | Болт | 20х1,5х114 исполнение 3 | В наличии | |
| ОСТ 1 31037-78 | Болт | 20х1,5х116 исполнение 3 | В наличии | |
| ОСТ 1 31037-78 | Болт | 10х118 исполнение 3 | В наличии | |
| ОСТ 1 31037-78 | Болт | 10х120 исполнение 3 | В наличии | |
| ОСТ 1 31037-78 | Болт | 12х1,5х118 исполнение 3 | В наличии | |
| ОСТ 1 31037-78 | Болт | 12х1,5х120 исполнение 3 | В наличии | |
| ОСТ 1 31037-78 | Болт | 12х1,5х122 исполнение 3 | В наличии | |
| ОСТ 1 31037-78 | Болт | 12х1,5х124 исполнение 3 | В наличии | |
| ОСТ 1 31037-78 | Болт | 12х1,5х126 исполнение 3 | В наличии | |
| ОСТ 1 31037-78 | Болт | 12х1,5х128 исполнение 3 | В наличии | |
| ОСТ 1 31037-78 | Болт | 12х1,5х130 исполнение 3 | В наличии | |
| ОСТ 1 31037-78 | Болт | 12х1,5х132 исполнение 3 | В наличии | |
| ОСТ 1 31037-78 | Болт | 12х1,5х134 исполнение 3 | В наличии | |
| ОСТ 1 31037-78 | Болт | 12х1,5х136 исполнение 3 | В наличии | |
| ОСТ 1 31037-78 | Болт | 12х1,5х138 исполнение 3 | В наличии | |
| ОСТ 1 31037-78 | Болт | 12х1,5х140 исполнение 3 | В наличии | |
| ОСТ 1 31037-78 | Болт | 12х1,5х142 исполнение 3 | В наличии | |
| ОСТ 1 31037-78 | Болт | 12х1,5х144 исполнение 3 | В наличии | |
| ОСТ 1 31037-78 | Болт | 12х1,5х146 исполнение 3 | В наличии | |
| ОСТ 1 31037-78 | Болт | 12х1,5х148 исполнение 3 | В наличии | |
| ОСТ 1 31037-78 | Болт | 12х1,5х150 исполнение 3 | В наличии | |
| ОСТ 1 31037-78 | Болт | 14х1,5х118 исполнение 3 | В наличии | |
| ОСТ 1 31037-78 | Болт | 14х1,5х120 исполнение 3 | В наличии | |
| ОСТ 1 31037-78 | Болт | 14х1,5х122 исполнение 3 | В наличии | |
| ОСТ 1 31037-78 | Болт | 14х1,5х124 исполнение 3 | В наличии | |
| ОСТ 1 31037-78 | Болт | 14х1,5х126 исполнение 3 | В наличии | |
| ОСТ 1 31037-78 | Болт | 14х1,5х128 исполнение 3 | В наличии | |
| ОСТ 1 31037-78 | Болт | 14х1,5х130 исполнение 3 | В наличии | |
| ОСТ 1 31037-78 | Болт | 14х1,5х132 исполнение 3 | В наличии | |
| ОСТ 1 31037-78 | Болт | 14х1,5х134 исполнение 3 | В наличии | |
| ОСТ 1 31037-78 | Болт | 14х1,5х136 исполнение 3 | В наличии | |
| ОСТ 1 31037-78 | Болт | 14х1,5х138 исполнение 3 | В наличии | |
| ОСТ 1 31037-78 | Болт | 14х1,5х140 исполнение 3 | В наличии | |
| ОСТ 1 31037-78 | Болт | 14х1,5х142 исполнение 3 | В наличии | |
| ОСТ 1 31037-78 | Болт | 14х1,5х144 исполнение 3 | В наличии | |
| ОСТ 1 31037-78 | Болт | 14х1,5х146 исполнение 3 | В наличии | |
| ОСТ 1 31037-78 | Болт | 14х1,5х148 исполнение 3 | В наличии | |
| ОСТ 1 31037-78 | Болт | 14х1,5х150 исполнение 3 | В наличии | |
| ОСТ 1 31037-78 | Болт | 16х1,5х118 исполнение 3 | В наличии | |
| ОСТ 1 31037-78 | Болт | 16х1,5х120 исполнение 3 | В наличии | |
| ОСТ 1 31037-78 | Болт | 16х1,5х122 исполнение 3 | В наличии | |
| ОСТ 1 31037-78 | Болт | 16х1,5х124 исполнение 3 | В наличии | |
| ОСТ 1 31037-78 | Болт | 16х1,5х126 исполнение 3 | В наличии | |
| ОСТ 1 31037-78 | Болт | 16х1,5х128 исполнение 3 | В наличии | |
| ОСТ 1 31037-78 | Болт | 16х1,5х130 исполнение 3 | В наличии | |
| ОСТ 1 31037-78 | Болт | 16х1,5х132 исполнение 3 | В наличии | |
| ОСТ 1 31037-78 | Болт | 16х1,5х134 исполнение 3 | В наличии | |
| ОСТ 1 31037-78 | Болт | 16х1,5х136 исполнение 3 | В наличии | |
| ОСТ 1 31037-78 | Болт | 16х1,5х138 исполнение 3 | В наличии | |
| ОСТ 1 31037-78 | Болт | 16х1,5х140 исполнение 3 | В наличии | |
| ОСТ 1 31037-78 | Болт | 16х1,5х142 исполнение 3 | В наличии | |
| ОСТ 1 31037-78 | Болт | 16х1,5х144 исполнение 3 | В наличии | |
| ОСТ 1 31037-78 | Болт | 16х1,5х146 исполнение 3 | В наличии | |
| ОСТ 1 31037-78 | Болт | 16х1,5х148 исполнение 3 | В наличии | |
| ОСТ 1 31037-78 | Болт | 16х1,5х150 исполнение 3 | В наличии | |
| ОСТ 1 31037-78 | Болт | 18х1,5х118 исполнение 3 | В наличии | |
| ОСТ 1 31037-78 | Болт | 18х1,5х120 исполнение 3 | В наличии | |
| ОСТ 1 31037-78 | Болт | 18х1,5х122 исполнение 3 | В наличии | |
| ОСТ 1 31037-78 | Болт | 18х1,5х124 исполнение 3 | В наличии | |
| ОСТ 1 31037-78 | Болт | 18х1,5х126 исполнение 3 | В наличии | |
| ОСТ 1 31037-78 | Болт | 18х1,5х128 исполнение 3 | В наличии | |
| ОСТ 1 31037-78 | Болт | 18х1,5х130 исполнение 3 | В наличии | |
| ОСТ 1 31037-78 | Болт | 18х1,5х132 исполнение 3 | В наличии | |
| ОСТ 1 31037-78 | Болт | 18х1,5х134 исполнение 3 | В наличии | |
| ОСТ 1 31037-78 | Болт | 18х1,5х136 исполнение 3 | В наличии | |
| ОСТ 1 31037-78 | Болт | 18х1,5х138 исполнение 3 | В наличии | |
| ОСТ 1 31037-78 | Болт | 18х1,5х140 исполнение 3 | В наличии | |
| ОСТ 1 31037-78 | Болт | 18х1,5х142 исполнение 3 | В наличии | |
| ОСТ 1 31037-78 | Болт | 18х1,5х144 исполнение 3 | В наличии | |
| ОСТ 1 31037-78 | Болт | 18х1,5х146 исполнение 3 | В наличии | |
| ОСТ 1 31037-78 | Болт | 18х1,5х148 исполнение 3 | В наличии | |
| ОСТ 1 31037-78 | Болт | 18х1,5х150 исполнение 3 | В наличии | |
| ОСТ 1 31037-78 | Болт | 20х1,5х118 исполнение 3 | В наличии | |
| ОСТ 1 31037-78 | Болт | 20х1,5х120 исполнение 3 | В наличии | |
| ОСТ 1 31037-78 | Болт | 20х1,5х122 исполнение 3 | В наличии | |
| ОСТ 1 31037-78 | Болт | 20х1,5х124 исполнение 3 | В наличии | |
| ОСТ 1 31037-78 | Болт | 20х1,5х126 исполнение 3 | В наличии | |
| ОСТ 1 31037-78 | Болт | 20х1,5х128 исполнение 3 | В наличии | |
| ОСТ 1 31037-78 | Болт | 20х1,5х130 исполнение 3 | В наличии | |
| ОСТ 1 31037-78 | Болт | 20х1,5х132 исполнение 3 | В наличии | |
| ОСТ 1 31037-78 | Болт | 20х1,5х134 исполнение 3 | В наличии | |
| ОСТ 1 31037-78 | Болт | 20х1,5х136 исполнение 3 | В наличии | |
| ОСТ 1 31037-78 | Болт | 20х1,5х138 исполнение 3 | В наличии | |
| ОСТ 1 31037-78 | Болт | 20х1,5х140 исполнение 3 | В наличии | |
| ОСТ 1 31037-78 | Болт | 20х1,5х142 исполнение 3 | В наличии | |
| ОСТ 1 31037-78 | Болт | 20х1,5х144 исполнение 3 | В наличии | |
| ОСТ 1 31037-78 | Болт | 20х1,5х146 исполнение 3 | В наличии | |
| ОСТ 1 31037-78 | Болт | 20х1,5х148 исполнение 3 | В наличии | |
| ОСТ 1 31037-78 | Болт | 20х1,5х150 исполнение 3 | В наличии |
Для изготовителей и поставщиков: Добавить мои товары в базу
Для покупателей: Подать заявку на покупку
| Наименование | Типоразмер | Материал | Количество, шт | Вес, кг |
| Болт ОСТ 1 31037-78 |
ОСТ 1 30055-84 Накатка кольцевая стержней болт-заклепок из титанового сплава
ОСТ 1 31076-80 Маркировка крепежных изделий взамен НОРМАЛЬ 176АТ
ОСТ 1 31076-80: Маркировка крепежных изделий (взамен НОРМАЛЬ 176АТ)
ОСТ 1 39502-77 Стопорение болтов, винтов, шпилек, штифтов и гаек
ОСТ 1 39503-77 Длины болтов и винтов
ОСТ 1 39504-79 Головки шестигранные болтов и винтов
ОСТ 1 51730-79 Оснастка для формообразования концов труб тяг управления из сплава Д16Т
ОСТ 1 51731-79 Оснастка для формообразования концов труб тяг управления из сплава Д16Т
ОСТ 1.41001-79 Диаметры отверстий под нарезание резьбы метрической по нормали 754АТ
ОСТ 1.41002-79 Диаметры стержней под нарезание резьбы метрической по нормали 754АТ и ОСТ 1.00039-73
ОСТ 92-0762-72 Болты, винты из титановых сплавов
ОСТ 92-1130-85 Детали стальные точные
ОСТ 92-1179-77 Детали и сборочные единицы из сталей марок 07Х16Н6 и 08Х17Н5М3
ОСТ 92-8653-75 по ОСТ 92-8674-75 Соединения трубопроводов по внутреннему конусу
ОСТ-1-33102-80 Взамен нормали 102АТУ Гайки ОСТ-1-33102-80
Отраслевая нормаль 214АТ В замен нормали 214МТ55 метрическая резьбой со свободной посадкой
Отраслевая нормаль 714М55 pdf Кольца плоские ,стопорные технические условия
Отраслевая нормаль авиационной техники 101АТУ Взамен 201СТУ51
2026 «Быстрометиз». Мы не интернет-магазин. Информация о наличии и стоимости продукции не является публичной офертой.
Задайте вопрос нашим специалистам