ОСТ 1 11393-73 Проходники точеные

ОСТ 1 11393-73 проходники точеные

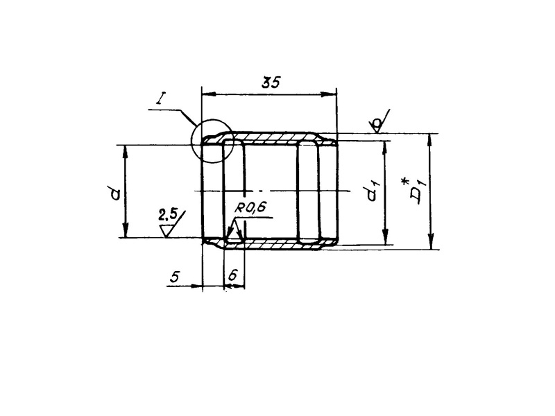
     Проходники точеные по ОСТ 1 11393-73 – это специальный крепеж, предназначенный для соединения трубопроводов гидрогазовых систем летательных аппаратов пайкой.

КОНСТРУКЦИЯ И ТЕХНИЧЕСКИЕ ОСОБЕННОСТИ

     Конструкция проходника состоит из трубчатого корпуса с отверстием.

     Материал изготовления: сталь 12Х18Н10Т.

     Материал покрытия: без покрытия.

ОСТ 1 11393-73.pdf

Пример наименования и обозначения точеного проходника к трубопроводу Dн=12мм из стали 12Х18Н10Т (Х18Н10Т):

Проходник точеный 12-ОСТ 1 11393-73

Проходник точеный
Наименование метиза
12
Диаметр трубопровода
ОСТ 1 11393-73
Нормативно-технический документ

ПРИМЕНЕНИЕ

     Данные проходники используются во многих отраслях промышленности.

АНАЛОГИ

ОСТ/ГОСТНормальНаименованиеТипоразмерНа складе
ОСТ 1 11393-73Проходник точеный12В наличии
ОСТ 1 11393-73Проходник точеный14В наличии
ОСТ 1 11393-73Проходник точеный16В наличии
ОСТ 1 11393-73Проходник точеный18В наличии
ОСТ 1 11393-73Проходник точеный20В наличии
ОСТ 1 11393-73Проходник точеный22В наличии
ОСТ 1 11393-73Проходник точеный25В наличии
ОСТ 1 11393-73Проходник точеный28В наличии
ОСТ 1 11393-73Проходник точеный30В наличии
ОСТ 1 11393-73Проходник точеный32В наличии
ОСТ 1 11393-73Проходник точеный34В наличии
ОСТ 1 11393-73Проходник точеный36В наличии
ОСТ 1 11393-73Проходник точеный38В наличии
ОСТ 1 11393-73Проходник точеный40В наличии
ОСТ 1 11393-73Проходник точеный42В наличии
ОСТ 1 11393-73Проходник точеный45В наличии
ОСТ 1 11393-73Проходник точеный48В наличии
ОСТ 1 11393-73Проходник точеный50В наличии

Для изготовителей и поставщиков: Добавить мои товары в базу

Для покупателей: Подать заявку на покупку

НаименованиеТипоразмерМатериалКоличество, штВес, кг
Проходник точеный ОСТ 1 11393-73
О

ОСТ 1 30055-84 Накатка кольцевая стержней болт-заклепок из титанового сплава

ОСТ 1 31076-80 Маркировка крепежных изделий взамен НОРМАЛЬ 176АТ

ОСТ 1 31076-80: Маркировка крепежных изделий (взамен НОРМАЛЬ 176АТ)

ОСТ 1 38016-80 Футорки

ОСТ 1 38020-82 Втулки

ОСТ 1 39502-77 Стопорение болтов, винтов, шпилек, штифтов и гаек

ОСТ 1 39503-77 Длины болтов и винтов

ОСТ 1 39504-79 Головки шестигранные болтов и винтов

ОСТ 1 41471-79 Формообразование концов труб тяг управления из сплава Д16Т. Типовой технологический процесс

ОСТ 1 51730-79 Оснастка для формообразования концов труб тяг управления из сплава Д16Т

ОСТ 1 51731-79 Оснастка для формообразования концов труб тяг управления из сплава Д16Т

ОСТ 1.41001-79 Диаметры отверстий под нарезание резьбы метрической по нормали 754АТ

ОСТ 1.41002-79 Диаметры стержней под нарезание резьбы метрической по нормали 754АТ и ОСТ 1.00039-73

ОСТ 92-0762-72 Болты, винты из титановых сплавов

ОСТ 92-0912-69 Детали из высокопрочных углеродистых легированных и высоколегированных сталей. ОСТ 92-0912-69

ОСТ 92-1179-77 Детали и сборочные единицы из сталей марок 07Х16Н6 и 08Х17Н5М3

ОСТ 92-8653-75 по ОСТ 92-8674-75 Соединения трубопроводов по внутреннему конусу

ОСТ-1-33102-80 Взамен нормали 102АТУ Гайки ОСТ-1-33102-80

Отраслевая нормаль 214АТ В замен нормали 214МТ55 метрическая резьбой со свободной посадкой

Отраслевая нормаль 714М55 pdf Кольца плоские ,стопорные технические условия

Отраслевая нормаль авиационной техники 101АТУ Взамен 201СТУ51

Отраслевая нормаль авиационной техники. Нормаль 722АТ.

Р

РЕЗЬБА МЕТРИЧЕСКАЯ

Резьба метрическая усиленная тугой посадкой сталь в алюминиевые и магниевые сплавы. Нормаль 254АТ взамен нормальный 154МТ46

Резьба метрическая. Основные размеры и допуски. Отраслевая нормаль 257АТ взамен 57АТ50 взамен 153МТ54.

РЕЗЬБА ТРАПЕЦЕИДАЛЬНАЯ

РЕЗЬБА ТРУБНАЯ ЦИЛИНДРИЧЕСКАЯ

РЕЗЬБА УПОРНАЯ

Резьба усиленная метрическая тугой посадкой сталь сталь система вала настоящая норма распространяется на резьбу усиленную метрическую тугой посадкой для сопрягаемых материалов сталь в сталь. Нормаль 122МТ53 взамен нормали 122МТ51

Резьба усиленная метрическая тугой посадкой сталь сталь система вала настоящая норма распространяется на резьбу усиленную метрическую тугой посадкой для сопрягаемых материалов сталь в сталь. Нормаль 122МТ53 взамен нормали 122МТ51

Резьбовые соединения. Резьба метрическая с натягом по посадкам 2Н5Д и 2Н5С Отраслевой стандарт ОСТ 1 04065–92

Оформите заказ или получите консультацию