ОСТ 1 10594-81 Втулки

ОСТ 1 10594-81 ВТУЛКИ

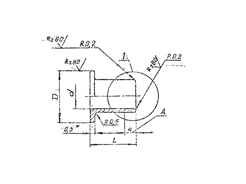
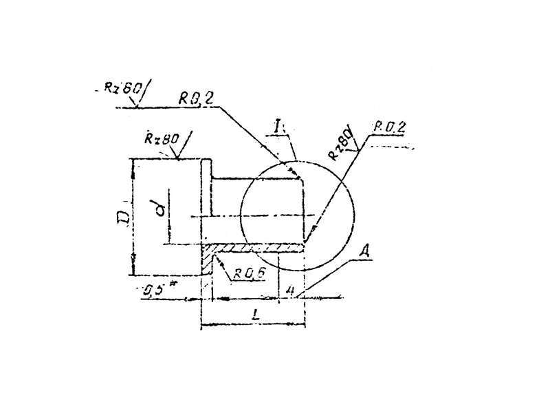
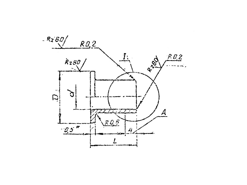
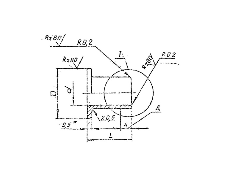
     Втулки по ОСТ 1 10594-81 – это деталь цилиндрической формы, имеющая осевое отверстие, в которое входит сопрягаемая деталь (часть).

КОНСТРУКЦИЯ И ТЕХНИЧЕСКИЕ ОСОБЕННОСТИ

     Конструкция состоит из цилиндра с отверстием.

     Материал изготовления: латунь Л63.

     Материал покрытия: Хим.Н9, допускается никелирование.

ОСТ 1 10594-81.pdf

Пример наименования и обозначения втулки типоразмера 7 с покрытием О-Н:

Втулка 7-66-ОСТ 1 10594-81

Втулка
Наименование метиза
7
Типоразмер
66
Материал покрытия
ОСТ 1 10594-81
Нормативно-технический документ

То же, с покрытием Хим.Н:

Втулка 7-60-ОСТ 1 10594-81

Втулка
Наименование метиза
7
Типоразмер
60
Материал покрытия
ОСТ 1 10594-81
Нормативно-технический документ

ПРИМЕНЕНИЕ

     Данные втулки применяются во многих отраслях промышленности.

АНАЛОГИ

ОСТ/ГОСТНормальНаименованиеТипоразмерНа складе
ОСТ 1 10594-81Втулка1В наличии
ОСТ 1 10594-81Втулка2В наличии
ОСТ 1 10594-81Втулка3В наличии
ОСТ 1 10594-81Втулка4В наличии
ОСТ 1 10594-81Втулка5В наличии
ОСТ 1 10594-81Втулка6В наличии
ОСТ 1 10594-81Втулка7В наличии
ОСТ 1 10594-81Втулка8В наличии
ОСТ 1 10594-81Втулка9В наличии
ОСТ 1 10594-81Втулка10В наличии
ОСТ 1 10594-81Втулка11В наличии
ОСТ 1 10594-81Втулка12В наличии
ОСТ 1 10594-81Втулка13В наличии
ОСТ 1 10594-81Втулка14В наличии
ОСТ 1 10594-81Втулка15В наличии
ОСТ 1 10594-81Втулка16В наличии
ОСТ 1 10594-81Втулка17В наличии
ОСТ 1 10594-81Втулка18В наличии
ОСТ 1 10594-81Втулка19В наличии
ОСТ 1 10594-81Втулка20В наличии
ОСТ 1 10594-81Втулка21В наличии
ОСТ 1 10594-81Втулка22В наличии
ОСТ 1 10594-81Втулка23В наличии
ОСТ 1 10594-81Втулка24В наличии
ОСТ 1 10594-81Втулка25В наличии
ОСТ 1 10594-81Втулка26В наличии
ОСТ 1 10594-81Втулка27В наличии
ОСТ 1 10594-81Втулка28В наличии
ОСТ 1 10594-81Втулка29В наличии
ОСТ 1 10594-81Втулка30В наличии
ОСТ 1 10594-81Втулка31В наличии
ОСТ 1 10594-81Втулка32В наличии
ОСТ 1 10594-81Втулка33В наличии
ОСТ 1 10594-81Втулка34В наличии
ОСТ 1 10594-81Втулка35В наличии
ОСТ 1 10594-81Втулка36В наличии
ОСТ 1 10594-81Втулка37В наличии
ОСТ 1 10594-81Втулка38В наличии
ОСТ 1 10594-81Втулка39В наличии
ОСТ 1 10594-81Втулка40В наличии
ОСТ 1 10594-81Втулка41В наличии
ОСТ 1 10594-81Втулка42В наличии
ОСТ 1 10594-81Втулка43В наличии
ОСТ 1 10594-81Втулка44В наличии
ОСТ 1 10594-81Втулка45В наличии
ОСТ 1 10594-81Втулка46В наличии
ОСТ 1 10594-81Втулка47В наличии
ОСТ 1 10594-81Втулка48В наличии
ОСТ 1 10594-81Втулка49В наличии
ОСТ 1 10594-81Втулка50В наличии
ОСТ 1 10594-81Втулка51В наличии
ОСТ 1 10594-81Втулка52В наличии
ОСТ 1 10594-81Втулка53В наличии
ОСТ 1 10594-81Втулка54В наличии
ОСТ 1 10594-81Втулка55В наличии
ОСТ 1 10594-81Втулка56В наличии
ОСТ 1 10594-81Втулка57В наличии
ОСТ 1 10594-81Втулка58В наличии
ОСТ 1 10594-81Втулка59В наличии
ОСТ 1 10594-81Втулка60В наличии
ОСТ 1 10594-81Втулка61В наличии
ОСТ 1 10594-81Втулка62В наличии
ОСТ 1 10594-81Втулка63В наличии
ОСТ 1 10594-81Втулка64В наличии
ОСТ 1 10594-81Втулка65В наличии
ОСТ 1 10594-81Втулка66В наличии
ОСТ 1 10594-81Втулка67В наличии
ОСТ 1 10594-81Втулка68В наличии
ОСТ 1 10594-81Втулка69В наличии
ОСТ 1 10594-81Втулка70В наличии
ОСТ 1 10594-81Втулка71В наличии
ОСТ 1 10594-81Втулка72В наличии
ОСТ 1 10594-81Втулка73В наличии
ОСТ 1 10594-81Втулка74В наличии
ОСТ 1 10594-81Втулка75В наличии
ОСТ 1 10594-81Втулка76В наличии
ОСТ 1 10594-81Втулка77В наличии
ОСТ 1 10594-81Втулка78В наличии
ОСТ 1 10594-81Втулка79В наличии
ОСТ 1 10594-81Втулка80В наличии
ОСТ 1 10594-81Втулка81В наличии
ОСТ 1 10594-81Втулка82В наличии
ОСТ 1 10594-81Втулка83В наличии
ОСТ 1 10594-81Втулка84В наличии
ОСТ 1 10594-81Втулка85В наличии
ОСТ 1 10594-81Втулка86В наличии
ОСТ 1 10594-81Втулка87В наличии
ОСТ 1 10594-81Втулка88В наличии
ОСТ 1 10594-81Втулка89В наличии

Для изготовителей и поставщиков: Добавить мои товары в базу

Для покупателей: Подать заявку на покупку

НаименованиеТипоразмерМатериалКоличество, штВес, кг
Втулка ОСТ 1 10594-81
О

ОСТ 1 30055-84 Накатка кольцевая стержней болт-заклепок из титанового сплава

ОСТ 1 31076-80 Маркировка крепежных изделий взамен НОРМАЛЬ 176АТ

ОСТ 1 31076-80: Маркировка крепежных изделий (взамен НОРМАЛЬ 176АТ)

ОСТ 1 38016-80 Футорки

ОСТ 1 38020-82 Втулки

ОСТ 1 39502-77 Стопорение болтов, винтов, шпилек, штифтов и гаек

ОСТ 1 39503-77 Длины болтов и винтов

ОСТ 1 39504-79 Головки шестигранные болтов и винтов

ОСТ 1 41471-79 Формообразование концов труб тяг управления из сплава Д16Т. Типовой технологический процесс

ОСТ 1 51730-79 Оснастка для формообразования концов труб тяг управления из сплава Д16Т

ОСТ 1 51731-79 Оснастка для формообразования концов труб тяг управления из сплава Д16Т

ОСТ 1.41001-79 Диаметры отверстий под нарезание резьбы метрической по нормали 754АТ

ОСТ 1.41002-79 Диаметры стержней под нарезание резьбы метрической по нормали 754АТ и ОСТ 1.00039-73

ОСТ 92-0762-72 Болты, винты из титановых сплавов

ОСТ 92-0912-69 Детали из высокопрочных углеродистых легированных и высоколегированных сталей. ОСТ 92-0912-69

ОСТ 92-1130-85 Детали стальные точные

ОСТ 92-1179-77 Детали и сборочные единицы из сталей марок 07Х16Н6 и 08Х17Н5М3

ОСТ 92-8653-75 по ОСТ 92-8674-75 Соединения трубопроводов по внутреннему конусу

ОСТ-1-33102-80 Взамен нормали 102АТУ Гайки ОСТ-1-33102-80

Отраслевая нормаль 214АТ В замен нормали 214МТ55 метрическая резьбой со свободной посадкой

Отраслевая нормаль 714М55 pdf Кольца плоские ,стопорные технические условия

Отраслевая нормаль авиационной техники 101АТУ Взамен 201СТУ51

Отраслевая нормаль авиационной техники. Нормаль 722АТ.

Р

РЕЗЬБА МЕТРИЧЕСКАЯ

Резьба метрическая усиленная тугой посадкой сталь в алюминиевые и магниевые сплавы. Нормаль 254АТ взамен нормальный 154МТ46

Резьба метрическая. Основные размеры и допуски. Отраслевая нормаль 257АТ взамен 57АТ50 взамен 153МТ54.

РЕЗЬБА ТРАПЕЦЕИДАЛЬНАЯ

РЕЗЬБА ТРУБНАЯ ЦИЛИНДРИЧЕСКАЯ

РЕЗЬБА УПОРНАЯ

Резьба усиленная метрическая тугой посадкой сталь сталь система вала настоящая норма распространяется на резьбу усиленную метрическую тугой посадкой для сопрягаемых материалов сталь в сталь. Нормаль 122МТ53 взамен нормали 122МТ51

Резьба усиленная метрическая тугой посадкой сталь сталь система вала настоящая норма распространяется на резьбу усиленную метрическую тугой посадкой для сопрягаемых материалов сталь в сталь. Нормаль 122МТ53 взамен нормали 122МТ51

Резьбовые соединения. Резьба метрическая с натягом по посадкам 2Н5Д и 2Н5С Отраслевой стандарт ОСТ 1 04065–92

Оформите заказ или получите консультацию