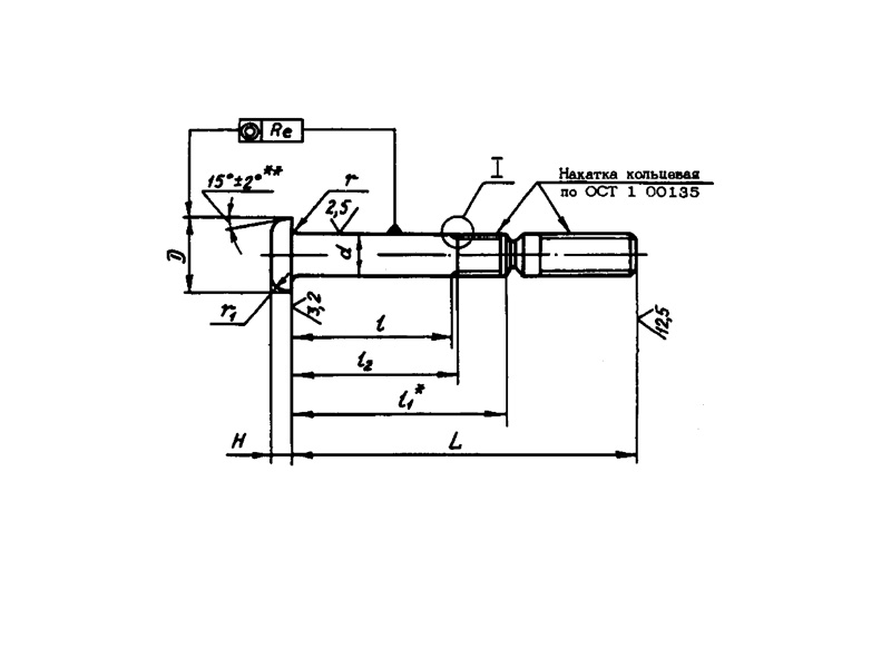
ОСТ 1 30050-89 СТЕРЖНИ БОЛТ-ЗАКЛЕПОК С ПЛОСКО-СКРУГЛЕННОЙ ГОЛОВКОЙ
Стержни болт-заклепок по ОСТ 1 30050-89 – это специальный крепеж, это особый крепеж, предназначенный для обжатия втулки заклепки.
КОНСТРУКЦИЯ И ТЕХНИЧЕСКИЕ ОСОБЕННОСТИ
Конструкция состоит из стержня и кольцевой накатки.
Материал изготовления: алюминиевый сплав Д16П.
Материал покрытия: Ан.Окс.нхр.
Пример наименования и обозначения стержня болт-заклепки с плоско-скругленной головкой, диаметром d=6 мм и длиной L=48 мм, из стали, кадмированного:
Стержень 6-48-Кд-ОСТ 1 30049-89
То же, из алюминиевого сплава, анодированного:
Стержень 6-48-Ан.Окс-ОСТ 1 30050-89
ПРИМЕНЕНИЕ
Данные стержни применяются во многих отраслях промышленности.
АНАЛОГИ
| ОСТ/ГОСТ | Нормаль | Наименование | Типоразмер | На складе |
| ОСТ 1 30050-89 | Стержень с хвостовиком | 3,5х27 | В наличии | |
| ОСТ 1 30050-89 | Стержень с хвостовиком | 3,5х28 | В наличии | |
| ОСТ 1 30050-89 | Стержень с хвостовиком | 3,5х29 | В наличии | |
| ОСТ 1 30050-89 | Стержень с хвостовиком | 3,5х30 | В наличии | |
| ОСТ 1 30050-89 | Стержень с хвостовиком | 3,5х31 | В наличии | |
| ОСТ 1 30050-89 | Стержень с хвостовиком | 3,5х32 | В наличии | |
| ОСТ 1 30050-89 | Стержень с хвостовиком | 3,5х33 | В наличии | |
| ОСТ 1 30050-89 | Стержень с хвостовиком | 3,5х34 | В наличии | |
| ОСТ 1 30050-89 | Стержень с хвостовиком | 3,5х35 | В наличии | |
| ОСТ 1 30050-89 | Стержень с хвостовиком | 3,5х36 | В наличии | |
| ОСТ 1 30050-89 | Стержень с хвостовиком | 3,5х37 | В наличии | |
| ОСТ 1 30050-89 | Стержень с хвостовиком | 3,5х38 | В наличии | |
| ОСТ 1 30050-89 | Стержень с хвостовиком | 3,5х39 | В наличии | |
| ОСТ 1 30050-89 | Стержень с хвостовиком | 3,5х40 | В наличии | |
| ОСТ 1 30050-89 | Стержень с хвостовиком | 3,5х41 | В наличии | |
| ОСТ 1 30050-89 | Стержень с хвостовиком | 3,5х42 | В наличии | |
| ОСТ 1 30050-89 | Стержень с хвостовиком | 3,5х43 | В наличии | |
| ОСТ 1 30050-89 | Стержень с хвостовиком | 3,5х44 | В наличии | |
| ОСТ 1 30050-89 | Стержень с хвостовиком | 3,5х45 | В наличии | |
| ОСТ 1 30050-89 | Стержень с хвостовиком | 4х28 | В наличии | |
| ОСТ 1 30050-89 | Стержень с хвостовиком | 4х29 | В наличии | |
| ОСТ 1 30050-89 | Стержень с хвостовиком | 4х30 | В наличии | |
| ОСТ 1 30050-89 | Стержень с хвостовиком | 4х31 | В наличии | |
| ОСТ 1 30050-89 | Стержень с хвостовиком | 4х32 | В наличии | |
| ОСТ 1 30050-89 | Стержень с хвостовиком | 4х33 | В наличии | |
| ОСТ 1 30050-89 | Стержень с хвостовиком | 4х34 | В наличии | |
| ОСТ 1 30050-89 | Стержень с хвостовиком | 4х35 | В наличии | |
| ОСТ 1 30050-89 | Стержень с хвостовиком | 4х36 | В наличии | |
| ОСТ 1 30050-89 | Стержень с хвостовиком | 4х37 | В наличии | |
| ОСТ 1 30050-89 | Стержень с хвостовиком | 4х38 | В наличии | |
| ОСТ 1 30050-89 | Стержень с хвостовиком | 4х39 | В наличии | |
| ОСТ 1 30050-89 | Стержень с хвостовиком | 4х40 | В наличии | |
| ОСТ 1 30050-89 | Стержень с хвостовиком | 4х41 | В наличии | |
| ОСТ 1 30050-89 | Стержень с хвостовиком | 4х42 | В наличии | |
| ОСТ 1 30050-89 | Стержень с хвостовиком | 4х43 | В наличии | |
| ОСТ 1 30050-89 | Стержень с хвостовиком | 4х44 | В наличии | |
| ОСТ 1 30050-89 | Стержень с хвостовиком | 4х45 | В наличии | |
| ОСТ 1 30050-89 | Стержень с хвостовиком | 4х46 | В наличии | |
| ОСТ 1 30050-89 | Стержень с хвостовиком | 4х47 | В наличии | |
| ОСТ 1 30050-89 | Стержень с хвостовиком | 4х48 | В наличии | |
| ОСТ 1 30050-89 | Стержень с хвостовиком | 4х49 | В наличии | |
| ОСТ 1 30050-89 | Стержень с хвостовиком | 4х50 | В наличии | |
| ОСТ 1 30050-89 | Стержень с хвостовиком | 5х33 | В наличии | |
| ОСТ 1 30050-89 | Стержень с хвостовиком | 5х34 | В наличии | |
| ОСТ 1 30050-89 | Стержень с хвостовиком | 5х35 | В наличии | |
| ОСТ 1 30050-89 | Стержень с хвостовиком | 5х36 | В наличии | |
| ОСТ 1 30050-89 | Стержень с хвостовиком | 5х37 | В наличии | |
| ОСТ 1 30050-89 | Стержень с хвостовиком | 5х38 | В наличии | |
| ОСТ 1 30050-89 | Стержень с хвостовиком | 5х39 | В наличии | |
| ОСТ 1 30050-89 | Стержень с хвостовиком | 5х40 | В наличии | |
| ОСТ 1 30050-89 | Стержень с хвостовиком | 5х41 | В наличии | |
| ОСТ 1 30050-89 | Стержень с хвостовиком | 5х42 | В наличии | |
| ОСТ 1 30050-89 | Стержень с хвостовиком | 5х43 | В наличии | |
| ОСТ 1 30050-89 | Стержень с хвостовиком | 5х44 | В наличии | |
| ОСТ 1 30050-89 | Стержень с хвостовиком | 5х45 | В наличии | |
| ОСТ 1 30050-89 | Стержень с хвостовиком | 5х46 | В наличии | |
| ОСТ 1 30050-89 | Стержень с хвостовиком | 5х47 | В наличии | |
| ОСТ 1 30050-89 | Стержень с хвостовиком | 5х48 | В наличии | |
| ОСТ 1 30050-89 | Стержень с хвостовиком | 5х49 | В наличии | |
| ОСТ 1 30050-89 | Стержень с хвостовиком | 5х50 | В наличии | |
| ОСТ 1 30050-89 | Стержень с хвостовиком | 5х51 | В наличии | |
| ОСТ 1 30050-89 | Стержень с хвостовиком | 5х52 | В наличии | |
| ОСТ 1 30050-89 | Стержень с хвостовиком | 5х53 | В наличии | |
| ОСТ 1 30050-89 | Стержень с хвостовиком | 5х54 | В наличии | |
| ОСТ 1 30050-89 | Стержень с хвостовиком | 5х55 | В наличии | |
| ОСТ 1 30050-89 | Стержень с хвостовиком | 5х56 | В наличии | |
| ОСТ 1 30050-89 | Стержень с хвостовиком | 5х57 | В наличии | |
| ОСТ 1 30050-89 | Стержень с хвостовиком | 5х58 | В наличии | |
| ОСТ 1 30050-89 | Стержень с хвостовиком | 5х59 | В наличии | |
| ОСТ 1 30050-89 | Стержень с хвостовиком | 5х60 | В наличии | |
| ОСТ 1 30050-89 | Стержень с хвостовиком | 6х34 | В наличии | |
| ОСТ 1 30050-89 | Стержень с хвостовиком | 6х35 | В наличии | |
| ОСТ 1 30050-89 | Стержень с хвостовиком | 6х36 | В наличии | |
| ОСТ 1 30050-89 | Стержень с хвостовиком | 6х37 | В наличии | |
| ОСТ 1 30050-89 | Стержень с хвостовиком | 6х38 | В наличии | |
| ОСТ 1 30050-89 | Стержень с хвостовиком | 6х39 | В наличии | |
| ОСТ 1 30050-89 | Стержень с хвостовиком | 6х40 | В наличии | |
| ОСТ 1 30050-89 | Стержень с хвостовиком | 6х41 | В наличии | |
| ОСТ 1 30050-89 | Стержень с хвостовиком | 6х42 | В наличии | |
| ОСТ 1 30050-89 | Стержень с хвостовиком | 6х43 | В наличии | |
| ОСТ 1 30050-89 | Стержень с хвостовиком | 6х44 | В наличии | |
| ОСТ 1 30050-89 | Стержень с хвостовиком | 6х45 | В наличии | |
| ОСТ 1 30050-89 | Стержень с хвостовиком | 6х46 | В наличии | |
| ОСТ 1 30050-89 | Стержень с хвостовиком | 6х47 | В наличии | |
| ОСТ 1 30050-89 | Стержень с хвостовиком | 6х48 | В наличии | |
| ОСТ 1 30050-89 | Стержень с хвостовиком | 6х49 | В наличии | |
| ОСТ 1 30050-89 | Стержень с хвостовиком | 6х50 | В наличии | |
| ОСТ 1 30050-89 | Стержень с хвостовиком | 6х51 | В наличии | |
| ОСТ 1 30050-89 | Стержень с хвостовиком | 6х52 | В наличии | |
| ОСТ 1 30050-89 | Стержень с хвостовиком | 6х53 | В наличии | |
| ОСТ 1 30050-89 | Стержень с хвостовиком | 6х54 | В наличии | |
| ОСТ 1 30050-89 | Стержень с хвостовиком | 6х55 | В наличии | |
| ОСТ 1 30050-89 | Стержень с хвостовиком | 6х56 | В наличии | |
| ОСТ 1 30050-89 | Стержень с хвостовиком | 6х57 | В наличии | |
| ОСТ 1 30050-89 | Стержень с хвостовиком | 6х58 | В наличии | |
| ОСТ 1 30050-89 | Стержень с хвостовиком | 6х59 | В наличии | |
| ОСТ 1 30050-89 | Стержень с хвостовиком | 6х60 | В наличии | |
| ОСТ 1 30050-89 | Стержень с хвостовиком | 7х39 | В наличии | |
| ОСТ 1 30050-89 | Стержень с хвостовиком | 7х40 | В наличии | |
| ОСТ 1 30050-89 | Стержень с хвостовиком | 7х41 | В наличии | |
| ОСТ 1 30050-89 | Стержень с хвостовиком | 7х42 | В наличии | |
| ОСТ 1 30050-89 | Стержень с хвостовиком | 7х43 | В наличии | |
| ОСТ 1 30050-89 | Стержень с хвостовиком | 7х44 | В наличии | |
| ОСТ 1 30050-89 | Стержень с хвостовиком | 7х45 | В наличии | |
| ОСТ 1 30050-89 | Стержень с хвостовиком | 7х46 | В наличии | |
| ОСТ 1 30050-89 | Стержень с хвостовиком | 7х47 | В наличии | |
| ОСТ 1 30050-89 | Стержень с хвостовиком | 7х48 | В наличии | |
| ОСТ 1 30050-89 | Стержень с хвостовиком | 7х49 | В наличии | |
| ОСТ 1 30050-89 | Стержень с хвостовиком | 7х50 | В наличии | |
| ОСТ 1 30050-89 | Стержень с хвостовиком | 7х51 | В наличии | |
| ОСТ 1 30050-89 | Стержень с хвостовиком | 7х52 | В наличии | |
| ОСТ 1 30050-89 | Стержень с хвостовиком | 7х53 | В наличии | |
| ОСТ 1 30050-89 | Стержень с хвостовиком | 7х54 | В наличии | |
| ОСТ 1 30050-89 | Стержень с хвостовиком | 7х55 | В наличии | |
| ОСТ 1 30050-89 | Стержень с хвостовиком | 7х56 | В наличии | |
| ОСТ 1 30050-89 | Стержень с хвостовиком | 7х57 | В наличии | |
| ОСТ 1 30050-89 | Стержень с хвостовиком | 7х58 | В наличии | |
| ОСТ 1 30050-89 | Стержень с хвостовиком | 7х59 | В наличии | |
| ОСТ 1 30050-89 | Стержень с хвостовиком | 7х60 | В наличии | |
| ОСТ 1 30050-89 | Стержень с хвостовиком | 7х61 | В наличии | |
| ОСТ 1 30050-89 | Стержень с хвостовиком | 7х62 | В наличии | |
| ОСТ 1 30050-89 | Стержень с хвостовиком | 7х63 | В наличии | |
| ОСТ 1 30050-89 | Стержень с хвостовиком | 7х64 | В наличии | |
| ОСТ 1 30050-89 | Стержень с хвостовиком | 7х65 | В наличии | |
| ОСТ 1 30050-89 | Стержень с хвостовиком | 7х66 | В наличии | |
| ОСТ 1 30050-89 | Стержень с хвостовиком | 7х67 | В наличии | |
| ОСТ 1 30050-89 | Стержень с хвостовиком | 7х68 | В наличии | |
| ОСТ 1 30050-89 | Стержень с хвостовиком | 7х69 | В наличии | |
| ОСТ 1 30050-89 | Стержень с хвостовиком | 7х70 | В наличии | |
| ОСТ 1 30050-89 | Стержень с хвостовиком | 8х45 | В наличии | |
| ОСТ 1 30050-89 | Стержень с хвостовиком | 8х46 | В наличии | |
| ОСТ 1 30050-89 | Стержень с хвостовиком | 8х47 | В наличии | |
| ОСТ 1 30050-89 | Стержень с хвостовиком | 8х48 | В наличии | |
| ОСТ 1 30050-89 | Стержень с хвостовиком | 8х49 | В наличии | |
| ОСТ 1 30050-89 | Стержень с хвостовиком | 8х50 | В наличии | |
| ОСТ 1 30050-89 | Стержень с хвостовиком | 8х51 | В наличии | |
| ОСТ 1 30050-89 | Стержень с хвостовиком | 8х52 | В наличии | |
| ОСТ 1 30050-89 | Стержень с хвостовиком | 8х53 | В наличии | |
| ОСТ 1 30050-89 | Стержень с хвостовиком | 8х54 | В наличии | |
| ОСТ 1 30050-89 | Стержень с хвостовиком | 8х55 | В наличии | |
| ОСТ 1 30050-89 | Стержень с хвостовиком | 8х56 | В наличии | |
| ОСТ 1 30050-89 | Стержень с хвостовиком | 8х57 | В наличии | |
| ОСТ 1 30050-89 | Стержень с хвостовиком | 8х58 | В наличии | |
| ОСТ 1 30050-89 | Стержень с хвостовиком | 8х59 | В наличии | |
| ОСТ 1 30050-89 | Стержень с хвостовиком | 8х60 | В наличии | |
| ОСТ 1 30050-89 | Стержень с хвостовиком | 8х61 | В наличии | |
| ОСТ 1 30050-89 | Стержень с хвостовиком | 8х62 | В наличии | |
| ОСТ 1 30050-89 | Стержень с хвостовиком | 8х63 | В наличии | |
| ОСТ 1 30050-89 | Стержень с хвостовиком | 8х64 | В наличии | |
| ОСТ 1 30050-89 | Стержень с хвостовиком | 8х65 | В наличии | |
| ОСТ 1 30050-89 | Стержень с хвостовиком | 8х66 | В наличии | |
| ОСТ 1 30050-89 | Стержень с хвостовиком | 8х67 | В наличии | |
| ОСТ 1 30050-89 | Стержень с хвостовиком | 8х68 | В наличии | |
| ОСТ 1 30050-89 | Стержень с хвостовиком | 8х69 | В наличии | |
| ОСТ 1 30050-89 | Стержень с хвостовиком | 8х70 | В наличии | |
| ОСТ 1 30050-89 | Стержень с хвостовиком | 8х71 | В наличии | |
| ОСТ 1 30050-89 | Стержень с хвостовиком | 8х72 | В наличии | |
| ОСТ 1 30050-89 | Стержень с хвостовиком | 8х73 | В наличии | |
| ОСТ 1 30050-89 | Стержень с хвостовиком | 8х74 | В наличии | |
| ОСТ 1 30050-89 | Стержень с хвостовиком | 8х75 | В наличии | |
| ОСТ 1 30050-89 | Стержень с хвостовиком | 8х76 | В наличии | |
| ОСТ 1 30050-89 | Стержень с хвостовиком | 8х77 | В наличии | |
| ОСТ 1 30050-89 | Стержень с хвостовиком | 8х78 | В наличии | |
| ОСТ 1 30050-89 | Стержень с хвостовиком | 8х79 | В наличии | |
| ОСТ 1 30050-89 | Стержень с хвостовиком | 8х80 | В наличии | |
| ОСТ 1 30050-89 | Стержень без хвостовика | 3,5х27 | В наличии | |
| ОСТ 1 30050-89 | Стержень без хвостовика | 3,5х28 | В наличии | |
| ОСТ 1 30050-89 | Стержень без хвостовика | 3,5х29 | В наличии | |
| ОСТ 1 30050-89 | Стержень без хвостовика | 3,5х30 | В наличии | |
| ОСТ 1 30050-89 | Стержень без хвостовика | 3,5х31 | В наличии | |
| ОСТ 1 30050-89 | Стержень без хвостовика | 3,5х32 | В наличии | |
| ОСТ 1 30050-89 | Стержень без хвостовика | 3,5х33 | В наличии | |
| ОСТ 1 30050-89 | Стержень без хвостовика | 3,5х34 | В наличии | |
| ОСТ 1 30050-89 | Стержень без хвостовика | 3,5х35 | В наличии | |
| ОСТ 1 30050-89 | Стержень без хвостовика | 3,5х36 | В наличии | |
| ОСТ 1 30050-89 | Стержень без хвостовика | 3,5х37 | В наличии | |
| ОСТ 1 30050-89 | Стержень без хвостовика | 3,5х38 | В наличии | |
| ОСТ 1 30050-89 | Стержень без хвостовика | 3,5х39 | В наличии | |
| ОСТ 1 30050-89 | Стержень без хвостовика | 3,5х40 | В наличии | |
| ОСТ 1 30050-89 | Стержень без хвостовика | 3,5х41 | В наличии | |
| ОСТ 1 30050-89 | Стержень без хвостовика | 3,5х42 | В наличии | |
| ОСТ 1 30050-89 | Стержень без хвостовика | 3,5х43 | В наличии | |
| ОСТ 1 30050-89 | Стержень без хвостовика | 3,5х44 | В наличии | |
| ОСТ 1 30050-89 | Стержень без хвостовика | 3,5х45 | В наличии | |
| ОСТ 1 30050-89 | Стержень без хвостовика | 4х28 | В наличии | |
| ОСТ 1 30050-89 | Стержень без хвостовика | 4х29 | В наличии | |
| ОСТ 1 30050-89 | Стержень без хвостовика | 4х30 | В наличии | |
| ОСТ 1 30050-89 | Стержень без хвостовика | 4х31 | В наличии | |
| ОСТ 1 30050-89 | Стержень без хвостовика | 4х32 | В наличии | |
| ОСТ 1 30050-89 | Стержень без хвостовика | 4х33 | В наличии | |
| ОСТ 1 30050-89 | Стержень без хвостовика | 4х34 | В наличии | |
| ОСТ 1 30050-89 | Стержень без хвостовика | 4х35 | В наличии | |
| ОСТ 1 30050-89 | Стержень без хвостовика | 4х36 | В наличии | |
| ОСТ 1 30050-89 | Стержень без хвостовика | 4х37 | В наличии | |
| ОСТ 1 30050-89 | Стержень без хвостовика | 4х38 | В наличии | |
| ОСТ 1 30050-89 | Стержень без хвостовика | 4х39 | В наличии | |
| ОСТ 1 30050-89 | Стержень без хвостовика | 4х40 | В наличии | |
| ОСТ 1 30050-89 | Стержень без хвостовика | 4х41 | В наличии | |
| ОСТ 1 30050-89 | Стержень без хвостовика | 4х42 | В наличии | |
| ОСТ 1 30050-89 | Стержень без хвостовика | 4х43 | В наличии | |
| ОСТ 1 30050-89 | Стержень без хвостовика | 4х44 | В наличии | |
| ОСТ 1 30050-89 | Стержень без хвостовика | 4х45 | В наличии | |
| ОСТ 1 30050-89 | Стержень без хвостовика | 4х46 | В наличии | |
| ОСТ 1 30050-89 | Стержень без хвостовика | 4х47 | В наличии | |
| ОСТ 1 30050-89 | Стержень без хвостовика | 4х48 | В наличии | |
| ОСТ 1 30050-89 | Стержень без хвостовика | 4х49 | В наличии | |
| ОСТ 1 30050-89 | Стержень без хвостовика | 4х50 | В наличии | |
| ОСТ 1 30050-89 | Стержень без хвостовика | 5х33 | В наличии | |
| ОСТ 1 30050-89 | Стержень без хвостовика | 5х34 | В наличии | |
| ОСТ 1 30050-89 | Стержень без хвостовика | 5х35 | В наличии | |
| ОСТ 1 30050-89 | Стержень без хвостовика | 5х36 | В наличии | |
| ОСТ 1 30050-89 | Стержень без хвостовика | 5х37 | В наличии | |
| ОСТ 1 30050-89 | Стержень без хвостовика | 5х38 | В наличии | |
| ОСТ 1 30050-89 | Стержень без хвостовика | 5х39 | В наличии | |
| ОСТ 1 30050-89 | Стержень без хвостовика | 5х40 | В наличии | |
| ОСТ 1 30050-89 | Стержень без хвостовика | 5х41 | В наличии | |
| ОСТ 1 30050-89 | Стержень без хвостовика | 5х42 | В наличии | |
| ОСТ 1 30050-89 | Стержень без хвостовика | 5х43 | В наличии | |
| ОСТ 1 30050-89 | Стержень без хвостовика | 5х44 | В наличии | |
| ОСТ 1 30050-89 | Стержень без хвостовика | 5х45 | В наличии | |
| ОСТ 1 30050-89 | Стержень без хвостовика | 5х46 | В наличии | |
| ОСТ 1 30050-89 | Стержень без хвостовика | 5х47 | В наличии | |
| ОСТ 1 30050-89 | Стержень без хвостовика | 5х48 | В наличии | |
| ОСТ 1 30050-89 | Стержень без хвостовика | 5х49 | В наличии | |
| ОСТ 1 30050-89 | Стержень без хвостовика | 5х50 | В наличии | |
| ОСТ 1 30050-89 | Стержень без хвостовика | 5х51 | В наличии | |
| ОСТ 1 30050-89 | Стержень без хвостовика | 5х52 | В наличии | |
| ОСТ 1 30050-89 | Стержень без хвостовика | 5х53 | В наличии | |
| ОСТ 1 30050-89 | Стержень без хвостовика | 5х54 | В наличии | |
| ОСТ 1 30050-89 | Стержень без хвостовика | 5х55 | В наличии | |
| ОСТ 1 30050-89 | Стержень без хвостовика | 5х56 | В наличии | |
| ОСТ 1 30050-89 | Стержень без хвостовика | 5х57 | В наличии | |
| ОСТ 1 30050-89 | Стержень без хвостовика | 5х58 | В наличии | |
| ОСТ 1 30050-89 | Стержень без хвостовика | 5х59 | В наличии | |
| ОСТ 1 30050-89 | Стержень без хвостовика | 5х60 | В наличии | |
| ОСТ 1 30050-89 | Стержень без хвостовика | 6х34 | В наличии | |
| ОСТ 1 30050-89 | Стержень без хвостовика | 6х35 | В наличии | |
| ОСТ 1 30050-89 | Стержень без хвостовика | 6х36 | В наличии | |
| ОСТ 1 30050-89 | Стержень без хвостовика | 6х37 | В наличии | |
| ОСТ 1 30050-89 | Стержень без хвостовика | 6х38 | В наличии | |
| ОСТ 1 30050-89 | Стержень без хвостовика | 6х39 | В наличии | |
| ОСТ 1 30050-89 | Стержень без хвостовика | 6х40 | В наличии | |
| ОСТ 1 30050-89 | Стержень без хвостовика | 6х41 | В наличии | |
| ОСТ 1 30050-89 | Стержень без хвостовика | 6х42 | В наличии | |
| ОСТ 1 30050-89 | Стержень без хвостовика | 6х43 | В наличии | |
| ОСТ 1 30050-89 | Стержень без хвостовика | 6х44 | В наличии | |
| ОСТ 1 30050-89 | Стержень без хвостовика | 6х45 | В наличии | |
| ОСТ 1 30050-89 | Стержень без хвостовика | 6х46 | В наличии | |
| ОСТ 1 30050-89 | Стержень без хвостовика | 6х47 | В наличии | |
| ОСТ 1 30050-89 | Стержень без хвостовика | 6х48 | В наличии | |
| ОСТ 1 30050-89 | Стержень без хвостовика | 6х49 | В наличии | |
| ОСТ 1 30050-89 | Стержень без хвостовика | 6х50 | В наличии | |
| ОСТ 1 30050-89 | Стержень без хвостовика | 6х51 | В наличии | |
| ОСТ 1 30050-89 | Стержень без хвостовика | 6х52 | В наличии | |
| ОСТ 1 30050-89 | Стержень без хвостовика | 6х53 | В наличии | |
| ОСТ 1 30050-89 | Стержень без хвостовика | 6х54 | В наличии | |
| ОСТ 1 30050-89 | Стержень без хвостовика | 6х55 | В наличии | |
| ОСТ 1 30050-89 | Стержень без хвостовика | 6х56 | В наличии | |
| ОСТ 1 30050-89 | Стержень без хвостовика | 6х57 | В наличии | |
| ОСТ 1 30050-89 | Стержень без хвостовика | 6х58 | В наличии | |
| ОСТ 1 30050-89 | Стержень без хвостовика | 6х59 | В наличии | |
| ОСТ 1 30050-89 | Стержень без хвостовика | 6х60 | В наличии | |
| ОСТ 1 30050-89 | Стержень без хвостовика | 7х39 | В наличии | |
| ОСТ 1 30050-89 | Стержень без хвостовика | 7х40 | В наличии | |
| ОСТ 1 30050-89 | Стержень без хвостовика | 7х41 | В наличии | |
| ОСТ 1 30050-89 | Стержень без хвостовика | 7х42 | В наличии | |
| ОСТ 1 30050-89 | Стержень без хвостовика | 7х43 | В наличии | |
| ОСТ 1 30050-89 | Стержень без хвостовика | 7х44 | В наличии | |
| ОСТ 1 30050-89 | Стержень без хвостовика | 7х45 | В наличии | |
| ОСТ 1 30050-89 | Стержень без хвостовика | 7х46 | В наличии | |
| ОСТ 1 30050-89 | Стержень без хвостовика | 7х47 | В наличии | |
| ОСТ 1 30050-89 | Стержень без хвостовика | 7х48 | В наличии | |
| ОСТ 1 30050-89 | Стержень без хвостовика | 7х49 | В наличии | |
| ОСТ 1 30050-89 | Стержень без хвостовика | 7х50 | В наличии | |
| ОСТ 1 30050-89 | Стержень без хвостовика | 7х51 | В наличии | |
| ОСТ 1 30050-89 | Стержень без хвостовика | 7х52 | В наличии | |
| ОСТ 1 30050-89 | Стержень без хвостовика | 7х53 | В наличии | |
| ОСТ 1 30050-89 | Стержень без хвостовика | 7х54 | В наличии | |
| ОСТ 1 30050-89 | Стержень без хвостовика | 7х55 | В наличии | |
| ОСТ 1 30050-89 | Стержень без хвостовика | 7х56 | В наличии | |
| ОСТ 1 30050-89 | Стержень без хвостовика | 7х57 | В наличии | |
| ОСТ 1 30050-89 | Стержень без хвостовика | 7х58 | В наличии | |
| ОСТ 1 30050-89 | Стержень без хвостовика | 7х59 | В наличии | |
| ОСТ 1 30050-89 | Стержень без хвостовика | 7х60 | В наличии | |
| ОСТ 1 30050-89 | Стержень без хвостовика | 7х61 | В наличии | |
| ОСТ 1 30050-89 | Стержень без хвостовика | 7х62 | В наличии | |
| ОСТ 1 30050-89 | Стержень без хвостовика | 7х63 | В наличии | |
| ОСТ 1 30050-89 | Стержень без хвостовика | 7х64 | В наличии | |
| ОСТ 1 30050-89 | Стержень без хвостовика | 7х65 | В наличии | |
| ОСТ 1 30050-89 | Стержень без хвостовика | 7х66 | В наличии | |
| ОСТ 1 30050-89 | Стержень без хвостовика | 7х67 | В наличии | |
| ОСТ 1 30050-89 | Стержень без хвостовика | 7х68 | В наличии | |
| ОСТ 1 30050-89 | Стержень без хвостовика | 7х69 | В наличии | |
| ОСТ 1 30050-89 | Стержень без хвостовика | 7х70 | В наличии | |
| ОСТ 1 30050-89 | Стержень без хвостовика | 8х45 | В наличии | |
| ОСТ 1 30050-89 | Стержень без хвостовика | 8х46 | В наличии | |
| ОСТ 1 30050-89 | Стержень без хвостовика | 8х47 | В наличии | |
| ОСТ 1 30050-89 | Стержень без хвостовика | 8х48 | В наличии | |
| ОСТ 1 30050-89 | Стержень без хвостовика | 8х49 | В наличии | |
| ОСТ 1 30050-89 | Стержень без хвостовика | 8х50 | В наличии | |
| ОСТ 1 30050-89 | Стержень без хвостовика | 8х51 | В наличии | |
| ОСТ 1 30050-89 | Стержень без хвостовика | 8х52 | В наличии | |
| ОСТ 1 30050-89 | Стержень без хвостовика | 8х53 | В наличии | |
| ОСТ 1 30050-89 | Стержень без хвостовика | 8х54 | В наличии | |
| ОСТ 1 30050-89 | Стержень без хвостовика | 8х55 | В наличии | |
| ОСТ 1 30050-89 | Стержень без хвостовика | 8х56 | В наличии | |
| ОСТ 1 30050-89 | Стержень без хвостовика | 8х57 | В наличии | |
| ОСТ 1 30050-89 | Стержень без хвостовика | 8х58 | В наличии | |
| ОСТ 1 30050-89 | Стержень без хвостовика | 8х59 | В наличии | |
| ОСТ 1 30050-89 | Стержень без хвостовика | 8х60 | В наличии | |
| ОСТ 1 30050-89 | Стержень без хвостовика | 8х61 | В наличии | |
| ОСТ 1 30050-89 | Стержень без хвостовика | 8х62 | В наличии | |
| ОСТ 1 30050-89 | Стержень без хвостовика | 8х63 | В наличии | |
| ОСТ 1 30050-89 | Стержень без хвостовика | 8х64 | В наличии | |
| ОСТ 1 30050-89 | Стержень без хвостовика | 8х65 | В наличии | |
| ОСТ 1 30050-89 | Стержень без хвостовика | 8х66 | В наличии | |
| ОСТ 1 30050-89 | Стержень без хвостовика | 8х67 | В наличии | |
| ОСТ 1 30050-89 | Стержень без хвостовика | 8х68 | В наличии | |
| ОСТ 1 30050-89 | Стержень без хвостовика | 8х69 | В наличии | |
| ОСТ 1 30050-89 | Стержень без хвостовика | 8х70 | В наличии | |
| ОСТ 1 30050-89 | Стержень без хвостовика | 8х71 | В наличии | |
| ОСТ 1 30050-89 | Стержень без хвостовика | 8х72 | В наличии | |
| ОСТ 1 30050-89 | Стержень без хвостовика | 8х73 | В наличии | |
| ОСТ 1 30050-89 | Стержень без хвостовика | 8х74 | В наличии | |
| ОСТ 1 30050-89 | Стержень без хвостовика | 8х75 | В наличии | |
| ОСТ 1 30050-89 | Стержень без хвостовика | 8х76 | В наличии | |
| ОСТ 1 30050-89 | Стержень без хвостовика | 8х77 | В наличии | |
| ОСТ 1 30050-89 | Стержень без хвостовика | 8х78 | В наличии | |
| ОСТ 1 30050-89 | Стержень без хвостовика | 8х79 | В наличии | |
| ОСТ 1 30050-89 | Стержень без хвостовика | 8х80 | В наличии |
Для изготовителей и поставщиков: Добавить мои товары в базу
Для покупателей: Подать заявку на покупку
| Наименование | Типоразмер | Материал | Количество, шт | Вес, кг |
| Стержень с хвостовиком ОСТ 1 30050-89 |
ОСТ 1 30055-84 Накатка кольцевая стержней болт-заклепок из титанового сплава
ОСТ 1 31076-80 Маркировка крепежных изделий взамен НОРМАЛЬ 176АТ
ОСТ 1 31076-80: Маркировка крепежных изделий (взамен НОРМАЛЬ 176АТ)
ОСТ 1 39502-77 Стопорение болтов, винтов, шпилек, штифтов и гаек
ОСТ 1 39503-77 Длины болтов и винтов
ОСТ 1 39504-79 Головки шестигранные болтов и винтов
ОСТ 1 51730-79 Оснастка для формообразования концов труб тяг управления из сплава Д16Т
ОСТ 1 51731-79 Оснастка для формообразования концов труб тяг управления из сплава Д16Т
ОСТ 1.41001-79 Диаметры отверстий под нарезание резьбы метрической по нормали 754АТ
ОСТ 1.41002-79 Диаметры стержней под нарезание резьбы метрической по нормали 754АТ и ОСТ 1.00039-73
ОСТ 92-0762-72 Болты, винты из титановых сплавов
ОСТ 92-1130-85 Детали стальные точные
ОСТ 92-1179-77 Детали и сборочные единицы из сталей марок 07Х16Н6 и 08Х17Н5М3
ОСТ 92-8653-75 по ОСТ 92-8674-75 Соединения трубопроводов по внутреннему конусу
ОСТ-1-33102-80 Взамен нормали 102АТУ Гайки ОСТ-1-33102-80
Отраслевая нормаль 214АТ В замен нормали 214МТ55 метрическая резьбой со свободной посадкой
Отраслевая нормаль 714М55 pdf Кольца плоские ,стопорные технические условия
Отраслевая нормаль авиационной техники 101АТУ Взамен 201СТУ51
2026 «Быстрометиз». Мы не интернет-магазин. Информация о наличии и стоимости продукции не является публичной офертой.
Задайте вопрос нашим специалистам