ОСТ 1 10034-71 Угольники ввертные переходные с углом наклона 135 градусов для высокотемпературных агрегатов

ОСТ 1 10034-71 УГОЛЬНИКИ ВВЕРТНЫЕ ПЕРЕХОДНЫЕ с углом наклона 135 градусов  ДЛЯ ВЫСОКОТЕМПЕРАТУРНЫХ АГРЕГАТОВ

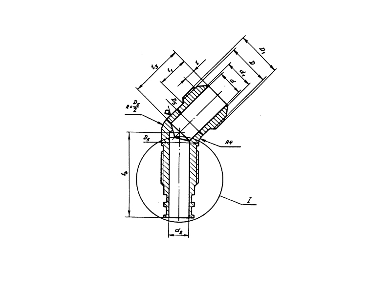
     Угольники ввертные переходные по ОСТ 1 10034-71 – это крепеж, предназначенный для высокотемпературных агрегатов, работающих при давлении до 28 Мпа, в диапазоне температур от минус 60 до плюс 200 градусов цельсия.

КОНСТРУКЦИЯ И ТЕХНИЧЕСКИЕ ОСОБЕННОСТИ

     Конструкция угольника ввертного переходного состоит из углового трубчатого корпуса.

     Материал изготовления: сталь 13Х11Н2В2МФ-Ш.

     Материал покрытия: Хим.Пас.

ОСТ 1 10034-71.pdf

Пример наименования и обозначения ввертного переходного угольника к трубопроводу Dн 18 мм с ввертной частью dу 12 мм:

Угольник переходной 18-12-ОСТ 1 10034-71

Угольник переходной
Наименование метиза
18
Наружный диаметр трубы
12
Условный диаметр трубопровода
ОСТ 1 10034-71
Нормативно-технический документ

ПРИМЕНЕНИЕ

     Данные угольники применяются во многих отраслях промышленности. Высокий спрос на изделие в машиностроении и в строительстве, где такие угольники используют для надежного крепления трубопроводов в различных системах.

АНАЛОГИ

ОСТ/ГОСТНормальНаименованиеТипоразмерНа складе
ОСТ 1 10034-71Угольник переходной6х6В наличии
ОСТ 1 10034-71Угольник переходной6х8В наличии
ОСТ 1 10034-71Угольник переходной6х10В наличии
ОСТ 1 10034-71Угольник переходной8х4В наличии
ОСТ 1 10034-71Угольник переходной8х8В наличии
ОСТ 1 10034-71Угольник переходной8х10В наличии
ОСТ 1 10034-71Угольник переходной8х12В наличии
ОСТ 1 10034-71Угольник переходной8х14В наличии
ОСТ 1 10034-71Угольник переходной10х4В наличии
ОСТ 1 10034-71Угольник переходной10х6В наличии
ОСТ 1 10034-71Угольник переходной10х10В наличии
ОСТ 1 10034-71Угольник переходной10х12В наличии
ОСТ 1 10034-71Угольник переходной10х14В наличии
ОСТ 1 10034-71Угольник переходной12х6В наличии
ОСТ 1 10034-71Угольник переходной12х8В наличии
ОСТ 1 10034-71Угольник переходной12х12В наличии
ОСТ 1 10034-71Угольник переходной12х14В наличии
ОСТ 1 10034-71Угольник переходной12х16В наличии
ОСТ 1 10034-71Угольник переходной14х8В наличии
ОСТ 1 10034-71Угольник переходной14х10В наличии
ОСТ 1 10034-71Угольник переходной14х14В наличии
ОСТ 1 10034-71Угольник переходной14х16В наличии
ОСТ 1 10034-71Угольник переходной16х8В наличии
ОСТ 1 10034-71Угольник переходной16х10В наличии
ОСТ 1 10034-71Угольник переходной16х12В наличии
ОСТ 1 10034-71Угольник переходной16х16В наличии
ОСТ 1 10034-71Угольник переходной18х10В наличии
ОСТ 1 10034-71Угольник переходной18х12В наличии
ОСТ 1 10034-71Угольник переходной18х14В наличии
ОСТ 1 10034-71Угольник переходной18х18В наличии
ОСТ 1 10034-71Угольник переходной18х20В наличии
ОСТ 1 10034-71Угольник переходной18х22В наличии
ОСТ 1 10034-71Угольник переходной22х14В наличии
ОСТ 1 10034-71Угольник переходной22х16В наличии
ОСТ 1 10034-71Угольник переходной22х18В наличии
ОСТ 1 10034-71Угольник переходной22х22В наличии
ОСТ 1 10034-71Угольник переходной22х25В наличии
ОСТ 1 10034-71Угольник переходной28х20В наличии
ОСТ 1 10034-71Угольник переходной28х22В наличии
ОСТ 1 10034-71Угольник переходной28х28В наличии
ОСТ 1 10034-71Угольник переходной28х30В наличии
ОСТ 1 10034-71Угольник переходной28х32В наличии
ОСТ 1 10034-71Угольник переходной36х25В наличии

Для изготовителей и поставщиков: Добавить мои товары в базу

Для покупателей: Подать заявку на покупку

НаименованиеТипоразмерМатериалКоличество, штВес, кг
Угольник переходной ОСТ 1 10034-71
О

ОСТ 1 30055-84 Накатка кольцевая стержней болт-заклепок из титанового сплава

ОСТ 1 31076-80 Маркировка крепежных изделий взамен НОРМАЛЬ 176АТ

ОСТ 1 31076-80: Маркировка крепежных изделий (взамен НОРМАЛЬ 176АТ)

ОСТ 1 38016-80 Футорки

ОСТ 1 38020-82 Втулки

ОСТ 1 39502-77 Стопорение болтов, винтов, шпилек, штифтов и гаек

ОСТ 1 39503-77 Длины болтов и винтов

ОСТ 1 39504-79 Головки шестигранные болтов и винтов

ОСТ 1 41471-79 Формообразование концов труб тяг управления из сплава Д16Т. Типовой технологический процесс

ОСТ 1 51730-79 Оснастка для формообразования концов труб тяг управления из сплава Д16Т

ОСТ 1 51731-79 Оснастка для формообразования концов труб тяг управления из сплава Д16Т

ОСТ 1.41001-79 Диаметры отверстий под нарезание резьбы метрической по нормали 754АТ

ОСТ 1.41002-79 Диаметры стержней под нарезание резьбы метрической по нормали 754АТ и ОСТ 1.00039-73

ОСТ 92-0762-72 Болты, винты из титановых сплавов

ОСТ 92-0912-69 Детали из высокопрочных углеродистых легированных и высоколегированных сталей. ОСТ 92-0912-69

ОСТ 92-1130-85 Детали стальные точные

ОСТ 92-1179-77 Детали и сборочные единицы из сталей марок 07Х16Н6 и 08Х17Н5М3

ОСТ 92-8653-75 по ОСТ 92-8674-75 Соединения трубопроводов по внутреннему конусу

ОСТ 92-8843-77 Крепежные детали повышенного качества

ОСТ-1-33102-80 Взамен нормали 102АТУ Гайки ОСТ-1-33102-80

Отраслевая нормаль 214АТ В замен нормали 214МТ55 метрическая резьбой со свободной посадкой

Отраслевая нормаль 714М55 pdf Кольца плоские ,стопорные технические условия

Отраслевая нормаль авиационной техники 101АТУ Взамен 201СТУ51

Отраслевая нормаль авиационной техники. Нормаль 722АТ.

Р

РЕЗЬБА МЕТРИЧЕСКАЯ

Резьба метрическая усиленная тугой посадкой сталь в алюминиевые и магниевые сплавы. Нормаль 254АТ взамен нормальный 154МТ46

Резьба метрическая. Основные размеры и допуски. Отраслевая нормаль 257АТ взамен 57АТ50 взамен 153МТ54.

РЕЗЬБА ТРАПЕЦЕИДАЛЬНАЯ

РЕЗЬБА ТРУБНАЯ ЦИЛИНДРИЧЕСКАЯ

РЕЗЬБА УПОРНАЯ

Резьба усиленная метрическая тугой посадкой сталь сталь система вала настоящая норма распространяется на резьбу усиленную метрическую тугой посадкой для сопрягаемых материалов сталь в сталь. Нормаль 122МТ53 взамен нормали 122МТ51

Резьба усиленная метрическая тугой посадкой сталь сталь система вала настоящая норма распространяется на резьбу усиленную метрическую тугой посадкой для сопрягаемых материалов сталь в сталь. Нормаль 122МТ53 взамен нормали 122МТ51

Резьбовые соединения. Резьба метрическая с натягом по посадкам 2Н5Д и 2Н5С Отраслевой стандарт ОСТ 1 04065–92

Оформите заказ или получите консультацию